CN101538383A - Lost-wax composition for precision casting and method for making pattern for precision casting - Google Patents
Lost-wax composition for precision casting and method for making pattern for precision casting Download PDFInfo
- Publication number
- CN101538383A CN101538383A CNA2009101347422A CN200910134742A CN101538383A CN 101538383 A CN101538383 A CN 101538383A CN A2009101347422 A CNA2009101347422 A CN A2009101347422A CN 200910134742 A CN200910134742 A CN 200910134742A CN 101538383 A CN101538383 A CN 101538383A
- Authority
- CN
- China
- Prior art keywords
- polyethylene
- carbonatoms
- dewax
- precision casting
- resin
- Prior art date
- Legal status (The legal status is an assumption and is not a legal conclusion. Google has not performed a legal analysis and makes no representation as to the accuracy of the status listed.)
- Pending
Links
- 239000000203 mixture Substances 0.000 title claims abstract description 61
- 238000005495 investment casting Methods 0.000 title claims abstract description 33
- 238000000034 method Methods 0.000 title claims abstract description 25
- -1 polyethylene Polymers 0.000 claims abstract description 143
- 125000004432 carbon atom Chemical group C* 0.000 claims abstract description 110
- 239000004698 Polyethylene Substances 0.000 claims abstract description 103
- 229920000573 polyethylene Polymers 0.000 claims abstract description 103
- VGGSQFUCUMXWEO-UHFFFAOYSA-N Ethene Chemical compound C=C VGGSQFUCUMXWEO-UHFFFAOYSA-N 0.000 claims abstract description 29
- 239000004711 α-olefin Substances 0.000 claims abstract description 22
- 229920001519 homopolymer Polymers 0.000 claims abstract description 3
- 125000003118 aryl group Chemical group 0.000 claims description 47
- 229920005989 resin Polymers 0.000 claims description 37
- 239000011347 resin Substances 0.000 claims description 37
- 238000005227 gel permeation chromatography Methods 0.000 claims description 17
- 239000003054 catalyst Substances 0.000 claims description 16
- 125000001931 aliphatic group Chemical group 0.000 claims description 13
- 239000005012 oleoresinous Substances 0.000 claims description 13
- 239000004575 stone Substances 0.000 claims description 13
- RSWGJHLUYNHPMX-UHFFFAOYSA-N Abietic-Saeure Natural products C12CCC(C(C)C)=CC2=CCC2C1(C)CCCC2(C)C(O)=O RSWGJHLUYNHPMX-UHFFFAOYSA-N 0.000 claims description 11
- KHPCPRHQVVSZAH-HUOMCSJISA-N Rosin Natural products O(C/C=C/c1ccccc1)[C@H]1[C@H](O)[C@@H](O)[C@@H](O)[C@@H](CO)O1 KHPCPRHQVVSZAH-HUOMCSJISA-N 0.000 claims description 11
- KHPCPRHQVVSZAH-UHFFFAOYSA-N trans-cinnamyl beta-D-glucopyranoside Natural products OC1C(O)C(O)C(CO)OC1OCC=CC1=CC=CC=C1 KHPCPRHQVVSZAH-UHFFFAOYSA-N 0.000 claims description 11
- 150000001336 alkenes Chemical class 0.000 claims description 9
- RRHGJUQNOFWUDK-UHFFFAOYSA-N Isoprene Chemical compound CC(=C)C=C RRHGJUQNOFWUDK-UHFFFAOYSA-N 0.000 claims description 8
- 125000002723 alicyclic group Chemical group 0.000 claims description 8
- NNBZCPXTIHJBJL-UHFFFAOYSA-N decalin Chemical compound C1CCCC2CCCCC21 NNBZCPXTIHJBJL-UHFFFAOYSA-N 0.000 claims description 8
- 239000002253 acid Substances 0.000 claims description 7
- 229910052500 inorganic mineral Inorganic materials 0.000 claims description 5
- 239000011707 mineral Substances 0.000 claims description 5
- 239000003208 petroleum Substances 0.000 claims description 5
- KPAPHODVWOVUJL-UHFFFAOYSA-N 1-benzofuran;1h-indene Chemical compound C1=CC=C2CC=CC2=C1.C1=CC=C2OC=CC2=C1 KPAPHODVWOVUJL-UHFFFAOYSA-N 0.000 claims description 4
- PPBRXRYQALVLMV-UHFFFAOYSA-N Styrene Chemical group C=CC1=CC=CC=C1 PPBRXRYQALVLMV-UHFFFAOYSA-N 0.000 claims description 4
- 150000007942 carboxylates Chemical class 0.000 claims description 4
- 239000005011 phenolic resin Substances 0.000 claims description 4
- 229920001568 phenolic resin Polymers 0.000 claims description 4
- 239000005977 Ethylene Substances 0.000 abstract description 7
- 229920001577 copolymer Polymers 0.000 abstract description 2
- 230000035515 penetration Effects 0.000 abstract 1
- 239000001993 wax Substances 0.000 description 108
- 150000001875 compounds Chemical class 0.000 description 67
- 125000000217 alkyl group Chemical group 0.000 description 66
- 125000005843 halogen group Chemical group 0.000 description 35
- 125000004435 hydrogen atom Chemical group [H]* 0.000 description 34
- CSCPPACGZOOCGX-UHFFFAOYSA-N Acetone Chemical compound CC(C)=O CSCPPACGZOOCGX-UHFFFAOYSA-N 0.000 description 28
- 238000006116 polymerization reaction Methods 0.000 description 23
- XUIMIQQOPSSXEZ-UHFFFAOYSA-N Silicon Chemical compound [Si] XUIMIQQOPSSXEZ-UHFFFAOYSA-N 0.000 description 21
- 239000003446 ligand Substances 0.000 description 21
- 229910052710 silicon Inorganic materials 0.000 description 21
- 239000010703 silicon Substances 0.000 description 21
- 229910052751 metal Inorganic materials 0.000 description 19
- 239000002184 metal Substances 0.000 description 19
- 125000003342 alkenyl group Chemical group 0.000 description 17
- 230000000052 comparative effect Effects 0.000 description 17
- 125000001188 haloalkyl group Chemical group 0.000 description 15
- VLKZOEOYAKHREP-UHFFFAOYSA-N n-Hexane Chemical compound CCCCCC VLKZOEOYAKHREP-UHFFFAOYSA-N 0.000 description 15
- 229910052799 carbon Inorganic materials 0.000 description 14
- 150000008040 ionic compounds Chemical class 0.000 description 14
- 150000003624 transition metals Chemical class 0.000 description 14
- 125000002496 methyl group Chemical group [H]C([H])([H])* 0.000 description 13
- NINIDFKCEFEMDL-UHFFFAOYSA-N Sulfur Chemical compound [S] NINIDFKCEFEMDL-UHFFFAOYSA-N 0.000 description 12
- QCWXUUIWCKQGHC-UHFFFAOYSA-N Zirconium Chemical compound [Zr] QCWXUUIWCKQGHC-UHFFFAOYSA-N 0.000 description 12
- 229910052726 zirconium Inorganic materials 0.000 description 12
- 229910052723 transition metal Inorganic materials 0.000 description 11
- 125000002877 alkyl aryl group Chemical group 0.000 description 10
- 125000001495 ethyl group Chemical group [H]C([H])([H])C([H])([H])* 0.000 description 10
- 238000002347 injection Methods 0.000 description 10
- 239000007924 injection Substances 0.000 description 10
- 238000004519 manufacturing process Methods 0.000 description 10
- 125000001570 methylene group Chemical group [H]C([H])([*:1])[*:2] 0.000 description 10
- 229910052717 sulfur Inorganic materials 0.000 description 10
- 239000011593 sulfur Substances 0.000 description 10
- 206010009866 Cold sweat Diseases 0.000 description 9
- RTAQQCXQSZGOHL-UHFFFAOYSA-N Titanium Chemical compound [Ti] RTAQQCXQSZGOHL-UHFFFAOYSA-N 0.000 description 9
- 238000005452 bending Methods 0.000 description 9
- 229910052735 hafnium Inorganic materials 0.000 description 9
- VBJZVLUMGGDVMO-UHFFFAOYSA-N hafnium atom Chemical compound [Hf] VBJZVLUMGGDVMO-UHFFFAOYSA-N 0.000 description 9
- 239000002002 slurry Substances 0.000 description 9
- 229910052719 titanium Inorganic materials 0.000 description 9
- 239000010936 titanium Substances 0.000 description 9
- UFHFLCQGNIYNRP-UHFFFAOYSA-N Hydrogen Chemical compound [H][H] UFHFLCQGNIYNRP-UHFFFAOYSA-N 0.000 description 8
- 125000003710 aryl alkyl group Chemical group 0.000 description 8
- 150000001721 carbon Chemical group 0.000 description 8
- 239000012943 hotmelt Substances 0.000 description 8
- 229910052739 hydrogen Inorganic materials 0.000 description 8
- 239000001257 hydrogen Substances 0.000 description 8
- QJGQUHMNIGDVPM-UHFFFAOYSA-N nitrogen group Chemical group [N] QJGQUHMNIGDVPM-UHFFFAOYSA-N 0.000 description 8
- 239000000126 substance Substances 0.000 description 8
- ZOXJGFHDIHLPTG-UHFFFAOYSA-N Boron Chemical compound [B] ZOXJGFHDIHLPTG-UHFFFAOYSA-N 0.000 description 7
- OAICVXFJPJFONN-UHFFFAOYSA-N Phosphorus Chemical compound [P] OAICVXFJPJFONN-UHFFFAOYSA-N 0.000 description 7
- 229910052796 boron Inorganic materials 0.000 description 7
- 238000000605 extraction Methods 0.000 description 7
- 239000000463 material Substances 0.000 description 7
- 229910052698 phosphorus Inorganic materials 0.000 description 7
- 239000011574 phosphorus Substances 0.000 description 7
- 125000001436 propyl group Chemical group [H]C([*])([H])C([H])([H])C([H])([H])[H] 0.000 description 7
- WSSSPWUEQFSQQG-UHFFFAOYSA-N 4-methyl-1-pentene Chemical compound CC(C)CC=C WSSSPWUEQFSQQG-UHFFFAOYSA-N 0.000 description 6
- IJGRMHOSHXDMSA-UHFFFAOYSA-N Atomic nitrogen Chemical compound N#N IJGRMHOSHXDMSA-UHFFFAOYSA-N 0.000 description 6
- 239000004215 Carbon black (E152) Substances 0.000 description 6
- 230000015572 biosynthetic process Effects 0.000 description 6
- 238000001035 drying Methods 0.000 description 6
- ZSWFCLXCOIISFI-UHFFFAOYSA-N endo-cyclopentadiene Natural products C1C=CC=C1 ZSWFCLXCOIISFI-UHFFFAOYSA-N 0.000 description 6
- 229930195733 hydrocarbon Natural products 0.000 description 6
- 125000000538 pentafluorophenyl group Chemical group FC1=C(F)C(F)=C(*)C(F)=C1F 0.000 description 6
- 238000007711 solidification Methods 0.000 description 6
- 230000008023 solidification Effects 0.000 description 6
- BTBUEUYNUDRHOZ-UHFFFAOYSA-N Borate Chemical compound [O-]B([O-])[O-] BTBUEUYNUDRHOZ-UHFFFAOYSA-N 0.000 description 5
- LFQSCWFLJHTTHZ-UHFFFAOYSA-N Ethanol Chemical compound CCO LFQSCWFLJHTTHZ-UHFFFAOYSA-N 0.000 description 5
- 208000037656 Respiratory Sounds Diseases 0.000 description 5
- VYPSYNLAJGMNEJ-UHFFFAOYSA-N Silicium dioxide Chemical compound O=[Si]=O VYPSYNLAJGMNEJ-UHFFFAOYSA-N 0.000 description 5
- ATJFFYVFTNAWJD-UHFFFAOYSA-N Tin Chemical compound [Sn] ATJFFYVFTNAWJD-UHFFFAOYSA-N 0.000 description 5
- 239000003795 chemical substances by application Substances 0.000 description 5
- 125000000058 cyclopentadienyl group Chemical group C1(=CC=CC1)* 0.000 description 5
- 230000008676 import Effects 0.000 description 5
- 238000005259 measurement Methods 0.000 description 5
- 230000008018 melting Effects 0.000 description 5
- 238000002844 melting Methods 0.000 description 5
- 150000002899 organoaluminium compounds Chemical class 0.000 description 5
- 239000012188 paraffin wax Substances 0.000 description 5
- 239000000843 powder Substances 0.000 description 5
- QQONPFPTGQHPMA-UHFFFAOYSA-N propylene Natural products CC=C QQONPFPTGQHPMA-UHFFFAOYSA-N 0.000 description 5
- 125000004805 propylene group Chemical group [H]C([H])([H])C([H])([*:1])C([H])([H])[*:2] 0.000 description 5
- 238000003786 synthesis reaction Methods 0.000 description 5
- 125000000383 tetramethylene group Chemical group [H]C([H])([*:1])C([H])([H])C([H])([H])C([H])([H])[*:2] 0.000 description 5
- LIKMAJRDDDTEIG-UHFFFAOYSA-N 1-hexene Chemical compound CCCCC=C LIKMAJRDDDTEIG-UHFFFAOYSA-N 0.000 description 4
- XAGFODPZIPBFFR-UHFFFAOYSA-N aluminium Chemical compound [Al] XAGFODPZIPBFFR-UHFFFAOYSA-N 0.000 description 4
- 229910052782 aluminium Inorganic materials 0.000 description 4
- HQABUPZFAYXKJW-UHFFFAOYSA-N butan-1-amine Chemical compound CCCCN HQABUPZFAYXKJW-UHFFFAOYSA-N 0.000 description 4
- 125000000484 butyl group Chemical group [H]C([*])([H])C([H])([H])C([H])([H])C([H])([H])[H] 0.000 description 4
- ZUOUZKKEUPVFJK-UHFFFAOYSA-N diphenyl Chemical compound C1=CC=CC=C1C1=CC=CC=C1 ZUOUZKKEUPVFJK-UHFFFAOYSA-N 0.000 description 4
- 238000009826 distribution Methods 0.000 description 4
- GNPVGFCGXDBREM-UHFFFAOYSA-N germanium atom Chemical compound [Ge] GNPVGFCGXDBREM-UHFFFAOYSA-N 0.000 description 4
- 238000010438 heat treatment Methods 0.000 description 4
- 238000000465 moulding Methods 0.000 description 4
- 125000004123 n-propyl group Chemical group [H]C([H])([H])C([H])([H])C([H])([H])* 0.000 description 4
- 239000003921 oil Substances 0.000 description 4
- 229910052760 oxygen Inorganic materials 0.000 description 4
- 239000001301 oxygen Substances 0.000 description 4
- 238000012856 packing Methods 0.000 description 4
- 239000002245 particle Substances 0.000 description 4
- XPPWLXNXHSNMKC-UHFFFAOYSA-N phenylboron Chemical compound [B]C1=CC=CC=C1 XPPWLXNXHSNMKC-UHFFFAOYSA-N 0.000 description 4
- XIPFMBOWZXULIA-UHFFFAOYSA-N pivalamide Chemical compound CC(C)(C)C(N)=O XIPFMBOWZXULIA-UHFFFAOYSA-N 0.000 description 4
- 229920000642 polymer Polymers 0.000 description 4
- 230000008569 process Effects 0.000 description 4
- 239000002904 solvent Substances 0.000 description 4
- 238000012360 testing method Methods 0.000 description 4
- VPGLGRNSAYHXPY-UHFFFAOYSA-L zirconium(2+);dichloride Chemical compound Cl[Zr]Cl VPGLGRNSAYHXPY-UHFFFAOYSA-L 0.000 description 4
- UHOVQNZJYSORNB-UHFFFAOYSA-N Benzene Chemical compound C1=CC=CC=C1 UHOVQNZJYSORNB-UHFFFAOYSA-N 0.000 description 3
- 239000002841 Lewis acid Substances 0.000 description 3
- 125000003545 alkoxy group Chemical group 0.000 description 3
- 125000001118 alkylidene group Chemical group 0.000 description 3
- 239000004411 aluminium Substances 0.000 description 3
- 229910000085 borane Inorganic materials 0.000 description 3
- 230000008859 change Effects 0.000 description 3
- 230000006378 damage Effects 0.000 description 3
- 125000000118 dimethyl group Chemical group [H]C([H])([H])* 0.000 description 3
- 125000003983 fluorenyl group Chemical group C1(=CC=CC=2C3=CC=CC=C3CC12)* 0.000 description 3
- 229910052732 germanium Inorganic materials 0.000 description 3
- 150000007517 lewis acids Chemical class 0.000 description 3
- 150000002736 metal compounds Chemical class 0.000 description 3
- 229910052757 nitrogen Inorganic materials 0.000 description 3
- OLFPYUPGPBITMH-UHFFFAOYSA-N tritylium Chemical compound C1=CC=CC=C1[C+](C=1C=CC=CC=1)C1=CC=CC=C1 OLFPYUPGPBITMH-UHFFFAOYSA-N 0.000 description 3
- 229920006163 vinyl copolymer Polymers 0.000 description 3
- 229910052845 zircon Inorganic materials 0.000 description 3
- GFQYVLUOOAAOGM-UHFFFAOYSA-N zirconium(iv) silicate Chemical compound [Zr+4].[O-][Si]([O-])([O-])[O-] GFQYVLUOOAAOGM-UHFFFAOYSA-N 0.000 description 3
- NAWXUBYGYWOOIX-SFHVURJKSA-N (2s)-2-[[4-[2-(2,4-diaminoquinazolin-6-yl)ethyl]benzoyl]amino]-4-methylidenepentanedioic acid Chemical compound C1=CC2=NC(N)=NC(N)=C2C=C1CCC1=CC=C(C(=O)N[C@@H](CC(=C)C(O)=O)C(O)=O)C=C1 NAWXUBYGYWOOIX-SFHVURJKSA-N 0.000 description 2
- PNEYBMLMFCGWSK-UHFFFAOYSA-N Alumina Chemical compound [O-2].[O-2].[O-2].[Al+3].[Al+3] PNEYBMLMFCGWSK-UHFFFAOYSA-N 0.000 description 2
- QGZKDVFQNNGYKY-UHFFFAOYSA-O Ammonium Chemical compound [NH4+] QGZKDVFQNNGYKY-UHFFFAOYSA-O 0.000 description 2
- KAKZBPTYRLMSJV-UHFFFAOYSA-N Butadiene Chemical compound C=CC=C KAKZBPTYRLMSJV-UHFFFAOYSA-N 0.000 description 2
- 229920000089 Cyclic olefin copolymer Polymers 0.000 description 2
- UFWIBTONFRDIAS-UHFFFAOYSA-N Naphthalene Chemical compound C1=CC=CC2=CC=CC=C21 UFWIBTONFRDIAS-UHFFFAOYSA-N 0.000 description 2
- 239000004793 Polystyrene Substances 0.000 description 2
- BLRPTPMANUNPDV-UHFFFAOYSA-N Silane Chemical group [SiH4] BLRPTPMANUNPDV-UHFFFAOYSA-N 0.000 description 2
- 239000005864 Sulphur Substances 0.000 description 2
- KKEYFWRCBNTPAC-UHFFFAOYSA-N Terephthalic acid Chemical compound OC(=O)C1=CC=C(C(O)=O)C=C1 KKEYFWRCBNTPAC-UHFFFAOYSA-N 0.000 description 2
- UCIKZESDXASJNG-UHFFFAOYSA-L [Cl-].[Cl-].C1=CC=C2C([Zr+2])C=CC2=C1 Chemical compound [Cl-].[Cl-].C1=CC=C2C([Zr+2])C=CC2=C1 UCIKZESDXASJNG-UHFFFAOYSA-L 0.000 description 2
- 239000000654 additive Substances 0.000 description 2
- 150000003863 ammonium salts Chemical class 0.000 description 2
- 125000000129 anionic group Chemical group 0.000 description 2
- 125000004104 aryloxy group Chemical group 0.000 description 2
- 125000004429 atom Chemical group 0.000 description 2
- QVGXLLKOCUKJST-UHFFFAOYSA-N atomic oxygen Chemical compound [O] QVGXLLKOCUKJST-UHFFFAOYSA-N 0.000 description 2
- 235000010290 biphenyl Nutrition 0.000 description 2
- WTEOIRVLGSZEPR-UHFFFAOYSA-N boron trifluoride Chemical compound FB(F)F WTEOIRVLGSZEPR-UHFFFAOYSA-N 0.000 description 2
- 150000001642 boronic acid derivatives Chemical class 0.000 description 2
- 238000005266 casting Methods 0.000 description 2
- 229910052801 chlorine Inorganic materials 0.000 description 2
- 125000001309 chloro group Chemical group Cl* 0.000 description 2
- 125000005131 dialkylammonium group Chemical group 0.000 description 2
- KZHJGOXRZJKJNY-UHFFFAOYSA-N dioxosilane;oxo(oxoalumanyloxy)alumane Chemical compound O=[Si]=O.O=[Si]=O.O=[Al]O[Al]=O.O=[Al]O[Al]=O.O=[Al]O[Al]=O KZHJGOXRZJKJNY-UHFFFAOYSA-N 0.000 description 2
- 238000001704 evaporation Methods 0.000 description 2
- 230000008020 evaporation Effects 0.000 description 2
- 235000013312 flour Nutrition 0.000 description 2
- 125000001153 fluoro group Chemical group F* 0.000 description 2
- 238000010528 free radical solution polymerization reaction Methods 0.000 description 2
- 239000007791 liquid phase Substances 0.000 description 2
- 239000000155 melt Substances 0.000 description 2
- 238000002156 mixing Methods 0.000 description 2
- 125000002950 monocyclic group Chemical group 0.000 description 2
- 229910052863 mullite Inorganic materials 0.000 description 2
- 150000002894 organic compounds Chemical class 0.000 description 2
- 239000012071 phase Substances 0.000 description 2
- 125000001997 phenyl group Chemical group [H]C1=C([H])C([H])=C(*)C([H])=C1[H] 0.000 description 2
- 229920002223 polystyrene Polymers 0.000 description 2
- 238000012545 processing Methods 0.000 description 2
- 239000011819 refractory material Substances 0.000 description 2
- 239000004576 sand Substances 0.000 description 2
- ZCBSOTLLNBJIEK-UHFFFAOYSA-N silane titanium Chemical compound [SiH4].[Ti] ZCBSOTLLNBJIEK-UHFFFAOYSA-N 0.000 description 2
- 238000006884 silylation reaction Methods 0.000 description 2
- 229910001220 stainless steel Inorganic materials 0.000 description 2
- 239000010935 stainless steel Substances 0.000 description 2
- 229910052718 tin Inorganic materials 0.000 description 2
- ZWYDDDAMNQQZHD-UHFFFAOYSA-L titanium(ii) chloride Chemical compound [Cl-].[Cl-].[Ti+2] ZWYDDDAMNQQZHD-UHFFFAOYSA-L 0.000 description 2
- 125000002023 trifluoromethyl group Chemical group FC(F)(F)* 0.000 description 2
- UORVGPXVDQYIDP-UHFFFAOYSA-N trihydridoboron Substances B UORVGPXVDQYIDP-UHFFFAOYSA-N 0.000 description 2
- MCULRUJILOGHCJ-UHFFFAOYSA-N triisobutylaluminium Chemical compound CC(C)C[Al](CC(C)C)CC(C)C MCULRUJILOGHCJ-UHFFFAOYSA-N 0.000 description 2
- APPOKADJQUIAHP-GGWOSOGESA-N (2e,4e)-hexa-2,4-diene Chemical compound C\C=C\C=C\C APPOKADJQUIAHP-GGWOSOGESA-N 0.000 description 1
- YGGMQWSJXSNGDT-UHFFFAOYSA-N (4-fluorophenyl)boron Chemical compound [B]C1=CC=C(F)C=C1 YGGMQWSJXSNGDT-UHFFFAOYSA-N 0.000 description 1
- YBYIRNPNPLQARY-UHFFFAOYSA-N 1H-indene Natural products C1=CC=C2CC=CC2=C1 YBYIRNPNPLQARY-UHFFFAOYSA-N 0.000 description 1
- AFPHTEQTJZKQAQ-UHFFFAOYSA-N 3-nitrobenzoic acid Chemical compound OC(=O)C1=CC=CC([N+]([O-])=O)=C1 AFPHTEQTJZKQAQ-UHFFFAOYSA-N 0.000 description 1
- WNFNPZDRWHGMMV-UHFFFAOYSA-N 5-phenyl-6-propan-2-ylidenecyclohexa-1,3-diene Chemical compound CC(C)=C1C=CC=CC1C1=CC=CC=C1 WNFNPZDRWHGMMV-UHFFFAOYSA-N 0.000 description 1
- PAYRUJLWNCNPSJ-UHFFFAOYSA-N Aniline Chemical class NC1=CC=CC=C1 PAYRUJLWNCNPSJ-UHFFFAOYSA-N 0.000 description 1
- 229910015900 BF3 Inorganic materials 0.000 description 1
- 229930185605 Bisphenol Natural products 0.000 description 1
- XFBYPTDICTYNBZ-UHFFFAOYSA-L CC1=C[C@@](C)([Zr](Cl)Cl)C=C1 Chemical compound CC1=C[C@@](C)([Zr](Cl)Cl)C=C1 XFBYPTDICTYNBZ-UHFFFAOYSA-L 0.000 description 1
- BYMXSHDQPNKPQG-UHFFFAOYSA-N CCCCC1=CC(C)([Zr])C=C1 Chemical compound CCCCC1=CC(C)([Zr])C=C1 BYMXSHDQPNKPQG-UHFFFAOYSA-N 0.000 description 1
- OKTJSMMVPCPJKN-UHFFFAOYSA-N Carbon Chemical compound [C] OKTJSMMVPCPJKN-UHFFFAOYSA-N 0.000 description 1
- XJONFIGVOQMBIP-UHFFFAOYSA-L Cl[Zr](Cl)C1C=CC=C1 Chemical compound Cl[Zr](Cl)C1C=CC=C1 XJONFIGVOQMBIP-UHFFFAOYSA-L 0.000 description 1
- UCJAWDIXLDQKMH-UHFFFAOYSA-L Cl[Zr]Cl.CC1=CC2=C(C=CC=C2[CH]1)C1=CC=CC2=CC3=CC=CC=C3C=C12 Chemical compound Cl[Zr]Cl.CC1=CC2=C(C=CC=C2[CH]1)C1=CC=CC2=CC3=CC=CC=C3C=C12 UCJAWDIXLDQKMH-UHFFFAOYSA-L 0.000 description 1
- DZETZMSAJDMAKS-UHFFFAOYSA-L Cl[Zr]Cl.[CH]1C(C)=CC2=C1C=CC=C2C1=CC=CC=C1 Chemical compound Cl[Zr]Cl.[CH]1C(C)=CC2=C1C=CC=C2C1=CC=CC=C1 DZETZMSAJDMAKS-UHFFFAOYSA-L 0.000 description 1
- 206010013786 Dry skin Diseases 0.000 description 1
- CMEWLCATCRTSGF-UHFFFAOYSA-N N,N-dimethyl-4-nitrosoaniline Chemical compound CN(C)C1=CC=C(N=O)C=C1 CMEWLCATCRTSGF-UHFFFAOYSA-N 0.000 description 1
- 229920002472 Starch Polymers 0.000 description 1
- 229910021536 Zeolite Inorganic materials 0.000 description 1
- BCRJHHFLBOQAMG-YNRRLODASA-N [(1e,3e)-penta-1,3-dienyl]benzene Chemical compound C\C=C\C=C\C1=CC=CC=C1 BCRJHHFLBOQAMG-YNRRLODASA-N 0.000 description 1
- CJRRMNIPQRSZTN-UHFFFAOYSA-N [B]C1=CC=C(C=C1)CNF Chemical compound [B]C1=CC=C(C=C1)CNF CJRRMNIPQRSZTN-UHFFFAOYSA-N 0.000 description 1
- AHSOXAGSIAQQOB-UHFFFAOYSA-L [Cl-].[Cl-].C(C)(C)=[Zr+2]C1=C(C=CC=2C3=CC=CC=C3CC1=2)C1C=CC=C1 Chemical compound [Cl-].[Cl-].C(C)(C)=[Zr+2]C1=C(C=CC=2C3=CC=CC=C3CC1=2)C1C=CC=C1 AHSOXAGSIAQQOB-UHFFFAOYSA-L 0.000 description 1
- FIKDKWMGFNSEMI-UHFFFAOYSA-L [Cl-].[Cl-].C1=CC=C2C(C3=CC=CC4=C3C=C(C4[Zr+2])C)=CC=CC2=C1 Chemical compound [Cl-].[Cl-].C1=CC=C2C(C3=CC=CC4=C3C=C(C4[Zr+2])C)=CC=CC2=C1 FIKDKWMGFNSEMI-UHFFFAOYSA-L 0.000 description 1
- WUROVLNVDRGCEC-UHFFFAOYSA-L [Cl-].[Cl-].C1=CC=CC2=CC(C3=CC=CC4=C3C=C(C4[Zr+2])C)=CC=C21 Chemical compound [Cl-].[Cl-].C1=CC=CC2=CC(C3=CC=CC4=C3C=C(C4[Zr+2])C)=CC=C21 WUROVLNVDRGCEC-UHFFFAOYSA-L 0.000 description 1
- VCOKPLHNHKEXIO-UHFFFAOYSA-L [Cl-].[Cl-].CC1=CC=C(C)C2=C1C=CC2[Zr+2] Chemical compound [Cl-].[Cl-].CC1=CC=C(C)C2=C1C=CC2[Zr+2] VCOKPLHNHKEXIO-UHFFFAOYSA-L 0.000 description 1
- VMLWUEQWCOXJOQ-UHFFFAOYSA-L [Cl-].[Cl-].[Zr++]C1C=Cc2c1cccc2-c1ccccc1 Chemical compound [Cl-].[Cl-].[Zr++]C1C=Cc2c1cccc2-c1ccccc1 VMLWUEQWCOXJOQ-UHFFFAOYSA-L 0.000 description 1
- JFWBIRAGFWPMTI-UHFFFAOYSA-N [Zr].[CH]1C=CC=C1 Chemical compound [Zr].[CH]1C=CC=C1 JFWBIRAGFWPMTI-UHFFFAOYSA-N 0.000 description 1
- 230000000996 additive effect Effects 0.000 description 1
- 150000001338 aliphatic hydrocarbons Chemical class 0.000 description 1
- 125000002947 alkylene group Chemical group 0.000 description 1
- AZDRQVAHHNSJOQ-UHFFFAOYSA-N alumane Chemical group [AlH3] AZDRQVAHHNSJOQ-UHFFFAOYSA-N 0.000 description 1
- 238000013459 approach Methods 0.000 description 1
- 239000004305 biphenyl Substances 0.000 description 1
- IISBACLAFKSPIT-UHFFFAOYSA-N bisphenol A Chemical compound C=1C=C(O)C=CC=1C(C)(C)C1=CC=C(O)C=C1 IISBACLAFKSPIT-UHFFFAOYSA-N 0.000 description 1
- 239000000919 ceramic Substances 0.000 description 1
- 239000011248 coating agent Substances 0.000 description 1
- 238000000576 coating method Methods 0.000 description 1
- 239000000084 colloidal system Substances 0.000 description 1
- 230000000536 complexating effect Effects 0.000 description 1
- 230000003750 conditioning effect Effects 0.000 description 1
- 230000008602 contraction Effects 0.000 description 1
- 238000007796 conventional method Methods 0.000 description 1
- 238000007334 copolymerization reaction Methods 0.000 description 1
- 125000000753 cycloalkyl group Chemical group 0.000 description 1
- 230000007812 deficiency Effects 0.000 description 1
- 230000002950 deficient Effects 0.000 description 1
- 238000001514 detection method Methods 0.000 description 1
- XBPCUCUWBYBCDP-UHFFFAOYSA-O dicyclohexylazanium Chemical compound C1CCCCC1[NH2+]C1CCCCC1 XBPCUCUWBYBCDP-UHFFFAOYSA-O 0.000 description 1
- 238000010790 dilution Methods 0.000 description 1
- 239000012895 dilution Substances 0.000 description 1
- HNPSIPDUKPIQMN-UHFFFAOYSA-N dioxosilane;oxo(oxoalumanyloxy)alumane Chemical compound O=[Si]=O.O=[Al]O[Al]=O HNPSIPDUKPIQMN-UHFFFAOYSA-N 0.000 description 1
- 238000007598 dipping method Methods 0.000 description 1
- 239000006185 dispersion Substances 0.000 description 1
- 239000003814 drug Substances 0.000 description 1
- 230000000694 effects Effects 0.000 description 1
- 238000005516 engineering process Methods 0.000 description 1
- 150000002148 esters Chemical class 0.000 description 1
- VXNZUUAINFGPBY-UHFFFAOYSA-N ethyl ethylene Natural products CCC=C VXNZUUAINFGPBY-UHFFFAOYSA-N 0.000 description 1
- 238000011156 evaluation Methods 0.000 description 1
- 238000001125 extrusion Methods 0.000 description 1
- 150000002193 fatty amides Chemical class 0.000 description 1
- KTWOOEGAPBSYNW-UHFFFAOYSA-N ferrocene Chemical compound [Fe+2].C=1C=C[CH-]C=1.C=1C=C[CH-]C=1 KTWOOEGAPBSYNW-UHFFFAOYSA-N 0.000 description 1
- 239000000945 filler Substances 0.000 description 1
- 239000012530 fluid Substances 0.000 description 1
- 229910052731 fluorine Inorganic materials 0.000 description 1
- 125000003709 fluoroalkyl group Chemical group 0.000 description 1
- 239000005350 fused silica glass Substances 0.000 description 1
- 230000004927 fusion Effects 0.000 description 1
- 229910000078 germane Inorganic materials 0.000 description 1
- 150000005826 halohydrocarbons Chemical class 0.000 description 1
- 150000004678 hydrides Chemical class 0.000 description 1
- 150000002430 hydrocarbons Chemical class 0.000 description 1
- 125000003454 indenyl group Chemical group C1(C=CC2=CC=CC=C12)* 0.000 description 1
- 239000004615 ingredient Substances 0.000 description 1
- 238000011835 investigation Methods 0.000 description 1
- QQVIHTHCMHWDBS-UHFFFAOYSA-N isophthalic acid Chemical compound OC(=O)C1=CC=CC(C(O)=O)=C1 QQVIHTHCMHWDBS-UHFFFAOYSA-N 0.000 description 1
- 229910052747 lanthanoid Inorganic materials 0.000 description 1
- 150000002602 lanthanoids Chemical class 0.000 description 1
- 239000007788 liquid Substances 0.000 description 1
- 230000004807 localization Effects 0.000 description 1
- HZVOZRGWRWCICA-UHFFFAOYSA-N methanediyl Chemical compound [CH2] HZVOZRGWRWCICA-UHFFFAOYSA-N 0.000 description 1
- 238000012986 modification Methods 0.000 description 1
- 230000004048 modification Effects 0.000 description 1
- 239000000178 monomer Substances 0.000 description 1
- 125000001624 naphthyl group Chemical group 0.000 description 1
- JRZJOMJEPLMPRA-UHFFFAOYSA-N olefin Natural products CCCCCCCC=C JRZJOMJEPLMPRA-UHFFFAOYSA-N 0.000 description 1
- 230000003647 oxidation Effects 0.000 description 1
- 238000007254 oxidation reaction Methods 0.000 description 1
- 229940059574 pentaerithrityl Drugs 0.000 description 1
- WXZMFSXDPGVJKK-UHFFFAOYSA-N pentaerythritol Chemical compound OCC(CO)(CO)CO WXZMFSXDPGVJKK-UHFFFAOYSA-N 0.000 description 1
- 230000002093 peripheral effect Effects 0.000 description 1
- 150000004714 phosphonium salts Chemical class 0.000 description 1
- 229920001083 polybutene Polymers 0.000 description 1
- 150000003254 radicals Chemical class 0.000 description 1
- 238000007493 shaping process Methods 0.000 description 1
- 229910000077 silane Inorganic materials 0.000 description 1
- 239000000377 silicon dioxide Substances 0.000 description 1
- 230000000087 stabilizing effect Effects 0.000 description 1
- 239000008107 starch Substances 0.000 description 1
- 235000019698 starch Nutrition 0.000 description 1
- 238000003756 stirring Methods 0.000 description 1
- 125000001424 substituent group Chemical group 0.000 description 1
- 238000010557 suspension polymerization reaction Methods 0.000 description 1
- 229920003002 synthetic resin Polymers 0.000 description 1
- 239000000057 synthetic resin Substances 0.000 description 1
- 230000008719 thickening Effects 0.000 description 1
- 230000007704 transition Effects 0.000 description 1
- ZMANZCXQSJIPKH-UHFFFAOYSA-O triethylammonium ion Chemical compound CC[NH+](CC)CC ZMANZCXQSJIPKH-UHFFFAOYSA-O 0.000 description 1
- ITMCEJHCFYSIIV-UHFFFAOYSA-N triflic acid Chemical compound OS(=O)(=O)C(F)(F)F ITMCEJHCFYSIIV-UHFFFAOYSA-N 0.000 description 1
- MXSVLWZRHLXFKH-UHFFFAOYSA-N triphenylborane Chemical compound C1=CC=CC=C1B(C=1C=CC=CC=1)C1=CC=CC=C1 MXSVLWZRHLXFKH-UHFFFAOYSA-N 0.000 description 1
- YFTHZRPMJXBUME-UHFFFAOYSA-N tripropylamine Chemical compound CCCN(CCC)CCC YFTHZRPMJXBUME-UHFFFAOYSA-N 0.000 description 1
- 230000000007 visual effect Effects 0.000 description 1
- XLYOFNOQVPJJNP-UHFFFAOYSA-N water Substances O XLYOFNOQVPJJNP-UHFFFAOYSA-N 0.000 description 1
- 229910001868 water Inorganic materials 0.000 description 1
- 239000003643 water by type Substances 0.000 description 1
- 230000037303 wrinkles Effects 0.000 description 1
- 239000010457 zeolite Substances 0.000 description 1
Images
Landscapes
- Addition Polymer Or Copolymer, Post-Treatments, Or Chemical Modifications (AREA)
- Compositions Of Macromolecular Compounds (AREA)
Abstract
Disclosed is a polyethylene wax defined by the features (i) to (iv): (i) said polyethylene wax is an ethylene homopolymer or a copolymer of ethylene and an alpha-olefin of 3 to 20 carbon atoms, (ii) a ratio (Mw/Mn) of the weight-average molecular weight (Mw) to the number-average molecular weight (Mn), as measured by GPC, is in the range of 1.7 to 4.0, (iii) the softening point is not higher than 125 DEG C., and (iv) the penetration hardness is not more than 15 dmm. Also disclosed are a lost wax composition for precision casting, which comprises the polyethylene wax, and a method for forming a model for precision casting, which uses the lost wax composition for precision casting.
Description
The international application no that the application proposes on June 21st, 2004 for the applicant the dividing an application that be PCT/JP2004/009050 (200480017722.2), denomination of invention for the international application of " polyethylene-based wax, contain the making method of its precision casting " with dewax composition and model for precision casting.
Technical field
The present invention relates to have low-shrinkage and high rigidity and few polyethylene-based wax that is clamminess, the dewax composition that by lost wax process making model for precision casting the time, uses, the making method that reaches the model for precision casting that adopts this dewax composition.
Background technology
Polyethylene-based wax is widely used in various dispersion agents, modification agent, easer, the purposes such as releasing agent of xerox with toning agent, but needs a kind of have low-shrinkage and high rigidity and few polyethylene-based wax that is clamminess recently in purposes such as hot melt and dewax.
As the manufacture method of polyethylene-based wax, generally can enumerate high pressure radical method or use the mesolow method of transition-metal catalysts such as Z-type catalyst, metallocenes series catalysts, phenoxy group imide series catalyzer and by making method that the thermal destruction of high molecular weight olefin based polymer makes etc. (for example open flat 1-132608 communique, spy are opened clear 62-129303 communique, the spy opens 2001-002731 communique and the flat 3-287609 communique of Te Kai) referring to the spy.Though disclose in these communiques by ethene and the polyethylene-based wax formed with the multipolymer of alpha-olefin, about the shrinking percentage of wax and to its molecular weight distribution that has a significant impact without any open.In addition, open the spy and to disclose the narrow polyethylene-based wax of molecular weight distribution that is used to alleviate being clamminess property in the clear 62-129303 communique, but its shrinking percentage of polyethylene-based wax of characteristics that only has narrow molecular weight distribution is very big, from this point, just be not suitable among the purposes such as above-mentioned hot melt and dewax.In addition, open in the flat 1-132608 communique disclosed with regard to the spy and have low softening point or low density and form with regard to the polyethylene-based wax of specific characteristics, whether its shrinkage character, hardness, being clamminess property etc. can satisfy the requirement of such use, and unclear.
With regard to the precision casting of adopting lost wax process, becoming in the manufacturing of jet-engine parts, reactor part and common mechanical part in recent years becomes more and more important.This method is general to adopt following operation to carry out.Promptly at first Wax composition is injected metal die and make required wax pattern, this wax pattern is immersed in the slurries of refractory materials, slurries as yet not before the drying to wherein sprinkling fire resisting material particle, cover wax pattern with fire resisting material particle, carry out this dipping repeatedly and shed, make the coating thickening, finally cover and drying, make the wax pattern stripping make mold by heating then with slurries.Use this mold casting metal melt,, can be made into finished product through knockout, cut-out cast gate, precision work.
As the cast material that uses in the wax-pattern in the precision casting of this employing lost wax process (following it is called dewax), because the singularity and the goods of its manufacturing process are the precision casting product, so require its (1) dimensional precision good, be that solidification shrinkage rate and concave surface (planar pit) are little, (2) release property by mould is good, (3) wax-pattern is surperficial good, the bubble that is involved in when promptly not having flowline (paraffin is at the streamline shape of model internal flow) and injection forming, (4) good fluidity, the forming temperature wide ranges, (5) can reclaim after using, and can use for several times, shell can not crack etc. when (6) bending strength height, (7) were made mold.
The composition that dewax (ロ ス ト ワ Star Network ス) normally is made up of several materials, mainly can enumerate the various wax classes of animal system, department of botany, oil system, mineral system and synthetic system as its material, natural rosin, resins such as rosin derivative and petroleum resin.But the dewax of Shi Yonging is because the contraction and the concave surface of forming model is big, and bending strength is low, and is frangible in the past, and also poor with the release property of model when being shaped, so very difficult being configured as with good dimensional precision has complicated shape and dewax model in apparent good order and condition.
Innovative approach as these shortcomings, someone proposes by add various additives in dewax, for example powder or the spheroid or the starch etc. of synthetic resins such as polyvalent alcohol such as terephthalic acid, m-phthalic acid, M-nitro benzoic acid, naphthalene, fatty amide, tetramethylolmethane and organic compound such as ester class, bis-phenol thereof, polystyrene, polyethylene, polybutene, improve the intensity of shaping dies, sustain damage when preventing from from model to take out.This additive (below be called filler) is though reducing solidification shrinkage rate, improving and certain effect is arranged aspect the concave surface situation, but with the wax-pattern stripping and tend on model, crack (shell crackle) during modeling, and its flowability is low, so be difficult to efficient manufacturing foundry goods.
Summary of the invention
First purpose of the present invention be to provide a kind of can in purposes such as hot melt (hot melt), dewax, use have low-shrinkage and high rigidity and few polyethylene-based wax that is clamminess.
In addition, second purpose of the present invention is to provide a kind of being used for to make the precision casting dewax composition of complex-shaped foundry goods with good accuracy and high-level efficiency, and uses the making method of the precision casting of above-mentioned dewax composition with mould.
The inventor etc. find through the further investigation back, having specific composition, molecular weight distribution, softening temperature and pin goes into the polyethylene-based wax of hardness and can reach first purpose, and by using above-mentioned polyethylene-based wax can reach second purpose, thereby finished the present invention as the composition of dewax composition.
That is to say, the present invention relates to following precision casting dewax composition, wherein contain and meet the following conditions (i)~(iv) and utilize Z-type catalyst or polyethylene-based wax that the metallocenes series catalysts obtains, with be selected from animal system, department of botany, oil system, the wax class of mineral system and synthetic system, alicyclic ring family hydrogenated tackifier, the rosin series resin, modified rosin resin or its carboxylate, aliphatics through-stone oleo-resinous, alicyclic through-stone oleo-resinous, aromatic series through-stone oleo-resinous, the copolymerized petroleum resin of aliphatics composition and aromatic component, low molecular weight phenylethylene is a resin, the isoprene resin, alkyl phenolic resin, terpine resin, coumarone indene is at least a kind of resin in the resin
(i) multipolymer of Alathon or ethene and at least a alkene from carbonatoms is 3~20 alpha-olefin, selected,
(ii) the ratio Mw/Mn with the weight-average molecular weight Mw of gel permeation chromatography and number-average molecular weight Mn is 1.7~4.0,
(iii) softening temperature is below 125 ℃,
(iv) to go into hardness be below the 15dmm to pin.
In addition, the invention still further relates to the making method that mould is used in the precision casting of having used this dewax composition.
Description of drawings
Fig. 1 is the stereographic map of dimension measurement with dewax pattern type.
Fig. 2 is that concave surface is measured the stereographic map with the dewax model.
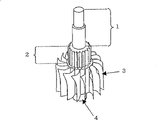
Fig. 3 is the stereographic map of precision casting with impeller dewax model.
Among the figure: a ... mold surface
B ... the back side of model
1 ... axial region
2 ... gear part
3 ... blade part
4 ... the bottom
Embodiment
Below just the present invention elaborate.
Polyethylene-based wax of the present invention, be the multipolymer of Alathon or ethene and at least a alkene from carbonatoms is 3~20 alpha-olefin, selected, optimal ethylene and the multipolymer that from carbonatoms is at least a alkene selected 3~20 the alpha-olefin.Wherein, as alpha-olefin, preferred carbonatoms is 3~10 alpha-olefin, and more preferably carbonatoms is 3~8 alpha-olefin, preferred especially propylene, 1-butylene, 1-hexene, 4-methyl-1-pentene.
Polyethylene-based wax of the present invention is in 1.7~4.0 scopes with the weight-average molecular weight (Mw) of gel permeation chromatography (GPC) mensuration and the ratio (Mw/Mn) of number-average molecular weight (Mn), preferably is in 2.6~4.0 scopes, more preferably is in 2.6~3.5 scopes.
In addition, with the z average molecular weight (Mz) of gel permeation chromatography (GPC) mensuration and the ratio (Mz/Mw) of weight-average molecular weight (Mw), preferably be in 1.5~2.0 scopes.The Mw/Mn of polyethylene-based wax, and Mz/Mw in a single day be in this scope, its shrinking percentage and hardness can reach good balance, and it is few to be clamminess also.
The softening temperature of polyethylene-based wax of the present invention is in below 125 ℃, preferably is in below 110 ℃, more preferably is in below 105 ℃.In a single day softening temperature is in this scope, and shrinking percentage is little and have low viscosity at low temperatures, so be suitable for purposes such as hot melt, dewax.
The pin of polyethylene-based wax of the present invention is gone into hardness and is in below the 15dmm, preferably is in below the 12dmm, more preferably is in below the 10dmm.Pin is gone into hardness if be in below the 15dmm, then owing to the intensity with appropriateness, so can use in purposes such as hot melt, dewax well.
And polyethylene-based wax of the present invention, the limiting viscosity of measuring in 135 ℃ perhydronaphthalene [η] preferably is in 0.15~0.50dl/g scope, more preferably is in 0.20~0.40dl/g scope.[η] if be in the above-mentioned scope, is clamminess less and the low and easy processing of viscosity during fusion.
Polyethylene-based wax of the present invention, the density with the density gradient tube method is measured preferably is in 880~910kg/m
3In the scope, more preferably be in 890~905kg/m
3In the scope.The density of polyethylene-based wax of the present invention is in the above-mentioned scope, the high comprehensive performance of shrinking percentage and hardness.
The acetone extract amount of polyethylene-based wax powder of the present invention (squares of 2 millimeter) preferably is in below the 6 weight %, more preferably is in below the 4 weight %.The extraction quantity of acetone is clamminess few when being in this scope.The wherein extraction of acetone adopts soxhlet's apparatus to carry out extracting and finishing in 5 hours in ebullient acetone.
In addition, polyethylene-based wax of the present invention, its softening temperature (Ts/ ℃) and pin are gone into hardness (Y/dmm) and preferably can be satisfied down note relational expression (I).The hardness (Y/dmm) of going into softening temperature (Ts/ ℃) and pin satisfies when remembering relational expression (I) down, can reach good balance between the shrinking percentage of polyethylene-based wax and the intensity, so can use in purposes such as hot melt, dewax well.
-0.53Ts+62>Y>-0.53Ts+53 (I)
In addition, polyethylene-based wax of the present invention also is preferably following combination promptly,
It is ethene and the multipolymer that from carbonatoms at least a alkene selected 3~20 the alpha-olefin, through the weight-average molecular weight (Mw) of gel permeation chromatography (GPC) mensuration and the ratio (Mw/Mn) of number-average molecular weight (Mn) is 2.6~4.0, softening temperature is in below 110 ℃, pin is gone into hardness and is in below the 15dmm, the limiting viscosity of measuring in 135 ℃ of perhydronaphthalenes [η] is in 0.15~0.50dl/g scope, through the z average molecular weight (Mz) of gel permeation chromatography (GPC) mensuration and the ratio (Mz/Mw) of weight-average molecular weight (Mw) is 1.5~2.0, and density is 880~910kg/m
3, the acetone extract amount is in below the 6 weight %, and softening temperature (Ts/ ℃) and pin are gone into hardness (Y/dmm) and are satisfied the polyethylene-based wax of note relational expression (I) down,
-0.53Ts+62>Y>-0.53Ts+53 (I)
And
It is the multipolymer of the homopolymer of ethene or ethene and at least a alkene from carbonatoms is 3~20 alpha-olefin, selected, through the weight-average molecular weight (Mw) of gel permeation chromatography (GPC) mensuration and the ratio (Mw/Mn) of number-average molecular weight (Mn) is 1.7~3.3, softening temperature is 88~125 ℃, pin is gone into hardness and is in below the 7dmm, and the limiting viscosity of measuring in 135 ℃ of perhydronaphthalenes [η] is the polyethylene-based wax of 0.05~0.20dl/g.
Below elaborate with regard to dewax composition of the present invention.
In dewax composition of the present invention, as the composition beyond the polyethylene-based wax so long as normally used resin does not just have special restriction, can use, for example animal is, department of botany, oil system, the various wax classes of mineral system and synthetic system, alicyclic ring family hydrogenated tackifier, the rosin series resin, modified rosin resin or its carboxylate, aliphatics through-stone oleo-resinous, alicyclic through-stone oleo-resinous, aromatic series through-stone oleo-resinous, the copolymerized petroleum resin of aliphatics composition and aromatic component, low molecular weight phenylethylene is a resin, the isoprene resin, alkyl phenolic resin, the terpenic series resin, coumarone-indene resin etc.Resin beyond these polyethylene waxs can be used alone or be used in combination in the present invention.
Polyethylene-based wax as using in the dewax composition in precision casting of the present invention can use polyethylene-based wax of the present invention.That is to say, can use Alathon, the perhaps multipolymer of ethene and at least a alkene of selecting from carbonatoms is 3~20 alpha-olefin wherein preferably uses the multipolymer of ethene and alpha-olefin.Wherein as alpha-olefin, preferred carbonatoms is 3~10 alpha-olefin, and more preferably carbonatoms is 3~8 alpha-olefin, preferred especially propylene, 1-butylene, 1-hexene, 4-methyl-1-pentene.
When polyethylene-based wax is under the situation of vinyl copolymer, and the structural unit that is come out by ethylene derivative is generally 80~99 moles of %, preferably contains 90~99 moles of %.When polyethylene-based wax is vinyl copolymer, and when being in the above-mentioned scope by the structural unit that ethylene derivative comes out, the dewax that adopts this polyethylene-based wax to obtain will have sufficient hardness.
The weight-average molecular weight (Mw) of passing through gel permeation chromatography (GPC) mensuration of polyethylene-based wax is in 1.7~4.0 scopes with the ratio (Mw/Mn) of number-average molecular weight (Mn), preferably is in 1.7~3.3 scopes.In a single day Mw/Mn is in the above-mentioned scope, adopt the dimensional precision of the dewax that this polyethylene-based wax obtains good, and the bending strength of wax-pattern is good.
The softening temperature of polyethylene-based wax of the present invention is in below 125 ℃, preferably is in 88~125 ℃ of scopes, more preferably is in 90~110 ℃ of scopes, especially preferably is in 95~105 ℃ of scopes.In a single day softening temperature is in the above-mentioned scope, and the dewax that obtains with this polyethylene-based wax has good plasticity in the temperature range widely, and the bending strength and the surface appearance of the wax-pattern that is shaped are also good.
The pin of polyethylene-based wax of the present invention is gone into hardness and is in below the 15dmm, preferably is in below the 7dmm, more preferably is in below the 4dmm.Pin is gone into hardness if be in below the 15dmm, and then the dewax model that obtains with this polyethylene-based wax has sufficient bending strength.
Polyethylene-based wax of the present invention, the limiting viscosity of measuring in 135 ℃ perhydronaphthalene [η] is generally 0.05~0.20dl/g, in preferred 0.07~0.15dl/g scope.In a single day limiting viscosity [η] is in the above-mentioned scope, the dewax that adopts this polyethylene-based wax to obtain is mobile to be strengthened because of the melt viscosity with appropriateness makes, and plasticity is good.In a single day [η] will reduce greater than the 0.20dl/g flowability, for example utilize the injection molded method to inject in model under the situation of dewax, and dewax is difficult to fully be filled in the crevice of metal die, thereby makes model produce defective easily.And [η] is in case less than 0.05dl/g, just be difficult to obtain to have the dewax model of sufficient intensity.
In addition, above-mentioned polyethylene-based wax preferably has the following acid number of 5KOHmg/g.When acid number is in the above-mentioned scope during modeling crackle on the shell less.And acid number is in case than 5KOHmg/g height, and the dewax foul smell that uses this polyethylene-based wax to obtain is heavy and operability is poor.
Polyethylene-based wax with above-mentioned the sort of acid number can adopt the polyethylene-based wax oxidation that known method (for example the spy opens flat 11-80252 communique) will obtain with Z-type catalyst or metallocenes series catalysts and obtains.
The manufacturing example of Natene of the present invention and vinyl copolymer is described as follows, but the present invention is not limited to these examples.For example, the following metalloscene catalyst manufacturing that can form with Metallocenic compound, Organoaluminoxy compound and/or the ionization ionic compound of the transition metal of selecting by periodictable the 4th family.
(Metallocenic compound)
Can form the Metallocenic compound of metallocenes series catalysts, be the Metallocenic compound of the transition metal selected from periodictable the 4th family, can enumerate compound with following general formula (1) expression as specific examples.
M
1Lx …(1)
M in the formula
1The transition metal that expression is selected from periodictable the 4th family, x represents transition metal M
1Valence, L represents ligand.By M
1The example of the transition metal of expression has zirconium, titanium, hafnium etc.L is and transition metal M
1The coordinate ligand, wherein at least one ligand L is the ligand with cyclopentadienyi skeleton, this ligand with cyclopentadienyi skeleton also can have substituting group.As ligand L with cyclopentadienyi skeleton, for example can enumerate cyclopentadienyl, methyl cyclopentadienyl, ethyl cyclopentadienyl, n-propyl or sec.-propyl cyclopentadienyl, just-, different-, secondary-or the cyclopentadienyl that replaces of alkyl or cycloalkyls such as tert-butyl cyclopentadienyl, dimethyl cyclopentadienyl, methyl-propyl cyclopentadienyl, methyl butyl cyclopentadienyl, methyl-benzyl cyclopentadienyl, and indenyl, 4,5,6,7-tetrahydro indenyl, fluorenyl etc.Have the hydrogen in the ligand of this cyclopentadienyi skeleton, also can be by replacements such as halogen atom or trialkylsilkls.
Have under the situation of two above cyclopentadienyi skeleton as ligand L at above-mentioned Metallocenic compound, wherein between the ligand that two have a cyclopentadienyi skeleton, also can pass through alkylidene groups such as ethylidene, propylidene, substituted alkylenes such as isopropylidene, phenylbenzene methylene radical, the combinations such as silicylene that silicylene or dimethylated methylene silylation, phenylbenzene silicylene, aminomethyl phenyl silicylene etc. replace.
As ligand (ligand that does not the have cyclopentadienyi skeleton) L beyond the ligand with cyclopentadienyi skeleton, can enumerate carbonatoms and be 1~12 alkyl, alkoxyl group, aryloxy, contain sulfonic group (S0
3R
1), halogen atom or hydrogen atom (R wherein
1The alkyl that is alkyl, is replaced by halogen atom, aryl, the aryl that is replaced by halogen atom or the aryl that is replaced by alkyl) etc.
(example 1 of Metallocenic compound)
By the Metallocenic compound of above-mentioned general formula (1) expression, for example under the transition atomic valence of metal is 4 situation, more specifically says and to represent by following general formula (2).
R
2 kR
3 lR
4 mR
5 nM
1 …(2)
M in the formula
1Be the transition metal of selecting from periodictable the 4th family, R
2Be group (ligand) with cyclopentadienyi skeleton, R
3, R
4And R
5Individual tables is shown with or does not have the group (ligand) of cyclopentadienyi skeleton separately.K is the integer more than 1, k+l+m+n=4.
M
1Be that zirconium and the example that contains the Metallocenic compound of two ligands with cyclopentadienyi skeleton at least are listed below.Two (cyclopentadienyl) zirconium monochloro list hydride, two (cyclopentadienyl) zirconium dichloride, two (1-methyl-3-butyl cyclopentadienyl) zirconium two (trifluoro-methanyl sulfonate), two (1,3-dimethyl cyclopentadienyl) zirconium dichloride etc.
Also can use 1 in the above-claimed cpd, the cyclopentadienyl that the 3-position replaces is replaced as 1, the compound of 2-position substituted cyclopentadienyl.
And, also can use R in the above-mentioned general formula as other example of Metallocenic compound
2, R
3, R
4And R
5In at least two groups R for example
2, R
3Be group (ligand) with cyclopentadienyi skeleton and this at least two groups Metallocenic compound by the silicylene bonded bridge type of alkylidene group, silicylene or the replacement of alkylidene group, replacement.At this moment, R
4And R
5Independent mutually separately, be identical with above-mentioned ligand ligand in addition with cyclopentadienyi skeleton.
As the Metallocenic compound of this bridge type, can enumerate two (indenyl) zirconium dimethyls of ethylene, two (indenyl) zirconium dichloride of ethylene, isopropylidene (cyclopentadienyl-fluorenyl) zirconium dichloride, two (indenyl) zirconium dichloride of phenylbenzene silicylene etc.
(example 2 of Metallocenic compound)
As the example of Metallocenic compound, can enumerate by the spy that is documented in who remembers general formula (3) expression down and open Metallocenic compound in the flat 4-268307 communique.
In the formula, M
1Be the transition metal of periodictable the 4th family, specifically can enumerate titanium, zirconium, hafnium.
R
11And R
12Can be identical or different mutually, be that hydrogen atom, carbonatoms are that 1~10 alkyl, carbonatoms are that 1~10 alkoxyl group, carbonatoms are that 6~10 aryl, carbonatoms are that 6~10 aryloxy, carbonatoms are that 2~10 alkenyl, carbonatoms are that 7~40 arylalkyl, carbonatoms are that 7~40 alkylaryl, carbonatoms are 8~40 aromatic yl alkenyl or halogen atom, R
11And R
12Be preferably the chlorine atom.
R
13And R
14Can be identical or different mutually, be hydrogen atom, halogen atom, also can by halogenated carbonatoms be 1~10 alkyl, carbonatoms be 6~10 aryl ,-N (R
20)
2,-SR
20,-OSi (R
20)
3,-Si (R
20)
3Or-P (R
20)
2Group.R in the formula
20Be halogen atom (preferred chlorine atom); Carbonatoms is the alkyl of 1~10 (preferred 1~3); Perhaps carbonatoms is the aryl of 6~10 (preferred 6~8).R
13And R
14Be preferably hydrogen atom especially.
R
15And R
16Except not comprising hydrogen atom and R
13And R
14Identical, can be identical or different, preferably identical.R
15And R
16Being preferably can be 1~4 alkyl by halogenated carbonatoms, specifically can enumerate methyl, ethyl, propyl group, sec.-propyl, butyl, isobutyl-, trifluoromethyl etc., special preferable methyl.
In above-mentioned general formula (3), R
17Can from following group, select.
=BR
21,=AlR
21,-Ge-,-Sn-,-O-,-S-,=SO ,=SO
2,=NR
21,=CO ,=PR
21,=P (O) R
21Deng.
M
2Be silicon, germanium or tin, preferred silicon or germanium.R in the formula
21, R
22And R
23Can be identical or different mutually, be that hydrogen atom, halogen atom, carbonatoms are that 1~10 alkyl, carbonatoms are that 1~10 fluoro-alkyl, carbonatoms are that 6~10 aryl, carbonatoms are that 6~10 fluorinated aryl, carbonatoms are that 1~10 alkoxyl group, carbonatoms are that 2~10 alkenyl, carbonatoms are that 7~40 arylalkyl, carbonatoms are that 8~40 aromatic yl alkenyl or carbonatoms are 7~40 alkylaryl, " R
21And R
22" or " R
21And R
23", also can be respectively with forming ring with their bonded atoms.And R
17Be preferably=CR
21R
22,=SiR
21R
22,-Ge R
21R
22,-O-,-S-,=SO ,=PR
21Or=P (O) R
21Deng.R
18And R
19Can be identical or different mutually, can enumerate and R
21Identical group.M and n can be identical or different mutually, are respectively 0,1 or 2, preferred 0 or 1, and m+n is 0,1 or 2, and preferred 0 or 1.
Example as the Metallocenic compound of being represented by above-mentioned general formula (3) can be listed below compound.Racemize ethylene (2-methyl isophthalic acid-indenyl)
2Zirconium dichloride, racemize dimethylated methylene silylation (2-methyl isophthalic acid-indenyl)
2Zirconium dichloride etc.These Metallocenic compounds for example can adopt the spy to open the method manufacturing of putting down in writing in the flat 4-268307 communique.
(example 3 of Metallocenic compound)
As Metallocenic compound, can use down the Metallocenic compound shown in the note general formula (4).
In the formula (4), M
3The transition metal atoms of indication cycle's table the 4 families specifically has titanium, zirconium, hafnium.R
24And R
25Can be identical or different mutually, expression hydrogen atom, halogen atom, carbonatoms are that 1~20 alkyl, carbonatoms are 1~20 halo alkyl, silicon-containing group, oxy radical, sulfur-containing group, nitrogen-containing group or phosphorus-containing groups.R
24Be preferably alkyl, carbonatomss such as special preferable methyl, ethyl or propyl group are 1~3 alkyl.R
25Be preferably hydrogen atom or alkyl, preferred especially hydrogen atom or carbonatomss such as methyl, ethyl or propyl group are 1~3 alkyl.R
26, R
27, R
28And R
29Can be identical or different mutually, expression hydrogen atom, halogen atom, carbonatoms are that 1~20 alkyl, carbonatoms are 1~20 halo alkyl.Preferred hydrogen atom, alkyl or halo alkyl in these substituting groups.R
26And R
27, R
27And R
28, R
28And R
29In at least one group can with form the monocyclic aromatic ring with its bonded carbon atom.And except the group that forms aromatic ring, under the situation of two above alkyl or halo alkyl, also can interosculate circlewise between these groups.Wherein work as R
29Be under the substituent situation beyond the aromatic group, be preferably hydrogen atom.X
1With X
2Can be identical or different mutually, expression hydrogen atom, halogen atom, carbonatoms are that 1~20 alkyl, carbonatoms are 1~20 halo alkyl, oxy radical or sulfur-containing group.Y represent carbonatoms be 1~20 bivalent hydrocarbon radical, carbonatoms be 1~20 divalence halo alkyl, divalence silicon-containing group, the germanic group of divalence, divalence contain tin group ,-O-,-CO-,-S-,-SO-,-SO
2-,-NR
30,-P (R
30)-,-P (O) (R
30)-,-BR
30-or-AlR
30(R in the formula
30Expression hydrogen atom, halogen atom, carbonatoms are that 1~20 alkyl, carbonatoms are 1~20 halo alkyl).
In general formula (4), as comprising R
26And R
27, R
27And R
28, R
28And R
29In at least one group of monocyclic aromatic ring and and M that interosculates and form
3The coordinate ligand can be enumerated the ligand that following following formula is represented.
(what Y and preceding formula were represented in the formula is identical.)
(example 4 of Metallocenic compound)
As the example of Metallocenic compound, also can use down the Metallocenic compound shown in the note general formula (5).
In the formula (5), M
3, R
24, R
25, R
26, R
27, R
28And R
29Identical with above-mentioned general formula (4).At R
26, R
27, R
28And R
29In, comprise R
26Two groups be preferably alkyl, preferred R
26And R
28, R
28And R
29Be alkyl.This alkyl is preferably secondary alkyl or tertiary alkyl.And this alkyl also can be replaced by halogen atom, silicon-containing group.As halogen atom and silicon-containing group, can enumerate at R
24, R
25In illustrated those substituting groups.And R
26, R
27, R
28And R
29In, the group beyond the alkyl is preferably hydrogen atom.And R
26, R
27, R
28And R
29In two kinds of groups selecting also can interosculate and form monocycle or many rings beyond the aromatic nucleus.As halogen atom, can enumerate and above-mentioned R
24And R
25Same atom.As X
1, X
2Can enumerate and above-mentioned same group with Y.
The specific examples of the Metallocenic compound of above-mentioned general formula (5) expression is listed below.
Racemize-dimethylated methylene silylation-two (4,7-dimethyl-1-indenyl) zirconium dichloride, racemize-dimethylated methylene silylation-two (2,4,7-trimethylammonium-1-indenyl) zirconium dichloride, racemize-dimethylated methylene silylation-two (2,4,6-trimethylammonium-1-indenyl) the zirconium dichloride etc.
Also can use the transistion metal compound that the metal zirconium in these compounds is replaced as metal titanium, metal hafnium.Transistion metal compound uses with the ceramic body form usually, also can use S type or R type.
(example 5 of Metallocenic compound)
As Metallocenic compound, also can use down the Metallocenic compound shown in the note general formula (6).
In the formula (6), M
3, R
24, X
1, X
2Identical with in Y and the above-mentioned general formula (4).R
24Excellent is alkyl, and carbonatomss such as special preferable methyl, ethyl, propyl group and butyl are 1~4 alkyl.R
25The expression carbonatoms is 6~16 aryl.R
25Be preferably phenyl, naphthyl.Aryl can be that 1~20 alkyl or carbonatoms are that 1~20 halo alkyl replaces by halogen atom, carbonatoms also.X
1And X
2Preferably halogen atom, carbonatoms are 1~20 alkyl.
The specific examples of the Metallocenic compound of above-mentioned general formula (6) expression is listed below.
Racemize-dimethylated methylene silylation-two (4-phenyl-1-indenyl) zirconium dichloride, racemize-dimethylated methylene silylation-two (2-methyl-4-phenyl-1-indenyl) zirconium dichloride, racemize-dimethylated methylene silylation-two (2-methyl-4-(Alpha-Naphthyl)-1-indenyl) zirconium dichloride, racemize-dimethylated methylene silylation-two (2-methyl-4-(betanaphthyl)-1-indenyl) zirconium dichloride, racemize-dimethylated methylene silylation-two (2-methyl-4-(1-anthryl)-1-indenyl) zirconium dichloride etc.And can use the transistion metal compound that the metal zirconium in these compounds is replaced as metal titanium, metal hafnium.
(example 6 of Metallocenic compound)
As Metallocenic compound, also can use down the Metallocenic compound shown in the note general formula (7).
LaM
4X
3 2 …(7)
In the formula, M
4Be periodictable the 4th family or lanthanide series metal.La is the derivative of non-localization π key group, is to metal M
4Active sites is given the group of constraint geometry.Two X
3Between can be identical or different, be hydrogen atom, halogen atom, carbonatoms be below 20 alkyl, contain the silane group of 20 following Siliciumatoms or contain the germane group of 20 following germanium atoms.
In this compound, the compound shown in the preferred following formula (8).
In the formula (8), M
4Be titanium, zirconium or hafnium.X
3With middle illustrate identical of above-mentioned general formula (7).Cp is by π key and M
4Bonded, has the substituted cyclopentadienyl of substituting group Z.Z is oxygen, sulphur, boron or periodictable the 4th family's element (for example silicon, germanium or tin).Y is the ligand that contains nitrogen, phosphorus, oxygen or sulphur, and Z and Y also can form condensed ring.
The specific examples of the Metallocenic compound of above-mentioned general formula (8) expression is listed below.
(dimethyl (t-butyl carboxamide base) (tetramethyl--η
5-cyclopentadienyl) silane) titanium dichloride, ((t-butyl carboxamide base) (tetramethyl--η
5-cyclopentadienyl)-1, titanium dichloride etc. 2-ethane two bases).In addition, also can enumerate the compound that the titanium in these Metallocenic compounds is replaced as zirconium or hafnium.
(example 7 of Metallocenic compound)
In addition, as Metallocenic compound, also can use down the Metallocenic compound shown in the note general formula (9).
In the formula (9), M
3Be the transition metal atoms of periodictable the 4th family, titanium, zirconium, hafnium are specifically arranged, preferred zirconium.R
31Can be identical or different mutually, wherein at least one is that carbonatoms is that 11~20 aryl, carbonatoms are that 12~40 arylalkyl, carbonatoms are that 13~40 aromatic yl alkenyl, carbonatoms are 12~40 alkylaryl or silicon-containing group, perhaps at R
31Adjacent at least two groups and form single or multiple aromatic nucleus or aliphatics ring in the group of expression with its bonded carbon atom.In this case, by R
31The ring that forms, comprise and R
31The bonded carbon atom is 4~20 at interior total carbon atom number.Aryl, arylalkyl, aromatic yl alkenyl, alkylaryl and the R that forms aromatic nucleus or aliphatics ring
31R in addition
31, be that hydrogen atom, halogen atom, carbonatoms are 1~10 alkyl or silicon-containing group.R
32Can be identical or different mutually, be that hydrogen atom, halogen atom, carbonatoms are that 1~10 alkyl, carbonatoms are that 6~20 aryl, carbonatoms are that 2~10 alkenyl, carbonatoms are that 7~40 arylalkyl, carbonatoms are that 8~40 aromatic yl alkenyl, carbonatoms are 7~40 alkylaryl, silicon-containing group, oxy radical, sulfur-containing group, nitrogen-containing group or phosphorus-containing groups.And at R
32In the group of expression adjacent at least two groups also can with form single or multiple aromatic nucleus or aliphatics ring with its bonded carbon atom.In this case, by R
32The ring that forms, comprise and R
32The bonded carbon atom is 4~20 at interior total carbon atom number, forms the R of aromatic nucleus or aliphatics ring
32R in addition
32, be that hydrogen atom, halogen atom, carbonatoms are 1~10 alkyl or silicon-containing group.By R
32Two groups of expression form in the group that single or multiple aromatic nucleus or aliphatics ring constituted, and can comprise that also fluorenyl constitutes the form of structure shown in the following formula.
R
32Be preferably hydrogen atom or alkyl, carbonatomss such as preferred especially hydrogen atom or methyl, ethyl, propyl group are 1~3 alkyl.Has R as this as substituting group
32Fluorenyl, can enumerate 2,7-dialkyl group fluorenyl, in this case 2, the alkyl in the 7-dialkyl group can be enumerated carbonatoms and be 1~5 alkyl.In addition, R
31And R
32Can be identical or different mutually.R
33And R
34Also can be identical or different mutually, be with above-mentioned same hydrogen atom, halogen atom, carbonatoms be that 1~10 alkyl, carbonatoms are that 6~20 aryl, carbonatoms are that 2~10 alkenyl, carbonatoms are that 7~40 arylalkyl, carbonatoms are that 8~40 aromatic yl alkenyl, carbonatoms are 7~40 alkylaryl, silicon-containing group, oxy radical, sulfur-containing group, nitrogen-containing group or phosphorus-containing groups.In these groups, preferred R
33And R
34In at least one is that carbonatoms is 1~3 alkyl.X
1With X
2Can be identical or different mutually, expression hydrogen atom, halogen atom, carbonatoms are that 1~20 alkyl, carbonatoms are 1~20 halo alkyl, oxy radical, sulfur-containing group or nitrogen-containing group, or by X
1With X
2The conjugated diolefine residue that forms.As by X
1With X
2The conjugated diolefine residue that forms, preferred 1,3-butadiene, 2,4-hexadiene, 1-phenyl-1,3-pentadiene, 1, the residue of 4-diphenyl diethylene, these residues also can further be 1~10 alkyl replacement by carbonatoms.As X
1With X
2, preferred halogen atom, carbonatoms are 1~20 alkyl or sulfur-containing group.Y represent carbonatoms be 1~20 bivalent hydrocarbon radical, carbonatoms be 1~20 divalence halo alkyl, divalence silicon-containing group, the germanic group of divalence, divalence contain tin group ,-O-,-CO-,-S-,-SO-,-SO
2-,-NR
35,-P (R
35)-,-P (O) (R
35)-,-BR
35-or-AlR
35(R in the formula
35Expression hydrogen atom, halogen atom, carbonatoms are that 1~20 alkyl, carbonatoms are 1~20 halo alkyl).In these divalent groups, the shortest connection portion of-Y-is preferably by one or two atomic building.In addition, R
35Be that halogen atom, carbonatoms are that 1~20 alkyl, carbonatoms are 1~20 halo alkyl.The preferred carbonatoms of Y is 1~5 bivalent hydrocarbon radical, divalence silicon-containing group or the germanic group of divalence, more preferably divalence silicon-containing group, preferred alkyl silicylene, alkylaryl silicylene or aryl silicylene especially.
(example 8 of Metallocenic compound)
In addition, as Metallocenic compound, also can use down the Metallocenic compound shown in the note general formula (10).
In the formula (10), M
3Be the transition metal atoms of periodictable the 4th family, titanium, zirconium, hafnium are specifically arranged, preferred zirconium.R
36Can be identical or different mutually, be that hydrogen atom, halogen atom, carbonatoms are that 1~10 alkyl, carbonatoms are that 6~10 aryl, carbonatoms are 2~10 alkenyl, silicon-containing group, oxy radical, sulfur-containing group, nitrogen-containing group or phosphorus-containing groups.Wherein abovementioned alkyl and alkenyl also can be replaced by halogen atom.R in these substituting groups
36Be preferably alkyl, aryl or hydrogen atom, carbonatomss such as special preferable methyl, ethyl, n-propyl, sec.-propyl are 1~3 alkyl, aryl or hydrogen atoms such as phenyl, Alpha-Naphthyl, betanaphthyl.R
37Can be identical or different mutually, be that hydrogen atom, halogen atom, carbonatoms are that 1~10 alkyl, carbonatoms are that 6~20 aryl, carbonatoms are that 2~10 alkenyl, carbonatoms are that 7~40 arylalkyl, carbonatoms are that 8~40 aromatic yl alkenyl, carbonatoms are 7~40 alkylaryl, silicon-containing group, oxy radical, sulfur-containing group, nitrogen-containing group or phosphorus-containing groups.Wherein above-mentioned alkyl, aryl, alkenyl, arylalkyl, aromatic yl alkenyl, alkylaryl also can be replaced by halogen atom.R in these groups
37Be preferably hydrogen atom or alkyl, carbonatomss such as preferred especially hydrogen atom or methyl, ethyl, n-propyl, sec.-propyl, normal-butyl, the tertiary butyl are 1~4 alkyl.And, above-mentioned R
36And R
37Also can be identical or different mutually.R
38And R
39, one of them is that carbonatoms is 1~5 alkyl, another is that hydrogen atom, halogen atom, carbonatoms are that 1~10 alkyl, carbonatoms are 2~10 alkenyl, silicon-containing group, oxy radical, sulfur-containing group, nitrogen-containing group or phosphorus-containing groups.In these groups, R
38And R
39, one of them is preferably carbonatomss such as methyl, ethyl, propyl group is 1~3 alkyl, another preferred hydrogen atom.X
1With X
2Can be identical or different mutually, expression hydrogen atom, halogen atom, carbonatoms are that 1~20 alkyl, carbonatoms are 1~20 halo alkyl, oxy radical, sulfur-containing group or nitrogen-containing group, or by X
1With X
2The conjugated diolefine residue that forms.Preferred halogen atom, carbonatoms are 1~20 alkyl in these bases.Y represent carbonatoms be 1~20 bivalent hydrocarbon radical, carbonatoms be 1~20 divalence halo alkyl, divalence silicon-containing group, the germanic group of divalence, divalence contain tin group ,-O-,-CO-,-S-,-SO-,-SO
2-,-NR
40,-P (R
40)-,-P (O) (R
40)-,-BR
40-or-AlR
40-(R in the formula
40Expression hydrogen atom, halogen atom, carbonatoms are that 1~20 alkyl, carbonatoms are 1~20 halo alkyl).In these divalent groups, it is 1~5 bivalent hydrocarbon radical, divalence silicon-containing group or the germanic group of divalence that Y is preferably carbonatoms, more preferably divalence silicon-containing group, special preferred alkyl silicylene, alkylaryl silicylene or aryl silicylene.
More than Shuo Ming Metallocenic compound can use separately, also can be used in combination.
In addition, Metallocenic compound also can use with in the hydrocarbon or halohydrocarbon dilution back.
(Organoaluminoxy compound)
The Organoaluminoxy compound both can be known aikyiaiurnirsoxan beta, also can be the insoluble Organoaluminoxy compound of benzene.This known aikyiaiurnirsoxan beta can be represented with following formula.
In the formula, R represents alkyl such as methyl, ethyl, propyl group, butyl, preferable methyl, ethyl, and special preferable methyl, m is more than 2, preferred 5~40 integer.
Aikyiaiurnirsoxan beta (ア Le ミ ノ オ キ サ Application), also can form by mixed alkyl oxygen base aluminium unit, described mixed alkyl oxygen base aluminium is by with general formula (OAl (R ')) the alkyl oxy aluminium unit of expression with general formula (OAl (R ")) the alkyl oxy aluminium unit of expression (and wherein R ' and R " the expression alkyl identical with R, R ' and R " represent different alkyl).Organoaluminoxy compound wherein also can contain the organic compound ingredient of the metal beyond a spot of aluminium.
(ionization ionic compound)
As ionization ionic compound (also being called " ionic ionization compound, ionic compound " sometimes), can enumerate Lewis acid, ionic compound, borane compound and carborane compound.Can enumerate as Lewis acid and to use BR
3The compound of (R can have substituent phenyl or fluorine atoms such as fluorine atom, methyl, trifluoromethyl) expression.Can enumerate boron trifluoride, triphenyl-boron, three (4-fluoro phenyl) boron, three (3 as concrete Lewis acid, 5-phenyl-difluoride base) boron, three (4-fluoro aminomethyl phenyl) boron, three (phenyl-pentafluoride base) boron, three (right-tolyl) boron, three (neighbour-tolyl) boron, three (3, the 5-3,5-dimethylphenyl) boron etc.
As above-mentioned ionic compound, can enumerate ammonium salt, N that trialkyl replaces, N-dialkyl benzene amine salt, dialkyl ammonium salt, three fragrant basic phosphonium salts etc.As the trialkyl substituted ammonium salt of ionic compound, can enumerate triethyl ammonium four (phenyl) boron, tripropyl ammonium four (phenyl) boron, three (normal-butyl) ammonium four (phenyl) boron etc.As the dialkyl ammonium salt of ionic compound, can enumerate two (1-propyl group) ammonium four (pentafluorophenyl group) boron, dicyclohexyl ammonium four (phenyl) boron etc.
As above-mentioned ionic compound, can also enumerate triphenylcarbenium (カ Le ベ ニ ウ system) four (pentafluorophenyl group) borate, N, accelerine four (pentafluorophenyl group) borate, ferrocene four (pentafluorophenyl group) borate etc.
As above-mentioned borane compound, can enumerate decaborane (9), two (three (normal-butyl) ammonium) nine borates, two (three (normal-butyl) ammonium) ten borates, the anionic salt of two (three (normal-butyl) ammonium) two (dodecahydrododecaborates) nickelate metallo-boranes such as (III) etc.
As above-mentioned carborane compound, can enumerate 4-carbon nine borines (9), 1,3-two carbon, nine borines (8), two (three (normal-butyl) ammoniums) two (11 hydrogen-7-carbon 11-borate salt) anionic salt of nickelate metallocarboranes such as (IV) etc.
This ionization ionic compound can use separately, also can be used in combination.
And when forming the metallocenes series catalysts, can use following organo-aluminium compound with Organoaluminoxy compound and/or ionization ionic compound.
(organo-aluminium compound)
Organo-aluminium compound as using in case of necessity can use intramolecularly to have the compound of an Al-carbon bond at least.This compound, for example be by the organo-aluminium compound of remembering general formula (11) expression down,
(R
6)
mAl(OR
7)
nH
pX
4 q …(11)
(in the formula, R
6And R
7Can be identical or different mutually, normally contain 1~15, the alkyl of preferred 1~4 carbon atom.X
4It is halogen atom.M, n, p, q are respectively the numerical value that satisfies 0<m≤3,0≤n<3,0≤p<3,0≤q<3, and m+n+p+q=3.)
And by first metal of remembering general formula (12) expression down and the complexing alkylide of aluminium etc.
(M
5)Al(R
6) …(12)
(in the formula, M
5Be Li, Na or K, R
6With the R in the above-mentioned general formula (11)
6Identical.
(polymerization)
Polyethylene-based wax of the present invention, can be by in the presence of above-mentioned metallocenes series catalysts, usually in liquid phase, make ethylene homo and obtain, perhaps usually in liquid phase by making ethene and being that at least a above alpha-olefin copolymer of selecting 3~10 the alpha-olefin obtains from carbonatoms.At this moment, generally can use varsol, but under the situation of copolymerization, also can use alpha-olefin to make solvent.Use therein various monomer as mentioned above.
As polymerization process, can adopt and in the hexane equal solvent, make polymeric suspension polymerization under the state that polyethylene-based wax exists with particulate forms, solvent-free polymeric gaseous polymerization down and under the polymerization temperature more than 140 ℃, at coexistence of polyethylene wax and solvent or polymeric solution polymerization process etc. under the fused state separately, wherein from economy and quality the two, with solution polymerization for well.
Polyreaction can adopt interrupter method or continuous processing to carry out.When implementing polymerization with intermittent mode, above-mentioned catalyst component uses under the concentration of following explanation.The concentration of the Metallocenic compound in the polymerization system is generally 0.00005~0.1 mmole/liter (polymerization volume), preferred 0.0001~0.05 mmole/liter.The feed rate of Organoaluminoxy compound, according to the aluminium atom with respect to the mol ratio (Al/ transition metal) of the transition metal in the Metallocenic compound in polymerization system meter, with 1~10000 for well, preferably with 10~5000 amount supply.The ionization ionic compound in the mol ratio (ionization ionic compound/Metallocenic compound) with respect to the ionization ionic compound of the Metallocenic compound in the polymerization system, with 0.5~20 for well, is preferably supplied with 1~10 amount.And under the situation of using organo-aluminium compound, its consumption is about 0~5 mmole/liter (polymerization volume) usually, preferred about 0~2 mmole/liter.
The temperature of polyreaction is generally under-20~150 ℃, is preferably 0~120 ℃, more preferably 0~100 ℃, pressure is above 0 and at 7.8MPa (80 kilogram force/square centimeters, gauge pressure) below, preferably surpass 0 and at 4.9MPa (50 kilogram force/square centimeters, gauge pressure) to carry out under the inferior condition.During polymerization, ethene and the alpha-olefin that uses in case of necessity are supplied to polymerization system with the quantitative proportion of the polyethylene-based wax that can obtain above-mentioned specific composition.And during polymerization, also can add hydrogen equimolecular quantity conditioning agent.In case make its such polymerization, the polymkeric substance of generation obtains with the polymer fluid form that contains it usually, so just can obtain polyethylene-based wax in case adopt well-established law to handle.In the polyreaction, the preferred especially catalyzer that contains at the Metallocenic compound shown in the Metallocenic compound example 6 that uses.
With the dewax that uses in the dewax composition, preferably use polyethylene-based wax as precision casting of the present invention, more preferably use ethene-alpha-olefin copolymer.The addition of polyethylene-based wax is generally 5~50 weight % with respect to the dewax composition, preferred 5~20 weight %.Polyethylene-based wax is lower than under the situation of 5 weight %, made dewax mold strength deficiency, and surface quality is bad.When surpassing under the situation of 50 weight %, when the dewax model is shaped and the release property of mould poor, the crackle that produces on the housing is also many, and the dimensional stability of the dewax model of making is also bad.In the addition scope of polyethylene-based wax of the present invention, in case increase polyethylene-based wax amount, dimensional stability and concave surface problem generally can improve, and bending strength increases the surface quality raising.
Precision casting of the present invention is with in the dewax composition, as the composition in the dewax composition beyond the polyethylene-based wax, so long as normally used resin does not just have special restriction, can use, for example can enumerate animal system, department of botany, oil system, the various wax classes of mineral system and synthetic system, alicyclic ring family hydrogenated tackifier, the rosin series resin, modified rosin resin or its carboxylate, aliphatics through-stone oleo-resinous, alicyclic through-stone oleo-resinous, aromatic series through-stone oleo-resinous, the copolymerized petroleum resin of aliphatics composition and aromatic component, low molecular weight phenylethylene are resin, the isoprene resin, alkyl phenolic resin, terpine resin, coumarone indene are resin etc.Resin among the present invention beyond these polyethylene waxs can be used alone or be used in combination.
The precision casting that contains polyethylene-based wax dewax composition of the present invention, generally can adopt in the method injection models such as injection forming and obtain the dewax mould, because the solidification shrinkage rate of this dewax mould and concave surface are all less and the dimensional precision height, bending strength is also high simultaneously, is used for large-scale dewax model so can have no obstacle ground.And because of it is surperficial upward few level and smooth by line of flow wrinkle that causes and the bubble that is involved in, so help very much the raising of product quality.And can reclaim after this dewax composition use, its basic wax also can be used repeatedly again.
The dewax model that will obtain like this according to conventional method is immersed in the refractory materials slurries, before slurry dried, sprinkle fire resisting material particle, cover the dewax model with fire resisting material particle, repeat this operation, finally cover and be dried with slurries, directly or with its be contained in support in the model framework and dry after, with wherein dewax composition heating and melting and discharge, make the hole (formation of model) of grand master pattern, after mold burnt till the molten metal of inflow is solidified, knockout cuts off cast gate, obtains required precision casting through after the finishing.When adopting the dewax model that contains polyethylene-based wax of the present invention, when this dewax model stripping is formed model,,, can access the precision casting product so shell can not crack because thermal expansivity is little.
Embodiment
Below utilize embodiment that the present invention is done more specifically explanation, but the present invention is not subjected to any restriction of these embodiment.Part of putting down in writing among these embodiment wherein, only otherwise specialize and all refer to weight part.
Wherein, below the rerum natura of the polyethylene-based wax of record is measured in order to following method.
Limiting viscosity [η]: limiting viscosity [η] is measured according to ASTM D161.
Mw/Mn: estimated the ratio (Mw/Mn) that utilizes weight-average molecular weight (Mw) that GPC measures and number-average molecular weight (Mn).Use Alliance2000 (Waters company) as the GPC determinator, use TSKgel GMH as post
6-HT * 2+TSKgel GMH
6Orthodichlorobenzene (with the pure medicine of light, special grade chemical) has been used as mobile phase in-HTL * 2 (be respectively 7.5 millimeters I.D. * 30 of diameter centimetre, eastern ソ-Co., Ltd.).Mensuration is to carry out under the condition of 140 ℃ of column temperature, mobile phase flow velocity 1.0 ml/min, has adopted differential refractometer in the detection.Adopted monodisperse polystyrene in the molecular weight calibration.
Mz/Mw: adopt and the same quadrat method of Mw/Mn, estimated the ratio (Mz/Mw) of z average molecular weight (Mz) and weight-average molecular weight (Mw).
Density: density is measured according to JIS K6760.
Softening temperature: softening temperature is to adopt JIS K2207 to measure.
Shrinking percentage: 180 ℃ of polyethylene-based waxes of following fused are injected metal die (rectangular parallelepiped of about 12 centimetres (X) * about 1 centimetre (Y) * about 1 centimetre (Z)), directly in 25 ℃ of thermostatic chambers, placed 24 hours.Take out the polyethylene-based wax of solidified then as the dimension measurement model.When measuring shrinking percentage, measure length with the vernier callipers size up with the X part of model after, obtain and metal die between size poor.
Pin is gone into hardness: pin is gone into hardness and is measured according to JIS K2207.
The acetone extract amount: the acetone extract flow measurement is as follows.At first go up the about 10 gram polyethylene wax powder (squares of 2 millimeter) that add metering at cylindrical filter paper (ADVANTEC No-84).Then the zeolite of metering is added in 200 milliliters the round-bottomed flask.In flask, add 150 milliliters of acetone, carried out 5 hours the tired special extraction of Suo Kesi.With extraction liquid evaporation, the round-bottomed flask after the evaporation and the round shape filter paper of putting into extraction residue is set in 80 ℃ dry about 3 hours of Vacuumdrier with temperature.Measuring the round-bottomed flask of putting into extract and the cylinder of putting into extraction residue respectively is filter paper.Calculate extraction quantity by each metering result.
Melt viscosity: the melt viscosity of wax is measured with Brookfield Viscometer under 140 ℃.
Acid number: acid number is measured according to JIS K5902.
Synthesized polyethylene-based wax with metalloscene catalyst in such a way.Make pack in the autoclave 920 milliliters of hexanes and 80 milliliters of 1-butylene at the SUS of 2 liters of the internal volumes that passes through abundant nitrogen replacement, import hydrogen and reach 0.95 kilogram/square centimeter until gauge pressure.Then temperature in the system is increased to 150 ℃, is pressed into 0.3 mmole triisobutyl aluminium, 0.004 mmole triphenylcarbenium four (pentafluorophenyl group) borate and 0.02 mmole (t-butyl carboxamide) dimethyl (tetramethyl--η with ethene afterwards
5-cyclopentadienyl) silane titanium dichloride (manufacturing of シ グ マ ア Le De リ Star チ Co., Ltd.), the beginning polymerization.Make total pressure remain on 30 kilograms/square centimeter (gauge pressures) by only supplying with ethene continuously then, under 150 ℃, carried out polymerization in 20 minutes.
After the interpolation small amount of ethanol stops polymerization in system, unreacted ethene of eccysis and 1-butylene.With the polymers soln that obtains 100 ℃ of one evenings of following drying under reduced pressure.Its result is as shown in table 1, and [η]=0.24dl/g, Mw/Mn=3.1, Mz/Mw=1.6, the density that obtained 42.5 grams are that 902 kilograms per cubic meter, softening temperature are that 98 ℃, acetone extract amount are that to go into hardness be that 6dmm, shrinking percentage are 0.70 polyethylene-based wax (sample 1) for 4.4 weight %, pin.
Except 910 milliliters of hexanes and the 90 milliliters of 1-butylene of in embodiment 1, packing into, import hydrogen in addition until 0.88 kilogram/square centimeter (gauge pressure), carried out polymerization similarly to Example 1.Its result is as shown in table 1, and [η]=0.39dl/g, Mw/Mn=3.6, Mz/Mw=1.7, the density that obtained 36.2 grams are that 895 kilograms per cubic meter, softening temperature are that 93 ℃, acetone extract amount are that to go into hardness be that 7dmm, shrinking percentage are 0.34 polyethylene-based wax (sample 2) for 2.9 weight %, pin.
Except 915 milliliters of hexanes and the 85 milliliters of 4-methyl-1-pentenes of in embodiment 1, packing into, import hydrogen in addition until 0.93 kilogram/square centimeter (gauge pressure), carried out polymerization similarly to Example 1.Its result is as shown in table 1,52.2 gram [η]=0.22dl/g, Mw/Mn=2.9 have been obtained, Mz/Mw=1.6, density is that 903 kilograms per cubic meter, softening temperature are that 103 ℃, acetone extract amount are that to go into hardness be that 5dmm, shrinking percentage are 0.82 polyethylene-based wax (sample 3) for 4.2 weight %, pin.
Embodiment 4
Except 910 milliliters of hexanes and the 90 milliliters of 4-methyl-1-pentenes of in embodiment 1, packing into, import hydrogen in addition until 0.88 kilogram/square centimeter (gauge pressure), carried out polymerization similarly to Example 1.Its result is as shown in table 1, and having obtained 44.1 gram [η]=0.36dl/g, Mw/Mn=3.0, Mz/Mw=1.6, density and be 882 kilograms per cubic meter, softening temperature and be 91 ℃, acetone extract amount and be 2.3 weight %, pin, to go into hardness be that 10dmm, shrinking percentage are 0.25 polyethylene-based wax (sample 4).
Comparative example 1
With the ethene butene-1 copolymer (the Mitsui Chemicals manufacturing, Off マ-A20090) is supplied to the single shaft extrusion machine, on one side add thermal destruction on one side 400 ℃ of extruding.Its result is as shown in table 1, and having obtained [η]=0.24dl/g, Mw/Mn=2.4, Mz/Mw=1.6, density and be 901 kilograms per cubic meter, softening temperature and be 94 ℃, acetone extract amount and be 4.8 weight %, pin, to go into hardness be that 13dmm, shrinking percentage are 1.32 polyethylene-based wax (sample 5).
Comparative example 2
High-pressure polyethylene is that the rerum natura of wax (イ-ス ト マ Application ケ ミ カ Le makes, エ Port-レ Application C-10P) is: [η]=0.36dl/g, Mw/Mn=3.6, Mz/Mw=3.3, density are that 906 kilograms per cubic meter, softening temperature are that 104 ℃, acetone extract amount are that to go into hardness be that 6dmm, shrinking percentage are 0.98 for 5.1 weight %, pin.
Put down in writing the rerum natura of the polyethylene-based wax that illustrates in embodiment and the comparative example in the table 1.
The rerum natura of table 1 polyethylene wax
The synthesis example of precision casting of the present invention with the polyethylene-based wax that uses in the dewax composition below is described.
Synthesis example 1
Synthesized polyethylene-based wax in such a way with metalloscene catalyst.Pack in the SUS of 2 liters of internal volumes that nitrogen was fully replaced system autoclave 970 milliliters of hexanes and 30 milliliters of propylene import hydrogen and reach 1.8 kilograms/square centimeter until gauge pressure.After then temperature in the system being increased to 150 ℃, be pressed into 0.3 mmole triisobutyl aluminium, 0.004 mmole triphenylcarbenium four (pentafluorophenyl group) borate and 0.02 mmole (t-butyl carboxamide) dimethyl (tetramethyl--η with ethene
5-cyclopentadienyl) silane titanium dichloride (manufacturing of シ グ マ ア Le De リ Star チ Co., Ltd.), the beginning polymerization.Only supply with ethene then continuously and make total pressure remain on 30 kilograms/square centimeter (gauge pressures), under 150 ℃, carried out polymerization in 20 minutes.
After the interpolation small amount of ethanol stops polymerization in system, unreacted ethene of eccysis and propylene.With the polymers soln that obtains 100 ℃ of one nights of following drying under reduced pressure.It is that 920 kilograms per cubic meter, softening temperature are 109 ℃, the polyethylene-based wax of Mw/Mn=1.9 that its result has obtained 85.5 gram [η]=0.07dl/g, density.
Above-mentioned synthetic operation is repeated 10 times, and, make sample 1 10 the polyethylene-based wax melting mixing of synthetic postcooling.
Synthesis example 2
In synthesis example 1,, and beyond hydrogen requirement is 1.3 kilograms/square centimeter, similarly synthesize with synthesis example 1 except 960 milliliters of hexanes and the 40 milliliters of propylene of packing into.It is that 922 kilograms per cubic meter, softening temperature are 105 ℃, the polyethylene-based wax of Mw/Mn=2.4 that its result has obtained 60.3 gram [η]=0.13dl/g, density.
Above-mentioned synthetic operation is repeated 10 times, and, make sample 2 10 the polyethylene-based wax melting mixing of synthetic postcooling.
In stainless steel vessel, add 30 parts of C5 unsaturated aliphatic hydrocarbon through-stone oleo-resinous (Mitsui Chemicals: Ha イ レ ッ Star T500, paraffin 135) and 10 parts of polyethylene-based waxes (sample 1) number-average molecular weight 1200), 20 parts of rosin series resins (are broadcast mill and are changed into industry: Ha リ エ ス -C), 40 parts of paraffin (Japanese smart wax:, heating and melting is 20~30 minutes under 120~130 ℃ of temperature, after fully stirring with Ah a few spy (ア ジ one) formula stirrer, obtained the dewax composition.
Except in embodiment 5, adopting sample 2, obtained the dewax composition similarly to Example 5 as the polyethylene-based wax.
Embodiment 7
Except in embodiment 5, adopting low molecular weight polyethylene HW210P (Mitsui Chemicals), obtained the dewax composition similarly to Example 5 as the polyethylene-based wax.
Except in embodiment 5, adopting oxidized form low molecular weight polyethylene HW210MP (Mitsui Chemicals), obtained the dewax composition similarly to Example 5 as the polyethylene-based wax.
Comparative example 3
Except 10 parts of polyethylene-based waxes that will use among the embodiment 5 change over 10 parts of low molecular weight polyethylene HW4202E (Mitsui Chemicals), obtained the dewax composition similarly to Example 5.
Comparative example 4
Except 10 parts of polyethylene-based waxes that will use among the embodiment 5 change over 10 parts of low molecular weight polyethylene HW400P (Mitsui Chemicals), obtained the dewax composition similarly to Example 5.
Comparative example 5
Except 40 parts of paraffin will using among the embodiment 5 and 10 parts of polyethylene-based waxes (amounting to 50 parts) change over 50 parts of paraffin, obtained the dewax composition similarly to Example 5.
The dewax composition of embodiment 5~8 and comparative example 3~5, and the rerum natura of the polyethylene-based wax that uses is shown among table 2 and the table 3 respectively.
The composition and the rerum natura of table 2 dewax composition
The rerum natura of table 3 polyethylene wax
As shown in table 2, the dewax composition of embodiment 5~8 and comparative example 3,4, its bending strength is very good.But the dewax composition melt viscosity of comparative example 3 is high, so its molding condition can be restricted.
[injection forming test]
With the dewax composition of embodiment 5~8 and comparative example 3-5, carried out the injection forming test under the following conditions.
Wax temperature during the molding condition injection:
68 ℃: the dewax composition of embodiment 1~4, comparative example 1
80 ℃: the dewax composition of comparative example 2
58 ℃: the dewax composition of comparative example 3
Injection pressure: 30 kilogram force/square centimeters
Penetrate the hold-time: 10 seconds
The shape of the wax pattern of molding: as shown in Figure 1 and Figure 2,, and be formed separately five for dimension measurement is measured with these two kinds on model with model and concave surface.
With resulting dewax model, after placement made dimensional stabilizing in 24 hours in 25 ℃ of thermostatic chambers, shrinking percentage (%) and concave surface (m/m) have been measured.Measured dimension measurement with A, the B of model, the length of C part, from obtaining shrinking percentage with vernier callipers with the difference of metal pattern.In addition, when measuring concave surface, as benchmark, measured concave surface with dial indicator and measured the recess of a face with model, b face and fallen in how many m/m with peripheral part.Solidification shrinkage rate and concave surface are got the mean value of the measured value of each five model.In addition, the drag of each model surface line of flow that detected by an unaided eye and bubble the results are shown among the table 4.
Table 4
As shown in table 4, the dewax composition of embodiment 5~8 and comparative example 5, shown solidification shrinkage rate and concave surface are little, and dimensional precision is stable, and the line of flow and the bubble of generation are few, have the surface of good state.
Casting forming test:, utilize injection machine to make and have complicated shape shown in Figure 3 (1: axle, 2: gear part, 3: blade part, 4: bottom, 5: thruster model hemispherical pit) with the dewax composition of embodiment 5~8 and comparative example 3~5.Injecting condition is: 65 ℃ of wax temperature, injection pressure 30 kilogram force/square centimeters are injected 10 seconds of hold-time.
Made precision casting with the model that obtains then.That is to say, wax-pattern is immersed in the slurries of being made up of colloid silica, water, zircon flour, fused silica, mullite powder etc., do not sprinkle the sand of forming by zircon flour, zircon sand, aloxite, mullite powder etc. before the drying at slurries, like this after the repeatable operation six times, finally cover wax-pattern, 25 ℃ of dryings with slurries.Afterwards in autoclave with 7~9 kilograms/square centimeter, 150~160 ℃ heating and meltings 10 minutes, discharge the dewax composition, make mold.Visual observation the inside and outside crackle (cracked housing and transaxle) of mold.At 1050 ℃ this mold was burnt till 1 hour then, the molten metal of stainless steel (SUS 304) is flowed into wherein, knockout cuts off cast gate, has obtained foundry goods through after the precision work.
Be shown among the table 4 with the observations of the release property of model and cracked housing and transaxle.
The evaluation method of release property and cracked housing and transaxle is as follows.
Release property: which (testing three times mean value) what expression can not come off model during continuous molding after with solvent wash is.
Cracked housing and transaxle:
Greatly: cracked housing and transaxle is a lot
In: cracked housing and transaxle is many slightly
Little: as almost not produce cracked housing and transaxle.
As shown in table 4, the dewax composition of embodiment 5~8 and comparative example 3,4, its release property is good.In addition, the dewax composition of embodiment 5~8 and comparative example 5, its cracked housing and transaxle is few.
The possibility of utilizing on the industry
Polyethylene-based wax of the present invention has low-shrinkage and high rigidity, and it is also few to be clamminess. Therefore, can Perform well among the purposes such as hot melt, dewax.
In addition, the dewax composition that contains polyethylene-based wax of the present invention has the following advantages.
Dimensional accuracy is good, and namely solidification shrinkage rate and concave surface (depression of even surface) are little, with taking off of mould Mould is good, and the surface state of wax-pattern is good, and good fluidity can repeatedly recycle after the use, The bending strength height, the crackle of housing is few when making mold.
Claims (5)
1. precision casting dewax composition, wherein contain meet the following conditions (i)~(iv) and utilize Z-type catalyst or polyethylene-based wax that the metallocenes series catalysts obtains and
Be selected from the wax class of animal system, department of botany, oil system, mineral system and synthetic system, alicyclic ring family hydrogenated tackifier, rosin series resin, modified rosin resin or its carboxylate, aliphatics through-stone oleo-resinous, alicyclic through-stone oleo-resinous, aromatic series through-stone oleo-resinous, the copolymerized petroleum resin of aliphatics composition and aromatic component, low molecular weight phenylethylene is a resin, the isoprene resin, alkyl phenolic resin, terpine resin, coumarone indene is at least a kind of resin in the resin
(i) multipolymer of Alathon or ethene and at least a alkene from carbonatoms is 3~20 alpha-olefin, selected,
(ii) the ratio Mw/Mn with the weight-average molecular weight Mw of gel permeation chromatography and number-average molecular weight Mn is 1.7~4.0,
(iii) softening temperature is below 125 ℃,
(iv) to go into hardness be below the 15dmm to pin.
2. according to the described precision casting of claim 1 dewax composition, the multipolymer of homopolymer that wherein said polyethylene-based wax is ethene or ethene and at least a alkene from carbonatoms is 3~20 alpha-olefin, selected, and with the ratio Mw/Mn of the weight-average molecular weight Mw of gel permeation chromatography and number-average molecular weight Mn in 1.7~3.3 scope, softening temperature is in 88~125 ℃ of scopes, it is below the 7dmm that pin is gone into hardness, and the limiting viscosity of measuring in 135 ℃ perhydronaphthalene [η] is in the scope of 0.05~0.20dl/g.
3. according to the described precision casting of claim 1 dewax composition, the content of wherein said polyethylene-based wax is 5~50 weight %.
4. according to the described precision casting of claim 1 dewax composition, the acid number of wherein said polyethylene-based wax is below the 5.0KOHmg/g.
5. the making method of a model for precision casting is characterized in that wherein having used the described precision casting of claim 1 dewax composition.
Applications Claiming Priority (3)
| Application Number | Priority Date | Filing Date | Title |
|---|---|---|---|
| JP2003177923A JP2005013998A (en) | 2003-06-23 | 2003-06-23 | Lost-wax composition for precision casting and method for making pattern for precision casting |
| JP2003177923 | 2003-06-23 | ||
| JP2003337536 | 2003-09-29 |
Related Parent Applications (1)
| Application Number | Title | Priority Date | Filing Date |
|---|---|---|---|
| CN200480017722.2A Division CN1813009B (en) | 2003-06-23 | 2004-06-21 | Polyethylene wax, lost wax composition for precision casting containing the same, and method for producing mold for precision casting |
Publications (1)
| Publication Number | Publication Date |
|---|---|
| CN101538383A true CN101538383A (en) | 2009-09-23 |
Family
ID=34179704
Family Applications (2)
| Application Number | Title | Priority Date | Filing Date |
|---|---|---|---|
| CN200480017722.2A Expired - Lifetime CN1813009B (en) | 2003-06-23 | 2004-06-21 | Polyethylene wax, lost wax composition for precision casting containing the same, and method for producing mold for precision casting |
| CNA2009101347422A Pending CN101538383A (en) | 2003-06-23 | 2004-06-21 | Lost-wax composition for precision casting and method for making pattern for precision casting |
Family Applications Before (1)
| Application Number | Title | Priority Date | Filing Date |
|---|---|---|---|
| CN200480017722.2A Expired - Lifetime CN1813009B (en) | 2003-06-23 | 2004-06-21 | Polyethylene wax, lost wax composition for precision casting containing the same, and method for producing mold for precision casting |
Country Status (2)
| Country | Link |
|---|---|
| JP (1) | JP2005013998A (en) |
| CN (2) | CN1813009B (en) |
Cited By (5)
| Publication number | Priority date | Publication date | Assignee | Title |
|---|---|---|---|---|
| CN102310165A (en) * | 2011-10-13 | 2012-01-11 | 李华山 | Clay core air channel rope |
| CN102554120A (en) * | 2012-03-02 | 2012-07-11 | 丽水市实达机械制造有限公司 | Process for preparing plastic foam pattern for lost foam casting |
| CN104759587A (en) * | 2015-03-31 | 2015-07-08 | 东莞理工学院 | Precision casting wax die material and preparation method thereof |
| CN110548834A (en) * | 2019-10-15 | 2019-12-10 | 湖北觉辰工艺有限公司 | Preparation method of bronze statue |
| CN113308123A (en) * | 2021-05-12 | 2021-08-27 | 青岛新诺科铸造材料科技有限公司 | Method for casting wax by controlling reaction time and reaction temperature process |
Families Citing this family (5)
| Publication number | Priority date | Publication date | Assignee | Title |
|---|---|---|---|---|
| DE102007022118A1 (en) * | 2007-05-11 | 2008-11-13 | Clariant International Limited | Metallocene catalyzed polyolefins in wax formulations and their use for the investment casting / investment casting process |
| JP2014524505A (en) * | 2011-08-25 | 2014-09-22 | ハンワ ケミカル コーポレイション | Process for the preparation of polyethylene waxes using metallocene catalysts |
| EP2921682B1 (en) | 2012-11-19 | 2019-05-29 | Toyota Jidosha Kabushiki Kaisha | Control device for internal combustion engine |
| CN104415528B (en) * | 2013-08-21 | 2016-10-26 | 荣和丽科技(深圳)有限公司 | A kind of cast side-wall ski |
| JP2018065925A (en) * | 2016-10-19 | 2018-04-26 | 富士通株式会社 | Wax for processing and method for producing prototype of dental prosthesis |
-
2003
- 2003-06-23 JP JP2003177923A patent/JP2005013998A/en active Pending
-
2004
- 2004-06-21 CN CN200480017722.2A patent/CN1813009B/en not_active Expired - Lifetime
- 2004-06-21 CN CNA2009101347422A patent/CN101538383A/en active Pending
Cited By (7)
| Publication number | Priority date | Publication date | Assignee | Title |
|---|---|---|---|---|
| CN102310165A (en) * | 2011-10-13 | 2012-01-11 | 李华山 | Clay core air channel rope |
| CN102554120A (en) * | 2012-03-02 | 2012-07-11 | 丽水市实达机械制造有限公司 | Process for preparing plastic foam pattern for lost foam casting |
| CN102554120B (en) * | 2012-03-02 | 2013-12-11 | 丽水市实达机械制造有限公司 | Process for preparing plastic foam pattern for lost foam casting |
| CN104759587A (en) * | 2015-03-31 | 2015-07-08 | 东莞理工学院 | Precision casting wax die material and preparation method thereof |
| CN110548834A (en) * | 2019-10-15 | 2019-12-10 | 湖北觉辰工艺有限公司 | Preparation method of bronze statue |
| CN110548834B (en) * | 2019-10-15 | 2020-12-18 | 湖北觉辰工艺有限公司 | Preparation method of bronze statue |
| CN113308123A (en) * | 2021-05-12 | 2021-08-27 | 青岛新诺科铸造材料科技有限公司 | Method for casting wax by controlling reaction time and reaction temperature process |
Also Published As
| Publication number | Publication date |
|---|---|
| CN1813009A (en) | 2006-08-02 |
| JP2005013998A (en) | 2005-01-20 |
| CN1813009B (en) | 2010-06-02 |
Similar Documents
| Publication | Publication Date | Title |
|---|---|---|
| CN1813009B (en) | Polyethylene wax, lost wax composition for precision casting containing the same, and method for producing mold for precision casting | |
| CN109415450A (en) | Support type mixes metallocene catalyst and the polyolefin resin outstanding using its processability | |
| CN102753590B (en) | Novel trimodal polyethylene for use in blow moulding | |
| AU2003229719B2 (en) | Polyethylene pipe resins | |
| US7037977B2 (en) | Polyethylene pipe resins and production thereof | |
| CN100427539C (en) | Polyethylene pipe resin and preparation method thereof | |
| JP2019515097A (en) | High density ethylene-based polymer using hybrid supported metallocene catalyst and method of preparation | |
| CN101835536B (en) | Polyethylene compositions having improved properties | |
| CN101939343A (en) | Method for controlling bimodal catalyst activity during polymerization | |
| CN101528784A (en) | Process for producing syndiotactic propylene polymer | |
| KR100327180B1 (en) | Propylene polymer composition and thermoformed object | |
| EP3653653A1 (en) | High-density ethylene-based polymer using hybrid supported metallocene catalyst, and pipe using same | |
| BRPI0611231A2 (en) | ethylene copolymer and an alpha olefin, method for preparing copolymers, rotomodulated article and use of a copolymer prepared by use of a metallocene monocyclopentadienyl catalyst component | |
| JP2005523954A (en) | Rotation molded product made of polyethylene | |
| CN106188366A (en) | There is the POE of homogeneous comonomer distribution | |
| US20060142623A1 (en) | Polyethylene wax, lost wax composition for precision casting containing the same, and method for forming model for precision casting | |
| EP3651959B1 (en) | Injection-molded articles comprising metallocene-catalyzed polyethylene resin | |
| JP2017186515A (en) | Polyethylene resin composition, and molded body and container of the same | |
| US20090126603A1 (en) | Wax and polymer formulations comprising metallocene-catalyzed polyolefins with and without filler which are particularly suitable for cutting model production processes and also their use for precision casting processes, hollow core production, especially in the dental, jewelry and precision engineering sectors | |
| US20240191011A1 (en) | ETHYLENE-alpha-OLEFIN COPOLYMER, THERMOPLASTIC RESIN COMPOSITION, AND FILM | |
| CN102015782B (en) | Methods for preparing catalyst systems | |
| JP2005105050A (en) | Polyethylene-based wax having low shrinkage rate and high rigidity | |
| CA2748723C (en) | Article coated with a composition comprising polyethylene prepared with a single site catalyst | |
| KR20010024967A (en) | Water barrier sheet | |
| CN109071721A (en) | Ethylene/alpha-olefin copolymer with excellent machinability |
Legal Events
| Date | Code | Title | Description |
|---|---|---|---|
| C06 | Publication | ||
| PB01 | Publication | ||
| C10 | Entry into substantive examination | ||
| SE01 | Entry into force of request for substantive examination | ||
| C02 | Deemed withdrawal of patent application after publication (patent law 2001) | ||
| WD01 | Invention patent application deemed withdrawn after publication |
Open date: 20090923 |










