CN101525204B - Method for treating village sewage and specific device thereof - Google Patents

Method for treating village sewage and specific device thereof Download PDF

Info

Publication number
CN101525204B
CN101525204B CN2009100828529A CN200910082852A CN101525204B CN 101525204 B CN101525204 B CN 101525204B CN 2009100828529 A CN2009100828529 A CN 2009100828529A CN 200910082852 A CN200910082852 A CN 200910082852A CN 101525204 B CN101525204 B CN 101525204B
Authority
CN
China
Prior art keywords
ponds
sewage
water
pond
multimedium
Prior art date
Legal status (The legal status is an assumption and is not a legal conclusion. Google has not performed a legal analysis and makes no representation as to the accuracy of the status listed.)
Expired - Fee Related
Application number
CN2009100828529A
Other languages
Chinese (zh)
Other versions
CN101525204A (en
Inventor
李仰斌
谢崇宝
张国华
籍国东
周游
Current Assignee (The listed assignees may be inaccurate. Google has not performed a legal analysis and makes no representation or warranty as to the accuracy of the list.)
Beijing Zhongguan Lvyuan International Consulting Co Ltd
CHINA IRRIGATION AND DRAINAGE DEVELOPMENT CENTER
Peking University
Original Assignee
Beijing Zhongguan Lvyuan International Consulting Co Ltd
CHINA IRRIGATION AND DRAINAGE DEVELOPMENT CENTER
Peking University
Priority date (The priority date is an assumption and is not a legal conclusion. Google has not performed a legal analysis and makes no representation as to the accuracy of the date listed.)
Filing date
Publication date
Application filed by Beijing Zhongguan Lvyuan International Consulting Co Ltd, CHINA IRRIGATION AND DRAINAGE DEVELOPMENT CENTER, Peking University filed Critical Beijing Zhongguan Lvyuan International Consulting Co Ltd
Priority to CN2009100828529A priority Critical patent/CN101525204B/en
Publication of CN101525204A publication Critical patent/CN101525204A/en
Application granted granted Critical
Publication of CN101525204B publication Critical patent/CN101525204B/en
Expired - Fee Related legal-status Critical Current
Anticipated expiration legal-status Critical

Links

Images

Classifications

    • YGENERAL TAGGING OF NEW TECHNOLOGICAL DEVELOPMENTS; GENERAL TAGGING OF CROSS-SECTIONAL TECHNOLOGIES SPANNING OVER SEVERAL SECTIONS OF THE IPC; TECHNICAL SUBJECTS COVERED BY FORMER USPC CROSS-REFERENCE ART COLLECTIONS [XRACs] AND DIGESTS
    • Y02TECHNOLOGIES OR APPLICATIONS FOR MITIGATION OR ADAPTATION AGAINST CLIMATE CHANGE
    • Y02WCLIMATE CHANGE MITIGATION TECHNOLOGIES RELATED TO WASTEWATER TREATMENT OR WASTE MANAGEMENT
    • Y02W10/00Technologies for wastewater treatment
    • Y02W10/10Biological treatment of water, waste water, or sewage

Landscapes

  • Biological Treatment Of Waste Water (AREA)
  • Purification Treatments By Anaerobic Or Anaerobic And Aerobic Bacteria Or Animals (AREA)

Abstract

本发明公开了一种乡村污水处理方法及其专用装置,所述专用装置包括潜污泵及与之相连的多功能折流处理模块,所述多功能折流处理模块顺次包括1-3号池三个厌氧单元、4-5号池两个好氧单元和6号池一个沉淀单元,它们之间通过管道连接;厌氧单元均设有排气孔,好氧单元内均设有悬空的上、下钢丝网,钢丝网之间的隔室内填充填料,下层的钢丝网上设有与曝气机相连的布气孔。所述方法的具体操作步骤详见说明书。本发明所述的方法及专用装置是综合运用沉淀、过滤等物理处理技术和厌氧氧化、好氧氧化等生化处理技术,使污水中的有机物得以降解,无机盐得以固定,氮磷等营养物得以降低,具有水力负荷大并且处理后水质好的优点,特别适合我国的国情需要。

Figure 200910082852

The invention discloses a rural sewage treatment method and a special device thereof. The special device includes a submersible sewage pump and a multifunctional baffle treatment module connected thereto. The multifunctional baffle treatment module sequentially includes No. 1-3 There are three anaerobic units in the pool, two aerobic units in the No. 4-5 pool, and a sedimentation unit in the No. 6 pool. The upper and lower steel wire meshes, the compartments between the steel meshes are filled with fillers, and the lower steel meshes are provided with air distribution holes connected with the aerator. The specific operation steps of the method are detailed in the instructions. The method and the special device of the present invention comprehensively use physical treatment technologies such as sedimentation and filtration, and biochemical treatment technologies such as anaerobic oxidation and aerobic oxidation, so that organic matter in sewage can be degraded, inorganic salts can be fixed, and nutrients such as nitrogen and phosphorus can be degraded. It can be reduced, has the advantages of large hydraulic load and good water quality after treatment, and is especially suitable for my country's national conditions.

Figure 200910082852

Description

A kind of rural sewage water treatment method and isolated plant thereof
Technical field
The present invention relates to the device and method of WWT, particularly a kind of rural sewage water treatment method and isolated plant thereof specifically adopt multi-functional baffling combination biological filter processing mode.
Background technology
For a long time; The living drainage of vast Rural areas, domestic refuse and the agricultural wastes problem of discharging arbitrarily do not cause basic attention; Human and animal excreta, domestic refuse and living drainage the like waste major part do not obtain handling; Arbitrarily be deposited in road both sides, the edge of a field, pool irrigation canals and ditches or directly be discharged in the water bodys such as rivers and canals; Make " sewage disorderly sprinkles, rubbish disorderly falls, muck huddles, faggot is disorderly stamped, livestock and poultry run chaotically ", " indoor modernization, outdoor filthy " become the real picture of some rural ecological environment.According to statistics, the village of China 96% does not have discharge conduit and Sewage treatment systems at present, and productive life sewage arbitrarily discharges, and has become the important restraining factors of rural area waterhead area potential potential safety hazard, new socialist countryside harmonious development.Undressed domestic sewage in rural areas by using on the one hand, is a rural potable water seedbed potential potential safety hazard; On the other hand, wherein containing more nitrogen and phosphorus, also is one of major reason of rivers and lakes eutrophication.Therefore; Strengthen life in the countryside drainage collection, processing and resource utilization Facilities Construction; Avoiding guaranteeing that because of sewage directly discharges the pollution that causes rural area water body, soil and agricultural-food water source, rural area safety and peasant are healthy, is an important content strengthening infrastructure, advance the village renovation in the new countryside construction; Also be current rural people's habitat environment improvement urgent need of needing to solve, the most urgently, distinct issues, have important practical significance.
Yet the mode of focusing on a large scale of China's city domestic sewage employing at present is not suitable for applying in vast Rural areas, mainly shows as: large-scale centralized treatment plant needs bigger construction cost be used for setting up complicated network of drains.In the very low area of the density of population, this investment exceeds an one magnitude with the gross investment of ratio sewage treatment plant.Particularly in the Rural areas, the crowd that lives relatively disperses, and this expense will be higher.In addition, the pipeline rehabilitation expense is also very expensive.The ecological wastewater processing technology is low because of its construction costs, working cost is few, construction material is easy to get, good the receiving of easy and simple to handle, treatment effect both domestic and externally generally paid attention to, and the many countries that comprise states such as U.S.A, day, English, method, Russia are all at extensive this technical finesse living drainage of employing.China is in " the Seventh Five-Year Plan ", " eight or five ", " 95 " and Tenth Five-Year Plan Period; Domestic many scientific research institutions have carried out the experimental study and the engineering demonstration of a large amount of employing unregulated power anaerobism and the draining of ecotechnology processing small town living, sub-district living drainage and industrial water drainage, have obtained multinomial dissimilar Ecological Disposal practical technique with independent intellectual property right.These units have successively carried out under the primary ambient condition; Serial ecotechnologys such as artificial swamp, hollow billet infiltration and quick diafiltration are handled the feasibility of urban life draining; Obtained serial important parameter, and in Jiaxing, different areas such as Shenyang, Shenzhen and Panjin have carried out the engineering demonstration.But; The characteristics of life in the countryside draining be disperse, amount is little, away from gregarious and big water body, water environment capacity is little and level of management are low; Handle if these technology are applied to the life in the countryside draining, have also that the pollutant removal flux is low, fluctuation of service, matrix filtrate are prone to stop up all the year round, dephosphorization removing nitric efficiency is poor, working cost is high or waste the restriction bottleneck of technical elements such as land resources.
Summary of the invention
The objective of the invention is defective to above-mentioned prior art; A kind of rural sewage water treatment method and isolated plant thereof are provided, and this method and isolated plant are physical treatment technology and biochemical processings such as anaerobic oxidation, aerobic oxidation such as integrated use deposition, filtration, make the organism in the sewage be able to degraded; Inorganic salt are able to fix; Nutrition such as nitrogen phosphorus are minimized, and have the big and good advantage of processing back water quality of hydraulic load, are particularly suitable for the national conditions needs of China.
The technical scheme taked of the present invention is to achieve these goals: a kind of rural WWT isolated plant; Comprise submersible sewage pump and coupled multi-functional baffling processing module; Said multi-functional baffling processing module comprises six ponds in order according to the drainage flow direction; Be respectively three anaerobic unit, two aerobic units and a precipitation unit, adjacent processing unit connects through duct segments; Wherein No. 1 pond, No. 2 ponds and No. 3 ponds are that anaerobic unit and each unit are equipped with venting hole, and submersible sewage pump connects No. 1 pond, is provided with the three-phase sparger in No. 3 ponds; No. 4 ponds and No. 5 ponds are to be equipped with unsettled upper and lower woven wire in aerobic unit and the pond; Upper and lower woven wire forms and fills the filler that is used for aerobic reaction in compartment, the compartment; The woven wire of lower floor is provided with qi-emitting hole, and qi-emitting hole links to each other with aerator through gas distribution pipe; No. 6 ponds are precipitation unit.Said multi-functional baffling processing module integrates functions such as septic tank, anaerobic treatment, aerobic treatment, biological floating bed, deposition, and the organism in the sewage changes into harmless material under the anaerobic and aerobic action of microorganisms.
For effluent quality is done advanced treatment; Described rural WWT isolated plant; Also comprise the ecological filtration module of the multimedium that is connected with said multi-functional baffling processing module water outlet through pipeline, the ecological filtration module of multimedium is the filter tank of containing the multimedium filter material layer.The ecological filtration module of multimedium is as the advanced treatment unit of multi-functional baffling processing module; Can further remove total nitrogen, total phosphorus, suspended substance and COD (Chemical Oxygen Demand COD) in the sewage, make effluent quality satisfy " urban wastewater treatment firm pollutant emission standard " (GB18918-2002) secondary standard.
Described rural WWT isolated plant, the top of the ecological filtration module of multimedium is the aeration material, is specially the macroporous netlike carrier; The filler of bottom is formed by 4 layers at least.The bottom of each layer filler is permeable filtering layer, and the top is the multimedium filter material layer; Wherein, the multimedium filter material layer at each layer top is that multimedium filtrate and permeable filtrate are alternately filled, and this promptly forms " article " font and fills.As preferably; The weighting material of said multimedium filter material layer is the multimedium filtrate; Function haydite with synthetic is main, is aided with the modified zeolite of particle diameter greater than 2mm, and function haydite and particle diameter are volume ratio 1: 10~5: 1 greater than the filling proportional range of the modified zeolite of 2mm.The weighting material of permeable filtering layer is permeable filtrate, is that gravel and the particle diameter of 3-40mm formed greater than the modified zeolite of 2mm by particle diameter, and median size is that gravel and the particle diameter of 10mm is volume ratio 10: 1~1: 1 greater than the filling ratio of the modified zeolite of 2mm.
In order to prolong the treatment time of sewage, the pipeline that connects between the said unit is the baffling pipe.
The discharge of mud for ease, said unit is provided with mudhole near at.
In order to prevent that bio-reactor from stopping up and further improve the active sludge nitric efficiency that said filler is the urethane filler of coarse pored.
In order to disperse the impact of current, further precipitate the mud in the sewage, the baffling pipe that stretches in said No. 6 ponds is a water spraying pipe, the port of water spraying pipe is horn-like.
The present invention also comprises a method, is the rural sewage water treatment method according to described rural WWT isolated plant, specifically comprises the steps:
Steps A is sewage transport to 1 pond, and via No. 1 Chi Yanyangyanghuachiization excrement with regulate water conditioning;
The sewage that handled in No. 1 pond of step B warp gets into No. 2 Chi Yanyangyanghuachi through pipeline and carries out anaerobic treatment;
The sewage that step C handled through No. 2 ponds gets into No. 3 Chi Yanyangyanghuachi through pipeline, in No. 3 ponds, under the effect of three-phase sparger water, mud, gas is separated, and water gets into No. 4 ponds through piping, and at the bottom of sludge settling to the pond, gas passes through the venting port discharge;
The sewage that handled in No. 3 ponds of step D warp gets into No. 4 Chi Youyangyanghuachi through pipeline, aeration is carried out in No. 4 ponds do the aerobic oxidation processing;
Step e sewage gets into No. 5 Chi Youyangyanghuachi through pipeline, repeats above-mentioned steps D;
Get into the ponds deposition No. 6 behind the sewage that step F was handled through No. 5 ponds, further precipitate the suspended substance of sewage, the final treating water that satisfies standard-required of discharging.
Described method is to integrate functions such as septic tank, anaerobic treatment, aerobic treatment, biological floating bed, deposition, makes the organism in the sewage under the anaerobic and aerobic action of microorganisms, change into harmless material.
Said rural sewage water treatment method; Also comprise operational process through the ecological filtration module of multimedium; Concrete is sewage is through the water distributor of filtering basin filling surface " article " font filter material layer through being made up of multimedium filter material layer and permeable filtering layer step by step, discharges behind the water leg bottom the entering filter tank.When sewage was flowed through the multimedium ecological filter through multi-functional baffling processing module, pollutent was by the interception of multimedium filtrate and be adsorbed on its surface, and mikrobe utilizes organism to carry out growth and breeding, and attached to forming microbial film on the filtrate.Through after a while, microbial film is ripe, perches organism that the mikrobe on microbial film shows to flow through as nutrition, to the organism in the sewage adsorb, decomposing oxidation, thereby the sewage that flows through ecological filter is purified.
Said rural sewage water treatment method, wherein, the aeration among said step D and the E adopts the intermittent aeration mode.Employing helps the intermittent aeration mode of denitrification denitrogenation, and aeration rate is merely 1/3~1/5 of ordinary activated sludge and fixed-bed reactor.
Beneficial effect of the present invention can be summarized as following five aspects:
1. compare prior art, the multi-functional baffling processing module in the rural WWT isolated plant according to the invention has the strong characteristics of the organism ability of removal as the pretreatment unit of the ecological filtration module of multimedium; Efficiently solve that microbial film internal layer anaerobion breeds in a large number in the multimedium ecological filter because of higher organic concentration in the sewage causes; Produce anaerobism differential hydrolysis products, thereby influence the problem of effluent quality, the while also can effectively solve because of microbial film blocked up; Make that hole diminishes between filtrate; Filter tank ventilation situation variation influences the entering of oxygen, even causes the filtrate blocking problem.
2. compare prior art; The ecological filtration module of multimedium in the rural WWT isolated plant according to the invention is as the advanced treatment unit of multi-functional baffling processing module; Can further remove total nitrogen, total phosphorus, suspended substance and COD in the sewage, make effluent quality satisfy " urban wastewater treatment firm pollutant emission standard " (GB18918-2002) secondary standard.
3. compare prior art; Multi-functional baffling processing module in the rural WWT isolated plant according to the invention has simultaneously that septic tank, anaerobism suspend, biological floating bed and settling tank function, integrates anaerobism, aerobic processes, has that floor space is little, initial cost is economized; Working cost low (or nothing); Be difficult for to stop up, convenient management, do not have potential ecological security hidden danger, and can whole year operation etc. characteristics.
4. compare prior art, the ecological filtration module of multimedium in the rural WWT isolated plant according to the invention adopts " article " font stuffing means, reaches the trim point that can dependable flow can guarantee the residence time again.Multimedium filtering layer in the multimedium ecological filter is the water purification medium, and permeable filtering layer is a water stream channel, the function differentiation of water purification medium and water stream channel, and the reaction times that can increase pollutent can effectively prevent the obstruction of the ecological filtration module of multimedium again.
5. compare prior art; Rural sewage water treatment method according to the invention has been integrated sewage disposal technologies such as physical treatment process, anaerobic treatment method, activated sludge process and biomembrance process; Make the organism in the sewage be able to degraded, inorganic salt are able to fix, and nutrition such as nitrogen phosphorus are minimized; Have the big and good advantage of processing back water quality of hydraulic load, be particularly suitable for the national conditions needs of China.
Description of drawings
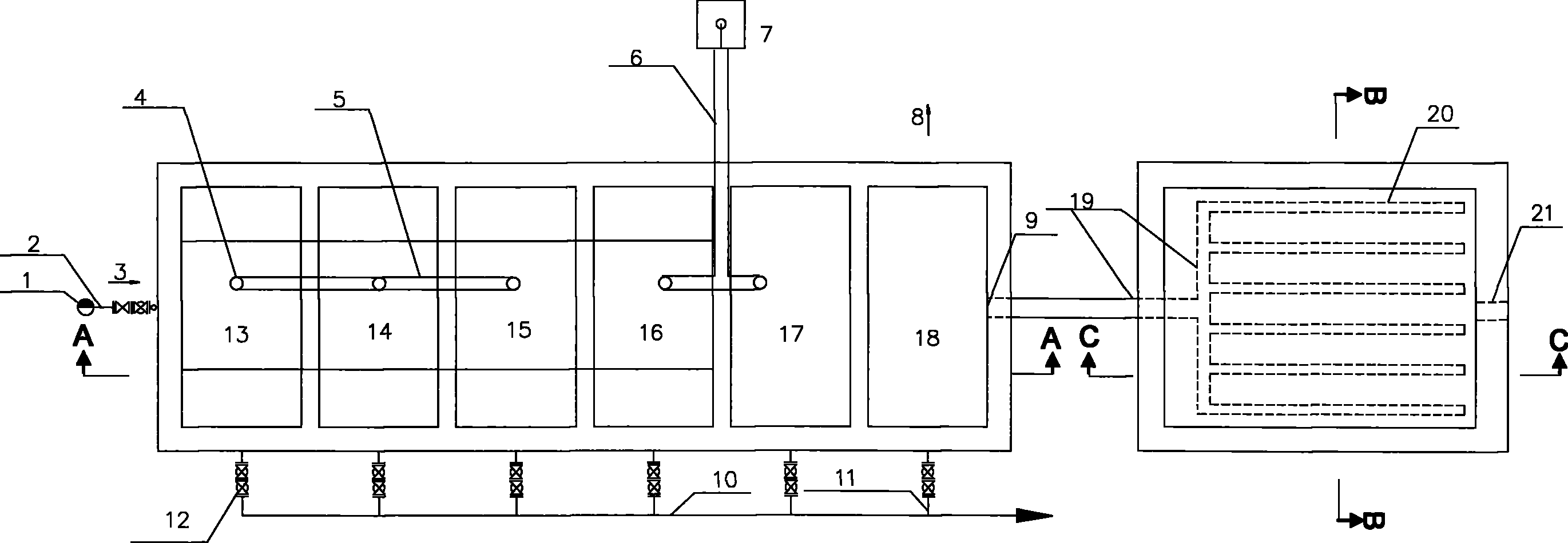
Fig. 1 is the plot plan of rural WWT isolated plant according to the invention;
Fig. 2 is along the sectional view of A-A line among Fig. 1;
Fig. 3 is along the sectional view of B-B line among Fig. 1;
Fig. 4 is along the sectional view of C-C line among Fig. 1.
1 submersible sewage pump, 2 waste pipes, 3 water inlet directions, 4 venting holes, 5 vapor pipes, 6 inlet pipe, 7 aerators; 8 water outlet directions, 9 multi-functional baffling processing module water outlets, 10 mud discharging house stewards, 11 mud discharging arms, 12 spoil disposal gate valves, No. 131 ponds, No. 142 ponds; No. 153 ponds, No. 164 ponds, No. 175 ponds, No. 186 ponds, 19 hydraulic pipes, 20 water distributors; 21 multimedium ecological filter treatment unit water outlets, 22 water inlet gate valves, 23 reverse checkvalves, 24 baffling pipes, 25 mudholes, 26 three-phase spargers; 27 woven wires, 28 gas distribution pipes, 29 urethane fillers, 30 qi-emitting holes, 31 wallsten stents, 32 pyramid type iron sheets; 33 water spraying pipe carriages, 34 water spraying pipe, 35 water legs, 36 permeable filtering layers, 37 multimedium filtering layers, 39 aeration materials.
Embodiment
Below in conjunction with accompanying drawing and specific embodiment the present invention is described further, but not as to qualification of the present invention.
Shown in Fig. 1-4, rural WWT isolated plant according to the invention, as most preferred embodiment, it comprises multi-functional baffling processing module and the ecological diafiltration module of multimedium.Its standard load: 24m 3/ d; Design maximum load: 48m 3/ d; Effluent quality: COD (Chemical Oxygen Demand COD)≤100mg/L, TSS (suspended substance)≤30mg/L, BOD (Biochemical Oxygen Demand biochemical oxygen demand)≤30mg/L, NH 3-N (ammonia nitrogen)≤25 (30) mg/L, total phosphorus≤3mg/L promptly satisfies " urban wastewater treatment firm pollutant emission standard " (GB18918-2002) secondary standard.
In this example; Multi-functional baffling processing module main part is a cylindricality; Pond by sizes such as 6 is formed; In order comprise No. 1 pond 13, No. 2 ponds 14, No. 3 pond 15 three anaerobic unit by water inlet direction 3 to water outlet direction 8 according to the drainage flow direction, 18 1 settling tank unit of No. 4 pond 17 2 aerobic units in 16, No. 5 ponds and No. 6 ponds are formed.Its whole outer profile size is length * wide * height: 7.15m * 2.4m * 2.4m.Adjacent unit is to connect through duct segments.In order to prolong the treatment time of sewage, said pipeline adopts baffling pipe 24 in this example.
Wherein, the working process of multi-functional baffling processing module is divided into following three phases substantially.
Fs, anaerobic treatment:
Shown in Fig. 1-2; Submersible sewage pump 1 connects No. 1 pond 13 through reverse checkvalve 23, water inlet gate valve 22 through waste pipe 2; Through the change excrement in No. 1 pond 13 and after regulating water quality, getting into 14, No. 2 ponds, No. 2 ponds 14 through baffling pipe 24 bafflings is the anaerobic oxidation pond; Getting into 15, No. 3 ponds, No. 3 ponds 15 through 14 backs, No. 2 ponds through baffling pipe 24 bafflings is the anaerobic oxidation pond.Three-phase sparger 26 has water, mud, the isolating function of gas in No. 3 ponds 15, thereby reduces sludge loss.Under the effect in No. 3 ponds 15, water gets into No. 4 ponds 16 through baffling pipe 24, and at the bottom of sludge settling to the pond, gas is discharged through venting hole 4 through vapor pipe 5.Above-mentioned anaerobic unit can be grown in the control environment separately acid-producing bacteria and methanogen respectively, helps the degraded of pollutent.
Place the granule sludge that has anerobes in the anaerobic unit, the organism in the sewage is carried out anaerobic oxidation.The anaerobic biological treatment method is to utilize facultative anaerobe and obligatory anaerobic bacteria that larger molecular organics in the sewage is degraded to low molecular compound, and then is converted into the organic wastewater treatment of methane, carbonic acid gas, is divided into two stages of acid digestion and alkaline digest.In the acid digestion stage.By the effect of acid-producing bacteria excretory exoenzyme, make larger molecular organics become simple organic acid and alcohols, aldehydes ammonia, carbonic acid gas etc.; In the alkaline digest stage, the meta-bolites of acid digestion further resolves into the biogas that methane, carbonic acid gas etc. constitute under the methanogen effect.This treatment process is mainly used in processing such as the organic waste water of high density and fecal sewages.
Subordinate phase, aerobic treatment:
Shown in Fig. 1-2, sewage gets into No. 4 ponds 16 and No. 5 ponds 17 through baffling pipe 24 bafflings, these two aerobic oxidation ponds in order through 15 backs, No. 3 ponds.Aerobic unit helps decarburization bacterium and denitrifier and is grown in respectively separately in the adapt circumstance, helps the removal of organism and ammonia nitrogen.Aerobic unit is designed to biological floating bed, referring to Fig. 2, specifically is in No. 4 ponds 16 and No. 5 ponds 17, unsettled upper and lower woven wire 27 to be set respectively, and in the compartment that upper and lower woven wire 27 forms, fills the filler that is used for aerobic reaction.Woven wire 27 is supported by wallsten stent 31.In order to prevent that bio-reactor from stopping up and further to improve the active sludge nitric efficiency; Said filler is the urethane filler 29 of coarse pored; So both solved the blockage problem of fixed-bed bioreactor, solved again that the active sludge nitric efficiency is poor, volumetric loading is low and problem such as sludge output is big.The woven wire 27 of No. 4 ponds 16 and No. 5 pond 17 lower floors is provided with qi-emitting hole 30, and qi-emitting hole 30 links to each other with aerator 7 through gas distribution pipe 28 and inlet pipe 6.Adopt the blast aeration machine to give gas in this example.Aerobic unit (No. 4 pond 16 and No. 5) adopts the intermittent aeration mode that helps denitrification denitrogenation, and aeration rate is merely 1/3~1/5 of ordinary activated sludge and fixed-bed reactor.Wherein Institute of Micro-biology is aerobic is supplied with by blast aeration; The biofilm development that filling surface adheres to is to certain thickness; The mikrobe of filler wall can carry out anaerobic metabolism because of anoxic, and the souring that the gas of generation and aeration form can cause biomembranous coming off, and promotes the growth of true tumor film; At this moment, the microbial film that comes off will flow out outside the pond with water outlet.
Aerobic unit has following characteristics: 1) because packing specific area is big, and aerobic condition is good in the pond, and the biosolids amount of unit volume is higher in the pond, therefore, biological contact oxidation pond has higher volumetric loading; 2) owing to biosolids amount in the pond is many, current mix fully, so the cataclysm of water quality and quantity is had stronger adaptive faculty; 3) surplus sludge volume is few, does not have the sludge bulking problem, and operational management is easy.
Phase III, settling tank is handled:
For reoxygenation and the suspended substance deposition that helps water, to reduce suspended substance to the unitary impact of subsequent disposal, the baffling pipe 24 that stretches in said No. 6 ponds 18 is water spraying pipe 34, and the port of water spraying pipe 34 is horn-like.Water spraying pipe 34 is to be processed by pyramid type iron sheet 32, is installed in No. 6 ponds 18 through water spraying pipe carriage 33.The water of discharging from 17 aerobic oxidation ponds, No. 5 ponds through the trumpet type water spraying pipe 34 in No. 6 ponds 18 of precipitation dispensing, disperses the water impact of current, further precipitates the mud in the sewage.The effluent quality of from the multi-functional baffling processing module water outlet 9 in No. 6 ponds 18, discharging: COD≤150mg/L, suspended substance≤80mg/L, BOD≤60mg/L satisfies " farmland irrigating water's quality standard " (GB5084-2005) requirement.
Shown in Fig. 1-2, the discharge of mud for ease, each processing unit is provided with mudhole 25 near at, and mudhole 25 connects mud discharging arm 11 through spoil disposal gate valve 12 and is finally discharged by mud discharging house steward 10.
The diafiltration stage of the ecological filtration module of multimedium:
Shown in Fig. 3-4, the ecological filtration module outer profile size of multimedium length * wide * height is 1.8m * 2.4m * 2.1m, and the top of module is aeration material 39, is specially the macroporous netlike carrier, highly is 0.6m; The filler of module bottom is formed by 8 layers, highly is 1.2m.Each layer packed height is 0.15m, and wherein the bottom is permeable filtering layer 36, highly is 0.05m; The top is a multimedium filter material layer 37, highly is 0.1m.The multimedium filter material layer 37 at top is that multimedium filtrate and permeable filtrate are alternately filled in each layer, and wherein, the filling width of multimedium filtrate is 0.3m, and the filling width of permeable filtrate is 0.1m.Above-mentioned fill method is " article " font fill method, and is as shown in Figure 3.In this example, the weighting material of multimedium filter material layer 37 is the multimedium filtrate, is main with the function haydite of synthetic, is aided with the modified zeolite of particle diameter greater than 2mm, and function haydite and particle diameter are 1: 1 greater than the filling ratio volume ratio of the modified zeolite of 2mm.The weighting material of permeable filtering layer 36 is permeable filtrate, is that gravel and the particle diameter of 10mm formed greater than the modified zeolite of 2mm by median size, and median size is 10mm gravel and particle diameter greater than the filling ratio of the modified zeolite of 2mm is volume ratio 4: 1.
The ecological diafiltration module outline of multimedium main part is a cylindricality, and the filler in the filter tank is pressed " article " font filling multilayer until the filter tank upper surface.The multimedium filter material layer is main with the function haydite of synthetic, is aided with modified zeolite; Permeable filtering layer 36 is made up of gravel and modified zeolite.The water distribution system that the filtrate topsheet surface is made up of six roots of sensation water distributor 20, and with water distributor 20 place aeration material 39 inside with abundant aeration with prevent that the posticum on the water distributor 20 from stopping up.Water distributor 20 links to each other with hydraulic pipe 19; Sewage gets into multimedium filtering layers 37 through hydraulic pipe 19, and the water distributor 20 through the filter tank filling surface is evenly distributed in the filler top layer, and sewage is " article " font filter material layer through being made up of multimedium filter material layer 37 and permeable filtering layer 36 step by step; Part can be infiltrated the water purification medium; Can't infiltrate the current of water purification medium and see through the current of water purification medium, import one deck water purification medium down through water stream channel again, until reaching last step water purification medium.The bottom of filter material layer is the supporting structure that woven wire constitutes, and sewage is gone into water leg 35 through filtering layer is laggard, enters outside the pond through multimedium ecological filter treatment unit water outlet 21 again.
The main raw of filter material layer: lime-ash, gravel, zeolite, multimedium filtrate, macroporous netlike carrier.
(1) lime-ash: the coal ash slag, raw material is easy to get, and economy has vesicular structure, and nitrogen phosphorus is had certain adsorptive power, and its micropore can form capillary water simultaneously, makes water can rise to certain altitude;
(2) gravel, common gravel, raw material is easy to get, and economy mainly is for mikrobe the medium of hanging film, the effect of fixation of microbe to be provided;
(3) zeolite, zeolite has a variety of, raw material is easy to get, our usefulness be clinoptilolite, zeolite all has certain adsorptive power to phosphorus and ammonia nitrogen, can play the effect of deep phosphorous removal denitrogenation;
(4) multimedium filtrate is artificial synthetic function haydite, and function is efficient, has the effect of adsorption of nitrogen phosphorus, fixation of microbe and electrolyzing organic;
(5) macroporous netlike carrier is the urethane microbe immobilizing material, and porosity is big, and biological load is high, and it act as the mikrobe of immobilization efficient degradation organism and denitrogenation.
Rural sewage water treatment method of the present invention specifically comprises the steps:
Steps A through submersible sewage pump 1 with sewage transport to 1 pond 13, and via No. 1 pond 13 anaerobic oxidation pond excrement with regulate water conditioning;
The sewage that handled in No. 1 pond 13 of step B warp gets into 14 anaerobic oxidation ponds, No. 2 ponds through baffling pipe 24 and carries out anaerobic treatment, and wherein the effect of baffling pipe 24 is the paths that prolong sewage, increases the residence time of sewage;
The sewage that handled in No. 2 ponds 14 of step C warp gets into 15 anaerobic oxidation ponds, No. 3 ponds through baffling pipe 24 bafflings; In No. 3 ponds 15, under the effect of three-phase sparger 26 water, mud, gas are separated; Water gets into No. 4 ponds 16 through baffling pipe 24, and at the bottom of sludge settling to the pond, gas is discharged through venting port;
The sewage that handled in No. 3 ponds 15 of step D warp gets into 16 aerobic oxidation ponds, No. 4 ponds through baffling pipe 24 bafflings, aeration is carried out in No. 4 ponds 16 do the aerobic oxidation processing;
Step e sewage gets into 17 aerobic oxidation ponds, No. 5 ponds through baffling pipe 24 bafflings, repeats above-mentioned steps D;
Get into ponds 18 depositions No. 6 behind the sewage that step F was handled through No. 5 ponds 17, further precipitate the suspended substance of sewage, the final treating water that satisfies standard-required of discharging.
Aforesaid method is to integrate functions such as septic tank, anaerobic treatment, aerobic treatment, biological floating bed, deposition, makes the organism in the sewage under the anaerobic and aerobic action of microorganisms, change into harmless material.
Said rural sewage water treatment method; Also comprise operational process through the ecological filtration module of multimedium; Concrete is sewage is through the water distributor 20 of filtering basin filling surface " article " font filter material layer through being made up of multimedium filter material layer and permeable filtering layer 36 step by step, gets into discharge behind the water leg 35 of bottom, filter tank.When sewage was flowed through the multimedium ecological filter through multi-functional baffling processing module, pollutent was by the interception of multimedium filtrate and be adsorbed on its surface, and mikrobe utilizes organism to carry out growth and breeding, and attached to forming microbial film on the filtrate.Through after a while, microbial film is ripe, perches organism that the mikrobe on microbial film shows to flow through as nutrition, to the organism in the sewage adsorb, decomposing oxidation, thereby the sewage that flows through ecological filter is purified.
Said rural sewage water treatment method, wherein, the aeration among said step D and the E adopts the intermittent aeration mode.Employing helps the intermittent aeration mode of denitrification denitrogenation, and aeration rate is merely 1/3~1/5 of ordinary activated sludge and fixed-bed reactor.
Therefore; A kind of rural sewage water treatment method according to the invention and isolated plant thereof are physical treatment technology and biochemical processings such as anaerobic oxidation, aerobic oxidation such as integrated use deposition, filtration, make the organism in the sewage be able to degraded; Inorganic salt are able to fix; Nutrition such as nitrogen phosphorus are minimized, and have the big and good advantage of processing back water quality of hydraulic load, are particularly suitable for the national conditions needs of China.
Above-described embodiment, the present invention embodiment a kind of more preferably just, common variation that those skilled in the art carries out in technical scheme scope of the present invention and replacement all should be included in protection scope of the present invention.

Claims (7)

1. rural WWT isolated plant; Comprise submersible sewage pump and coupled multi-functional baffling processing module; It is characterized in that: said multi-functional baffling processing module comprises six ponds in order according to the drainage flow direction; Be respectively three anaerobic ponds, two Aerobic Ponds and a settling tank, adjacent treating pond connects through duct segments; Wherein No. 1 pond, No. 2 ponds and No. 3 ponds are that anaerobic pond and each pond are equipped with venting hole, and submersible sewage pump connects No. 1 pond, is provided with the three-phase sparger in No. 3 ponds; No. 4 ponds and No. 5 ponds are to be equipped with unsettled upper and lower woven wire in Aerobic Pond and the pond, and upper and lower woven wire forms fills the filler that is used for aerobic reaction in compartment, the compartment, and the woven wire of lower floor is provided with qi-emitting hole, and qi-emitting hole links to each other with aerator through gas distribution pipe; No. 6 ponds are settling tank;
Described rural WWT isolated plant also comprises the ecological filtration module of the multimedium that is connected with said multi-functional baffling processing module water outlet through pipeline, and the ecological filtration module of multimedium is the filter tank of containing the multimedium filter material layer; The top of the ecological filtration module of said multimedium is the aeration material, is the macroporous netlike carrier; The filler of bottom is formed by 4 layers at least; The bottom of each layer filler is permeable filtering layer, and the top is the multimedium filter material layer; The multimedium filter material layer is that multimedium filtrate and permeable filtrate are alternately filled, and forms " article " font and fills; The multimedium filtrate is main and auxiliary with modified zeolite with the function haydite of synthetic, and permeable filtrate is made up of gravel and modified zeolite.
2. rural WWT isolated plant according to claim 1 is characterized in that: the pipeline that connects between said each pond is the baffling pipe.
3. rural WWT isolated plant according to claim 1 is characterized in that: said each pond is provided with mudhole near at.
4. rural WWT isolated plant according to claim 1 is characterized in that: said filler is the urethane filler of coarse pored.
5. according to the described rural WWT isolated plant of the arbitrary claim of claim 1-4, it is characterized in that: the baffling pipe that stretches in said No. 6 ponds is a water spraying pipe, and the port of water spraying pipe is horn-like.
6. the rural sewage water treatment method of rural WWT isolated plant according to claim 1 comprises the steps:
Steps A is sewage transport to 1 pond, and via No. 1 Chi Yanyangyanghuachiization excrement with regulate water conditioning;
The sewage that handled in No. 1 pond of step B warp gets into No. 2 Chi Yanyangyanghuachi through pipeline and carries out anaerobic treatment;
The sewage that step C handled through No. 2 ponds gets into No. 3 Chi Yanyangyanghuachi through pipeline, in No. 3 ponds, under the effect of three-phase sparger water, mud, gas is separated, and water gets into No. 4 ponds through piping, and at the bottom of sludge settling to the pond, gas passes through the venting port discharge;
The sewage that handled in No. 3 ponds of step D warp gets into No. 4 Chi Youyangyanghuachi through pipeline, aeration is carried out in No. 4 ponds do the aerobic oxidation processing;
Step e sewage gets into No. 5 Chi Youyangyanghuachi through pipeline, repeats above-mentioned steps D;
Get into the ponds deposition No. 6 behind the sewage that step F was handled through No. 5 ponds, further precipitate the suspended substance of sewage, the final treating water that satisfies standard-required of discharging;
Said rural sewage water treatment method; Also comprise operational process through the ecological filtration module of multimedium; Concrete is sewage is through the water distributor of filtering basin filling surface " article " font filter material layer through being made up of multimedium filter material layer and permeable filtering layer step by step, discharges behind the water leg bottom the entering filter tank.
7. according to the said rural sewage water treatment method of claim 6, it is characterized in that: the aeration among said step D and the E adopts the intermittent aeration mode.
CN2009100828529A 2009-04-23 2009-04-23 Method for treating village sewage and specific device thereof Expired - Fee Related CN101525204B (en)

Priority Applications (1)

Application Number Priority Date Filing Date Title
CN2009100828529A CN101525204B (en) 2009-04-23 2009-04-23 Method for treating village sewage and specific device thereof

Applications Claiming Priority (1)

Application Number Priority Date Filing Date Title
CN2009100828529A CN101525204B (en) 2009-04-23 2009-04-23 Method for treating village sewage and specific device thereof

Publications (2)

Publication Number Publication Date
CN101525204A CN101525204A (en) 2009-09-09
CN101525204B true CN101525204B (en) 2012-08-22

Family

ID=41093303

Family Applications (1)

Application Number Title Priority Date Filing Date
CN2009100828529A Expired - Fee Related CN101525204B (en) 2009-04-23 2009-04-23 Method for treating village sewage and specific device thereof

Country Status (1)

Country Link
CN (1) CN101525204B (en)

Families Citing this family (12)

* Cited by examiner, † Cited by third party
Publication number Priority date Publication date Assignee Title
CN102120669A (en) * 2009-12-22 2011-07-13 隆润新技术发展有限公司 Application of high solution bacteria efficient microbiological technology and anaerobic baffled reactor-oxic baffled reactor technology in coking wastewater treatment
CN102120670A (en) * 2009-12-22 2011-07-13 隆润新技术发展有限公司 H.S.B (High Solution Bacteria) high-efficiency microorganism technology and application of ABR+OBR (Anaerobic Baffled Reactor+Oxic Baffled Reactor) process in excrement treatment
CN102358659A (en) * 2011-07-28 2012-02-22 农业部规划设计研究院 Rural domestic sewage composite filter tank treatment system and technology therefor
CN103588355A (en) * 2013-10-15 2014-02-19 常州思宇环保材料科技有限公司 Device for removing high-concentration ammonia nitrogen in waste water
CN104147820A (en) * 2014-01-10 2014-11-19 广东金明环保科技有限公司 Filtering device on water treatment integrated equipment
CN104150579A (en) * 2014-01-10 2014-11-19 广东金明环保科技有限公司 Biological treatment device used on water treatment integrated equipment
CN105502656B (en) * 2015-11-30 2019-04-02 北京大学 A kind of two-part strengthened denitrification multilevel soil filtration system
CN106145317A (en) * 2016-08-24 2016-11-23 中国科学院、水利部成都山地灾害与环境研究所 A kind of Multifunction oxidation pond for rural domestic sewage treatment
CN111099730A (en) * 2020-02-10 2020-05-05 东莞市诚盈环保科技有限公司 Unpowered and micro-power rural sewage integrated treatment equipment
US20210380449A1 (en) * 2020-06-03 2021-12-09 Enjui Hsu Automatic sewage treatment system and reparation method of biological carrier
CN112723556A (en) * 2020-12-02 2021-04-30 湖北汇农生物科技有限公司 Method for building microorganism sewage treatment device
CN115286109B (en) * 2022-09-30 2022-12-16 四川省生态环境科学研究院 High and cold rural sewage treatment device and treatment method

Also Published As

Publication number Publication date
CN101525204A (en) 2009-09-09

Similar Documents

Publication Publication Date Title
CN101525204B (en) Method for treating village sewage and specific device thereof
CN101973637B (en) River channel purification system for processing rural domestic sewage
CN102351378B (en) Method and system for processing rural sewage in artificial wetlands
CN102001785B (en) Compound biological film integrated reactor for treatment of domestic sewage and application method
CN103880244B (en) A comprehensive treatment method for livestock and poultry manure and domestic sewage in rural areas
KR100906560B1 (en) Purification method of miscellaneous wastewater using artificial wetland and its device
CN100455525C (en) Ammonia nitrogen treatment system for landfill leachate
CN110078319B (en) Rural distributed micro-power ecological sewage treatment device and sewage treatment system comprising same
CN201372233Y (en) Unpowered Integrated Constructed Wetland Sewage Treatment System
CN102775025A (en) Municipal life wastewater treatment system with high efficiency and low energy consumption
CN203768124U (en) Ecological filter for micro-polluted water treatment
CN103265144A (en) Town wastewater treatment process and device with intensified nitrogen and phosphorus removing function
CN107352738B (en) A composite artificial ecological bed sewage treatment system and method for strengthening nitrogen and phosphorus removal
CN103951064A (en) Ecological filter used for micro-polluted water treatment
CN205398371U (en) Rural miniaturized integration sewage treatment unit
CN105254127A (en) Self-cleaning type micro-aeration combined constructed wetland sewage treatment system and method
CN107188379A (en) A kind of domestic sewage of villages and small towns rural area landscape type total system
CN104556378A (en) Integrated treatment system for rural domestic sewage and process of system
CN105016579A (en) Rural sewage treatment system
CN102040316B (en) Method for purifying ecological compound sludge water body
CN107162315A (en) Biological cycle method sewage disposal system
CN101885553B (en) Fixed reproductive microorganism sewage purifying and treating method and device
CN105601043B (en) A kind of domestic sewage of villages and small towns ecology microkinetic processing system
CN207047066U (en) A kind of domestic sewage of villages and small towns rural area landscape type total system
CN105036819A (en) Facility for producing earthworm breeding loam by utilizing aquaculture sewage and method

Legal Events

Date Code Title Description
C06 Publication
PB01 Publication
C10 Entry into substantive examination
SE01 Entry into force of request for substantive examination
C14 Grant of patent or utility model
GR01 Patent grant
C17 Cessation of patent right
CF01 Termination of patent right due to non-payment of annual fee

Granted publication date: 20120822

Termination date: 20130423