CN101513658B - One-time forming mold for commutator hook - Google Patents
One-time forming mold for commutator hook Download PDFInfo
- Publication number
- CN101513658B CN101513658B CN2009100970308A CN200910097030A CN101513658B CN 101513658 B CN101513658 B CN 101513658B CN 2009100970308 A CN2009100970308 A CN 2009100970308A CN 200910097030 A CN200910097030 A CN 200910097030A CN 101513658 B CN101513658 B CN 101513658B
- Authority
- CN
- China
- Prior art keywords
- punch
- die
- mold
- concave
- mounting plate
- Prior art date
- Legal status (The legal status is an assumption and is not a legal conclusion. Google has not performed a legal analysis and makes no representation as to the accuracy of the status listed.)
- Expired - Fee Related
Links
- 238000000465 moulding Methods 0.000 claims description 3
- 238000009415 formwork Methods 0.000 claims 1
- 238000004519 manufacturing process Methods 0.000 abstract description 8
- 238000004080 punching Methods 0.000 description 7
- 238000000034 method Methods 0.000 description 3
- 238000005516 engineering process Methods 0.000 description 2
- 239000002699 waste material Substances 0.000 description 2
- 238000009825 accumulation Methods 0.000 description 1
- 238000010586 diagram Methods 0.000 description 1
Images
Landscapes
- Motor Or Generator Current Collectors (AREA)
- Manufacture Of Motors, Generators (AREA)
Abstract
本发明公开了一种换向器弯钩一次成型模具,包括上、下模架(4、9),其特征在于:所述下模架(9)上安装有凹凸模(11),所述上模架(4)上安装有与该凹凸模(11)对应的凸模(12)和凹模(13),凹模(13)和所述上模架(4)固定连接,凸模(12)活动设置于凹模内,凸模(12)通过凸模锁紧装置与凹模(13)相互锁紧,凸模(12)的上方设有凸模回位装置。该发明可以实现换向器弯钩一次成型,提高生产效率,降低生产成本,减少废品率。
The invention discloses a commutator hook one-time forming mold, which comprises upper and lower mold frames (4, 9), and is characterized in that: a concave-convex mold (11) is installed on the lower mold frame (9), and the The punch (12) and die (13) corresponding to the concave-convex die (11) are installed on the upper die frame (4), the die (13) is fixedly connected with the described upper die frame (4), and the punch ( 12) It is movably arranged in the die, and the punch (12) is mutually locked with the die (13) through a punch locking device, and a punch return device is provided above the punch (12). The invention can realize the forming of the hook of the commutator at one time, improve the production efficiency, reduce the production cost and reduce the reject rate.
Description
【技术领域】【Technical field】
本发明涉及一种冲压模具,具体涉及的是一种换向器弯钩一次成型模具的改进发明。The invention relates to a stamping die, in particular to an improved invention of a commutator hook primary forming die.
【背景技术】【Background technique】
目前,换向器弯钩成型一般分为三至四道工序完成,每道工序需要一套模具,每套模具需安装一台冲床,每台模具必需有相应的操作人员进行操作,造成占用设备,浪费资源和时间,极大地阻碍了生产效率,提高了生产成本,并且由于换向器弯钩成型经过多道模具,多道公差积累使产品的公差变大,容易产生废品,导致废品率的提高。At present, the forming of commutator hooks is generally divided into three to four processes. Each process requires a set of molds, and each set of molds needs to be equipped with a punching machine. Each mold must be operated by a corresponding operator, resulting in equipment occupation. , wastes resources and time, greatly hinders production efficiency, increases production cost, and because the commutator hook is formed through multiple molds, the accumulation of multiple tolerances makes the tolerance of the product larger, and it is easy to produce scrap, resulting in a lower scrap rate improve.
【发明内容】【Content of invention】
鉴于目前公知技术存在的问题,本发明要解决的技术问题是在于提供一种换向器弯钩一次成型模具,它可以实现换向器弯钩一次成型,提高生产效率,降低生产成本,减少废品率。In view of the problems existing in the current known technology, the technical problem to be solved by the present invention is to provide a commutator hook one-time forming mold, which can realize the one-time forming of the commutator hook, improve production efficiency, reduce production cost, and reduce waste products Rate.
为解决上述技术问题,本发明是采取如下技术方案来完成的:In order to solve the problems of the technologies described above, the present invention is accomplished by taking the following technical solutions:
一种换向器弯钩一次成型模具,包括上、下模架,其特征在于:所述下模架上安装有凹凸模,所述上模架上安装有与该凹凸模对应的凸模和凹模,凹模和所述上模架固定连接,凸模活动设置于凹模内,凸模通过凸模锁紧装置与凹模相互锁紧,凸模的上方设有凸模回位装置。所述上模架和凹模之间设有凹模安装板,凹模安装板上设有横向孔和纵向孔,每组横向孔和纵向孔部分交错,所述凸模锁紧装置包括凸模锁块、锁块弹簧和凸模锁杆,凸模锁块和锁块弹簧设于凹模安装板横向孔内,凸模锁块在锁块弹簧的作用下顶靠在凸模上边缘使凸模和凹模相互锁紧,凸模锁块设有缺口,所述凸模锁杆活动设置在凹模安装板的纵向孔内,其下端固定在凹凸模安装板上,凹凸模通过凹凸模安装板固定在下模架上,凸模锁杆穿过所述凸模锁块的缺口将凸模锁块锁住,凸模锁杆中间具有缩径部分。所述凸模回位装置包括打杆,打杆设在所述凸模的上方,其上端伸出上模架。A commutator hook one-time molding die, including upper and lower mold frames, characterized in that: a concave-convex mold is installed on the lower mold frame, and a punch corresponding to the concave-convex mold is installed on the upper mold frame. The die is fixedly connected with the upper die frame, the punch is movably arranged in the die, the punch is locked with the die through a punch locking device, and a punch return device is arranged above the punch. A die mounting plate is provided between the upper die frame and the die, and a transverse hole and a longitudinal hole are arranged on the die mounting plate, and each set of transverse holes and longitudinal holes are partially staggered, and the punch locking device includes a punch The locking block, the locking block spring and the punch locking lever, the punch locking block and the locking block spring are set in the transverse hole of the die mounting plate, and the punch locking block leans against the upper edge of the punch under the action of the locking block spring to make the convex die The mold and the die are locked to each other, the punch lock block is provided with a gap, the punch lock lever is movably set in the longitudinal hole of the die mounting plate, and its lower end is fixed on the mount plate of the die, and the die is installed through the die The plate is fixed on the lower mold frame, and the punch lock bar passes through the gap of the punch lock block to lock the punch lock block, and the middle of the punch lock bar has a diameter-reducing part. The punch returning device includes a punching rod, which is arranged above the punch, and whose upper end stretches out from the upper die frame.
本发明的换向器弯钩一次成型模具,首先上模架向下运动,凸模与凹凸模的凹模部分一起使换向器弯钩预成型,使换向器弯钩与换向器轴线呈90度角,此时凸模被凸模锁紧装置锁住,与凹模紧紧靠接在一起,当上模架继续向下运动,凸模锁紧装置松开凸模,凸模和凹模之间产生上下相对移动,这样在凸模不动的情况下,凹模继续向下,于是凹模与凹凸模的凸模部分一起使换向器完全成型,这样就实现了换向器弯钩在一道模具上一次成型,提高了生产效率,降低了生产成本,减少了废品率。所以说,本技术方案与现有技术相比,具有突出的实质性特点和显著的进步。In the commutator hook forming mold of the present invention, firstly, the upper mold base moves downward, and the punch and the concave part of the concave and convex mold together preform the commutator hook, so that the commutator hook and the axis of the commutator At an angle of 90 degrees, the punch is locked by the punch locking device and is tightly connected with the die. When the upper mold frame continues to move downward, the punch locking device releases the punch, and the punch and die There is a relative movement between the dies up and down, so that the die continues to go down when the die does not move, so the die and the punch part of the die and the die form the commutator completely, thus realizing the commutator. The hook is molded in one mold at one time, which improves the production efficiency, reduces the production cost and reduces the scrap rate. Therefore, compared with the prior art, the technical solution has outstanding substantive features and remarkable progress.
【附图说明】【Description of drawings】
本发明有如下附图:The present invention has following accompanying drawing:
图1为换向器弯钩成型前产品外形图Figure 1 is the appearance of the product before the commutator hook is formed
图2为换向器弯钩成型后产品外形图Figure 2 is the appearance of the commutator hook after forming
图3为本发明的结构示意图Fig. 3 is a structural representation of the present invention
图4为图2的A-A视图Figure 4 is the A-A view of Figure 2
【具体实施方式】【Detailed ways】
附图表示了本发明的技术方案及其实施例,下面再结合附图进一步描述其实施例的各有关细节及其工作原理。The accompanying drawings show the technical solution of the present invention and its embodiments, and the relevant details and working principles of the embodiments will be further described below in conjunction with the accompanying drawings.
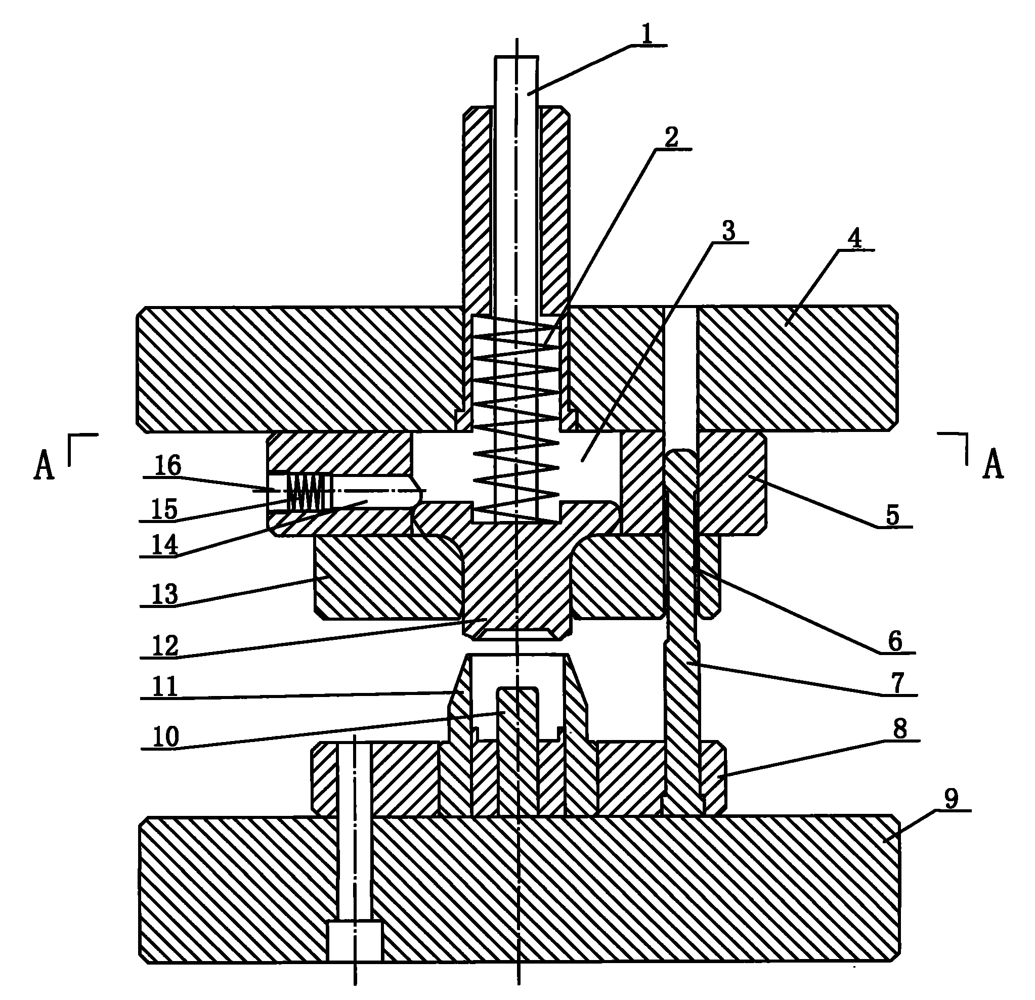
附图1和2分别表示了换向器弯钩成型前后的产品外形图,参照附图3,该换向器弯钩一次成型模具,包括上模架4、下模架9、凹凸模11、凸模12、凹模13、凸模锁紧装置和凸模回位装置,凹凸模11通过凹凸模安装板8固定在下模架9上,凹凸模11内设有换向器定位块10,上模架4上设有与凹凸模11对应的凸模12和凹模13,凹模13通过凹模安装板5固定在上模架4上,凸模12活动设置于凹模13内,凹模安装板5具有能容纳凸模12上下活动的空腔3,参照附图4,凹模安装板5上还设有圆周均布的三组横向孔和纵向孔,横向孔和纵向孔相互垂直并部分交错,所述凸模锁紧装置包括凸模锁块14、锁块弹簧15和凸模锁杆7,凸模锁块14活动设置于凹模安装板5的横向孔内,其内侧端头外露于凹模安装板5的空腔3,外侧端头与锁块弹簧15接触,凸模锁块14内侧端头在锁块弹簧15的作用下顶靠在凸模12上边缘使凸模12和凹模13之间相互锁紧,调节螺钉16用于调节锁块弹簧15的松紧,凸模锁块14设有缺口17,凸模锁杆7活动设置在凹模安装板5的纵向孔内,其下端固定在凹凸模安装板8上,凸模锁杆7穿过凸模锁块14的缺口17,其外圆将凸模锁块14锁住(防止凸模锁块在凹模安装板5的横向孔内移动,从而将凸模12和凹模13之间相互锁紧),凸模锁杆7中间具有缩径部分6(当凸模12与凹凸模11的凹模部分一起使换向器弯钩预成型到位时,该缩径部分6上部将进入凸模锁块14的缺口17,此时凸模锁块14在外力作用下就可以缩进凹模安装板5的横向孔内,而凸模12在没有被凸模锁块14锁住的情况下,凸模12和凹模13之间将产生上下相对移动,这样在凸模12不动的情况下,凹模13进一步下移与凹凸模11的凸模部分一起使换向器完全成型),所述凸模回位装置包括打杆1,打杆1设在所述凸模12的上方,其上端空套在上模架4的模柄内并外露于模柄,打杆1的上方还设有与冲床固定连接的挡块(图中未画出),在凸模12的上端和上模架4之间还设有弹簧2,弹簧2可以保证凸模12在脱离凸模锁块14锁紧情况下,使凸模12始终向下,不会产生晃动。Accompanying
该换向器弯钩成型模具工作时,弯钩未成型的换向器产品放置在换向器定位块10上,未成型弯钩朝上,然后冲床冲头推动上模架4向下运动,在凸模12与换向器未成型弯钩接触前,凸模锁杆7外圆位于凸模锁块14的缺口17内,将凸模锁块锁住,凸模锁块顶靠住凸模,凸模和凹模相互锁紧,当上模架继续向下,凸模12将与凹凸模11的凹模部分一起使换向器弯钩预成型,使换向器弯钩与换向器轴线呈90度角,在换向器弯钩预成型到位时,此时凸模锁杆7的缩径部分6上端进入凸模锁块14的缺口17位置,于是,凸模锁块14在凸模12径向力的作用下缩进凹模安装板5的横向孔内,这样凸模和凹模之间就可以产生上下相对移动,在凸模12不动的情况下,凹模13进一步下移与凹凸模11的凸模部分一起使换向器完全成型,在换向器弯钩完全成型后,冲床冲头带动上模架向上,同时打杆1向上运动,碰到挡块,而凸模继续向上,于是凸模在打杆1的压力作用下回位,凸模12重新被凸模锁块14锁住,然后取出成型后的换向器产品,进行下一个换向器产品的成型。When the commutator hook molding die is working, the unformed commutator product of the crotch is placed on the
Claims (3)
Priority Applications (1)
| Application Number | Priority Date | Filing Date | Title |
|---|---|---|---|
| CN2009100970308A CN101513658B (en) | 2009-03-26 | 2009-03-26 | One-time forming mold for commutator hook |
Applications Claiming Priority (1)
| Application Number | Priority Date | Filing Date | Title |
|---|---|---|---|
| CN2009100970308A CN101513658B (en) | 2009-03-26 | 2009-03-26 | One-time forming mold for commutator hook |
Publications (2)
| Publication Number | Publication Date |
|---|---|
| CN101513658A CN101513658A (en) | 2009-08-26 |
| CN101513658B true CN101513658B (en) | 2010-07-21 |
Family
ID=41038364
Family Applications (1)
| Application Number | Title | Priority Date | Filing Date |
|---|---|---|---|
| CN2009100970308A Expired - Fee Related CN101513658B (en) | 2009-03-26 | 2009-03-26 | One-time forming mold for commutator hook |
Country Status (1)
| Country | Link |
|---|---|
| CN (1) | CN101513658B (en) |
Families Citing this family (4)
| Publication number | Priority date | Publication date | Assignee | Title |
|---|---|---|---|---|
| CN102847814B (en) * | 2012-09-28 | 2016-03-02 | 无锡市亚青机械厂 | Ballast machine rim punch die structure |
| CN104128491A (en) * | 2013-12-19 | 2014-11-05 | 中国重汽集团柳州运力专用汽车有限公司 | Hook plate profiling die |
| CN106955936B (en) * | 2017-03-29 | 2019-01-29 | 郑荣波 | High-speed stamping die blanking molding synchrolock, which is fixedly mounted with, to be set |
| CN110768080B (en) * | 2019-10-30 | 2021-06-11 | 瑞安市博宇电器有限公司 | Commutator hook machine and hook lower die |
Family Cites Families (3)
| Publication number | Priority date | Publication date | Assignee | Title |
|---|---|---|---|---|
| DD155393A1 (en) * | 1980-12-19 | 1982-06-09 | Klaus Friedel | CUTTING TOOL |
| JP4112211B2 (en) * | 2001-11-22 | 2008-07-02 | 株式会社オーハシテクニカ | Planar commutator, copper annular body manufacturing method, and grooving mold |
| CN201374491Y (en) * | 2009-03-26 | 2009-12-30 | 安固集团有限公司 | One-step molding mould of diverter hook |
-
2009
- 2009-03-26 CN CN2009100970308A patent/CN101513658B/en not_active Expired - Fee Related
Also Published As
| Publication number | Publication date |
|---|---|
| CN101513658A (en) | 2009-08-26 |
Similar Documents
| Publication | Publication Date | Title |
|---|---|---|
| CN201374491Y (en) | One-step molding mould of diverter hook | |
| CN101767154B (en) | Stepped cylindrical component die for medium plate | |
| CN203003032U (en) | Precision forging extrusion die device | |
| CN202290828U (en) | One-step forming die for gear shaft | |
| CN207386480U (en) | A kind of hardware die for processing | |
| CN203459549U (en) | Upward-bending forming mold structure | |
| CN101513658B (en) | One-time forming mold for commutator hook | |
| CN202367052U (en) | Forming die for thermal shield of engine | |
| CN201040302Y (en) | Punching die structure | |
| CN203853391U (en) | Bidirectional blocking die rack | |
| CN101913233A (en) | Demoulding device with spring-piece type tapered pin anti-breaking mechanism | |
| CN214419429U (en) | Automobile injection mold with complex curved surface | |
| CN103611784A (en) | Production die for punching multiple side holes | |
| CN213793778U (en) | Stamping die is used in automobile parts processing convenient to lock is dead | |
| CN212384407U (en) | Electronic product forming die with small dense holes | |
| CN204638846U (en) | A kind of ring-shape accessory compound cutting die with lug | |
| CN203610482U (en) | Side punching multi-hole production mold | |
| CN223750086U (en) | A molding die for automotive parts | |
| CN202606694U (en) | Copper piece hot stamping die | |
| CN209156905U (en) | A kind of high-accuracy hardware dies | |
| CN203018647U (en) | Die for forming U-shaped reinforcing steel bar | |
| CN113617922A (en) | Pipe cover composite forming die | |
| CN215431278U (en) | Mould is used in processing of high-accuracy electronic door lock tool to lock | |
| CN204867238U (en) | Automatic make -up machine equipment | |
| CN216461197U (en) | A mould for shaping theftproof emergency exit turn-ups lockhole |
Legal Events
| Date | Code | Title | Description |
|---|---|---|---|
| C06 | Publication | ||
| PB01 | Publication | ||
| C10 | Entry into substantive examination | ||
| SE01 | Entry into force of request for substantive examination | ||
| C14 | Grant of patent or utility model | ||
| GR01 | Patent grant | ||
| CF01 | Termination of patent right due to non-payment of annual fee |
Granted publication date: 20100721 |
|
| CF01 | Termination of patent right due to non-payment of annual fee |
