CN101482284A - Solar heating and refrigerating air conditioner combined supply apparatus - Google Patents
Solar heating and refrigerating air conditioner combined supply apparatus Download PDFInfo
- Publication number
- CN101482284A CN101482284A CNA2008100802011A CN200810080201A CN101482284A CN 101482284 A CN101482284 A CN 101482284A CN A2008100802011 A CNA2008100802011 A CN A2008100802011A CN 200810080201 A CN200810080201 A CN 200810080201A CN 101482284 A CN101482284 A CN 101482284A
- Authority
- CN
- China
- Prior art keywords
- water
- pipe
- solar
- tube connector
- air conditioner
- Prior art date
- Legal status (The legal status is an assumption and is not a legal conclusion. Google has not performed a legal analysis and makes no representation as to the accuracy of the status listed.)
- Pending
Links
- 238000010438 heat treatment Methods 0.000 title claims abstract description 72
- XLYOFNOQVPJJNP-UHFFFAOYSA-N water Substances O XLYOFNOQVPJJNP-UHFFFAOYSA-N 0.000 claims abstract description 156
- AMXOYNBUYSYVKV-UHFFFAOYSA-M lithium bromide Chemical compound [Li+].[Br-] AMXOYNBUYSYVKV-UHFFFAOYSA-M 0.000 claims abstract description 64
- 238000010521 absorption reaction Methods 0.000 claims abstract description 29
- 230000005611 electricity Effects 0.000 claims description 23
- 239000000498 cooling water Substances 0.000 claims description 8
- JEGUKCSWCFPDGT-UHFFFAOYSA-N h2o hydrate Chemical compound O.O JEGUKCSWCFPDGT-UHFFFAOYSA-N 0.000 claims description 5
- 230000002528 anti-freeze Effects 0.000 claims description 3
- 210000000056 organ Anatomy 0.000 claims description 3
- 230000009286 beneficial effect Effects 0.000 abstract 1
- 229940059936 lithium bromide Drugs 0.000 description 26
- 238000005057 refrigeration Methods 0.000 description 19
- 238000003860 storage Methods 0.000 description 14
- 239000008400 supply water Substances 0.000 description 8
- 238000004321 preservation Methods 0.000 description 4
- 239000006096 absorbing agent Substances 0.000 description 3
- 238000005516 engineering process Methods 0.000 description 3
- 230000007613 environmental effect Effects 0.000 description 3
- 239000003507 refrigerant Substances 0.000 description 3
- 230000001932 seasonal effect Effects 0.000 description 3
- 238000004378 air conditioning Methods 0.000 description 2
- 230000008020 evaporation Effects 0.000 description 2
- 238000001704 evaporation Methods 0.000 description 2
- 239000003673 groundwater Substances 0.000 description 2
- 239000007788 liquid Substances 0.000 description 2
- 238000000034 method Methods 0.000 description 2
- VYPSYNLAJGMNEJ-UHFFFAOYSA-N Silicium dioxide Chemical compound O=[Si]=O VYPSYNLAJGMNEJ-UHFFFAOYSA-N 0.000 description 1
- 230000032683 aging Effects 0.000 description 1
- 230000033228 biological regulation Effects 0.000 description 1
- 238000004140 cleaning Methods 0.000 description 1
- 239000003245 coal Substances 0.000 description 1
- 238000009833 condensation Methods 0.000 description 1
- 230000005494 condensation Effects 0.000 description 1
- 238000010276 construction Methods 0.000 description 1
- 239000002826 coolant Substances 0.000 description 1
- 238000010586 diagram Methods 0.000 description 1
- 230000000694 effects Effects 0.000 description 1
- 238000004134 energy conservation Methods 0.000 description 1
- 238000005265 energy consumption Methods 0.000 description 1
- 230000003203 everyday effect Effects 0.000 description 1
- 239000011521 glass Substances 0.000 description 1
- 230000005484 gravity Effects 0.000 description 1
- 239000008236 heating water Substances 0.000 description 1
- -1 injector Substances 0.000 description 1
- 238000012423 maintenance Methods 0.000 description 1
- 238000004519 manufacturing process Methods 0.000 description 1
- 238000007789 sealing Methods 0.000 description 1
- 239000000741 silica gel Substances 0.000 description 1
- 229910002027 silica gel Inorganic materials 0.000 description 1
- 230000006641 stabilisation Effects 0.000 description 1
- 238000011105 stabilization Methods 0.000 description 1
- 230000001131 transforming effect Effects 0.000 description 1
- 230000008016 vaporization Effects 0.000 description 1
Images
Classifications
-
- Y—GENERAL TAGGING OF NEW TECHNOLOGICAL DEVELOPMENTS; GENERAL TAGGING OF CROSS-SECTIONAL TECHNOLOGIES SPANNING OVER SEVERAL SECTIONS OF THE IPC; TECHNICAL SUBJECTS COVERED BY FORMER USPC CROSS-REFERENCE ART COLLECTIONS [XRACs] AND DIGESTS
- Y02—TECHNOLOGIES OR APPLICATIONS FOR MITIGATION OR ADAPTATION AGAINST CLIMATE CHANGE
- Y02A—TECHNOLOGIES FOR ADAPTATION TO CLIMATE CHANGE
- Y02A30/00—Adapting or protecting infrastructure or their operation
- Y02A30/27—Relating to heating, ventilation or air conditioning [HVAC] technologies
-
- Y—GENERAL TAGGING OF NEW TECHNOLOGICAL DEVELOPMENTS; GENERAL TAGGING OF CROSS-SECTIONAL TECHNOLOGIES SPANNING OVER SEVERAL SECTIONS OF THE IPC; TECHNICAL SUBJECTS COVERED BY FORMER USPC CROSS-REFERENCE ART COLLECTIONS [XRACs] AND DIGESTS
- Y02—TECHNOLOGIES OR APPLICATIONS FOR MITIGATION OR ADAPTATION AGAINST CLIMATE CHANGE
- Y02B—CLIMATE CHANGE MITIGATION TECHNOLOGIES RELATED TO BUILDINGS, e.g. HOUSING, HOUSE APPLIANCES OR RELATED END-USER APPLICATIONS
- Y02B30/00—Energy efficient heating, ventilation or air conditioning [HVAC]
- Y02B30/62—Absorption based systems
Landscapes
- Heat-Pump Type And Storage Water Heaters (AREA)
- Sorption Type Refrigeration Machines (AREA)
Abstract
The invention provides a solar heating and refrigerating combined air-conditioner, relating to the technical field of solar heating and refrigerating devices, and comprising a solar water heater, a heat supply control device, a connecting pipe A , a connecting pipe B, a terrestrial heat fan coil pipe, and a lithium bromide absorption refrigerating device; wherein the upper water pipe and lower hot water pipe of the solar water heater are connected with the heat supply control device, water outlet and water return opening of which are respectively connected with the water inlet and water returning opening of the terrestrial heat fan coil pipe through the connecting pipe A and connecting pipe B; and the front parts of the connecting pipe A and connecting pipe B are respectively connected with the water inlet pipe and water outlet pipe at the input end of the lithium bromide absorption refrigerating device, water outlet pipe and water returning pipe at the output end of which are respectively connected with the rear parts of the connecting pipe A and connecting pipe B. The invention has the beneficial effects of capability of effectively using the hot water with different temperatures generated by solar energy in different seasons, realizing the solar heating and refrigerating combined system of air-conditioner, and greatly reducing the using of commercial energy; and has the characteristics of simple structure, energy saving, environment protection, stable and adjustable temperature and convenient and flexible operation and use.
Description
Technical field
The present invention relates to solar heating and technical field of refrigeration equipment.
Background technology
Present high-power household electrical appliances three-major-items: water heater, air-conditioning, heating stove all are to utilize coal, gas, electricity to be main energy sources, because they all are high energy consumption, high pollution product, therefore to superseded restriction unusual time of using and transforming.Introduce ground source heat pump technology in recent years, can satisfy the heating air-conditioner requirement of large tracts of land building.Present domestic groundwater recharge technology also is not very ripe, is difficult to all be recharged the water-bearing layer again, causes the loss of groundwater resources and how to guarantee the not contaminated thorny problem of water table.External because more and more stricter with phreatic regulation of use and legislation to environmental protection, the application of earth source heat pump gradually reduces.Next be can not miniaturization and family use the difficult maintenance of down-hole fault, the difficult cleaning, about 500 yuan of the high every square meters of initial investment.Besides it must be the compressor operating work of using unexpectedly, and China is limiting the household appliances that compressor is arranged and requiring to transform and can enter the market.
Its function of use of solar water heater is single faster for popularity rate in the market, and heat utilization efficiency is not high.The new type solar energy hot water and the heating dual-purpose type product of our company's exploitation are put on market, though solved the utilization of winter solar energy hot water, the solar energy quantity of heat production in summer is the highest does not all have a fine utilization, water tank emits hot gas all day, can make the silica gel circle sealing between vacuum tube and the water tank aging in advance but store high-temperature water for a long time, influence product service life.
Summary of the invention
The purpose of this invention is to provide a kind of solar heating and refrigerating air conditioner combined supply apparatus, it can effectively use the hot water of output different temperatures in the solar energy Various Seasonal, realize solar heating and refrigerating air conditioner combined supply system, significantly reduce the use of commercial energy, have simple in structure, energy-saving and environmental protection, flexible characteristic easy for operation.The north and south all can be used.
Main technical schemes of the present invention is: a kind of solar heating and refrigerating air conditioner combined supply apparatus, comprise solar water heater, upper hose, following hot-water line, it is characterized in that upper hose links to each other with the heat supply control device with following hot-water line, the delivery port of heat supply control device links to each other with water return outlet by the water inlet of A tube connector with B tube connector and floor heating fan coil respectively with water return outlet, the front portion of A tube connector and B tube connector links to each other with the input outlet pipe with the input oral siphon of lithium bromide water absorption refrigerating plant respectively, and the output outlet pipe of lithium bromide water absorption refrigerating plant links to each other with the rear portion of A tube connector with the B tube connector respectively with the output return pipe.
The structure of described heat supply control device can be: following hot-water line is communicated with by the water inlet of the heat exchanger of outer circulation pump and electricity or gas heating, and the delivery port and the A tube connector of the heat exchanger of electricity or gas heating are communicated with, and upper hose and B tube connector are communicated with.
The preferred construction of described heat supply control device is: upper hose is communicated with by the water inlet of the heat exchanger of internal circulation pump and electricity or gas heating.
Described outer circulation pump and internal circulation pump are good with A check-valves, the series connection of B check-valves respectively.
Described upper hose, down be equipped with valve in input oral siphon, input outlet pipe, output outlet pipe and the output return pipe of hot-water line, A tube connector, B tube connector, lithium bromide water absorption refrigerating plant or magnetic valve is good.
Described solar water heater can be 1, or is more than 2 or 2, and is serially connected or parallel.
The heat exchanger and the hot water water pipe of described electricity or gas heating are communicated with for good, for hot water.
Described solar heating and refrigerating air conditioner combined supply apparatus, it is good being provided with control circuit, its structure is: floor heating organ pipe channel temp sensor, solar water container water-temperature water-level sensor, temperature sensor link to each other with the control circuit of control outer circulation pump, internal circulation pump, magnetic valve, electricity or gas heater switch and lithium bromide water absorption refrigerating plant switch.
Described preferable control circuit is: be provided with the single-chip microcomputer host circuit, the defeated module of its Power Entry Module, phone input module, keyboard input module, level sensor input module, cooling-water temperature sensor input module, temperature sensor input module, pipeline cooling-water temperature sensor input module, antifreeze temperature sensor input module, magnetic valve goes out, electrical heating output module, ribbon heater output module, outer circulation pump output module, internal circulation pump output module, solution pump output module join.
Good effect of the present invention is: can effectively use the hot water of output different temperatures in the solar energy Various Seasonal, realize solar heating and refrigerating air conditioner combined supply system, significantly reduce the use of commercial energy, have simple in structure, energy-saving and environmental protection, temperature stabilization is adjustable, flexible characteristic easy for operation.The north and south all can be used.
Be described further below in conjunction with embodiment, but not as a limitation of the invention.
Description of drawings
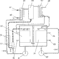
Fig. 1 is a structural representation of the present invention;
Fig. 2 is the structural representation of piece number 4 heat supply control device among Fig. 1;
Fig. 3 is the structural representation of an embodiment of piece number 8 lithium bromide water absorption refrigerating plants among Fig. 1;
Fig. 4 is the circuit structure block diagram of Fig. 1.
Among Fig. 1~Fig. 4, the implication of each label: 1 is solar water heater, 2 is upper hose, 3 is valve, 4 are the heat supply control device, 41 are the outer circulation pump, and 42 is the A check-valves, and 43 is (heat exchanger 44 of electricity or gas heating) water inlet, 44 is the heat exchanger of electricity or gas heating, 45 is the hot water water pipe, and 46 is (heat exchanger 46 of electricity or gas heating) delivery port, and 47 is the B check-valves, 48 is internal circulation pump, 49 is magnetic valve, and 5 is the A tube connector, and 6 is the B tube connector, 7 are the floor heating fan coil, 8 is lithium bromide water absorption refrigerating plant, and 81 is (lithium bromide water absorption refrigerating plant 8) input water inlet pipe, and 82 is (lithium bromide water absorption refrigerating plant 8) input water inlet pipe, 83 is (lithium bromide water absorption refrigerating plant 8) output outlet pipe, 84 is (output of lithium bromide water absorption refrigerating plant 8) return pipe, and 85 is generator, and 86 is separator, 87 is condenser, 88 is coolant outlet, and 89 is pump, and 90 is water still, 91 is solution pump, 92 is cooling water inlet, and 93 is injector, and 94 is solution heat exchanger, 95 is absorber, 9 are following hot-water line, and 10 is escape pipe, and 11 is the hot water water pipe.
The specific embodiment
Referring to Fig. 1~Fig. 4, this solar heating and refrigerating air conditioner combined supply apparatus, comprise solar water heater 1, upper hose 2, following hot-water line 9, upper hose 2 links to each other with heat supply control device 4 with following hot-water line 9, the delivery port of heat supply control device 4 links to each other with water return outlet by the water inlet of A tube connector 5 with B tube connector 6 and floor heating fan coil 7 respectively with water return outlet, (lithium bromide water absorption refrigerating plant of other structure also can with lithium bromide water absorption refrigerating plant 8 respectively in the front portion of A tube connector 5 and B tube connector 6, can same prior art) input water inlet pipe 81 link to each other with input outlet pipe 82, the output outlet pipe 83 of lithium bromide water absorption refrigerating plant 8 links to each other with the rear portion of A tube connector 5 with B tube connector 6 respectively with output return pipe 84.The structure of heat supply control device 4 is: following hot-water line 9 is communicated with by the water inlet 44 of the heat exchanger 44 of outer circulation pump 41 and electricity or gas heating, the water outlet 47 of the heat exchanger 44 of electricity or gas heating) and 5 connections of A tube connector, upper hose 2 and B tube connector 6 are communicated with, and upper hose 2 is communicated with by the water inlet 43 of the heat exchanger 44 of internal circulation pump 47 and electricity or gas heating.Outer circulation pump 41 and internal circulation pump 45 are connected with A check-valves 42, B check-valves 47 respectively.Be equipped with valve 3 or magnetic valve 49 in input oral siphon 81, input outlet pipe 82, output outlet pipe 83 and the output return pipe 84 of upper hose 2, following hot-water line 9, A tube connector 5, B tube connector 6, lithium bromide water absorption refrigerating plant 8.Solar water heater 1 is 3, and is serially connected.The heat exchanger 44 of electricity or gas heating and hot water water pipe 45 are communicated with.Be provided with control circuit, its structure is: floor heating organ pipe channel temp sensor, solar water container water-temperature water-level sensor, temperature sensor link to each other with the control circuit of control outer circulation pump 41, internal circulation pump 48, magnetic valve 49, electricity or gas heater switch and lithium bromide water absorption refrigerating plant 8 switches.Control circuit is provided with the single-chip microcomputer host circuit, and the defeated module of its Power Entry Module, phone input module, keyboard input module, level sensor input module, cooling-water temperature sensor input module, temperature sensor input module, pipeline cooling-water temperature sensor input module, antifreeze temperature sensor input module, magnetic valve goes out, electrical heating output module, ribbon heater output module, outer circulation pump output module, internal circulation pump output module, solution pump output module join.
Solar water heating and refrigeration air-conditioner combined supply system: by all-glass vacuum thermal-collecting tube, Contiuum type or split type heat preservation storage water tank, water-temperature water-level sensor, storage tank is provided with outlet pipe (heat supply water), water inlet pipe (backwater), blast pipe, establish service valve successively on the outlet pipe (heat supply water), the domestic hot-water is in charge of and valve is arranged, heat supply control device (outer circulation pump, check-valves, electricity or hot-air heater, establish internal circulation pump on the return pipe, check-valves, magnetic valve, temperature sensor, Tube Temperature Sensor) refrigeration hot water divides the suction of tube valve lithium bromide to be formula refrigerating plant (generator, separator, condenser, evaporimeter, absorber, injector, solution pump, solution heat exchanger) fan coil etc. constitutes combined supply system, by the single-chip microcomputer host computer control.
The heat supply heating flow process: heat preservation storage water tank (Contiuum type or split type) bottom is provided with blast pipe, and an end sets out hot-water line (water supply), and the other end is established water inlet pipe (backwater), respectively establishes service valve after the introducing of two road pipelines is indoor.Heat supply water is carried by the outer circulation pump, enters the coil pipe floor heating through electricity or hot-air heater again through check-valves, and return pipe connects and composes the warm circuit system of an outer circulation heat supply hydromining along feed pipe revolution and heat preservation storage water tank.Behind the outer circulation heat supply running, when the storage tank water temperature is reduced to the minimum water temperature critical point of heating requirement, circular flow pattern in automatically switching to, immediately stop the outer circulation pump operation, starting internal circulation pump delivers into backwater and sends into the coil pipe floor heating again, the warm circuit system of heat supply hydromining of the auxiliary heating of circulation in backwater constitutes via internal circulation pump again after electricity or hot-air heater are heated.
Refrigeration air-conditioner flow process: refrigerant vapour---the water vapour that adds the lithium bromide water solution generation relatively high pressure in the heater with solar water, refrigerant vapour becomes liquid through after the condensation, after the throttling step-down, in evaporimeter, realize refrigeration, and cold-producing medium is become the water vapour of relatively low pressure again by water by the vaporizing liquid heat absorption.Behind the lithium bromide water solution evaporation water steam in generator, concentration raises simultaneously, is flow in the absorber by gravity after separator separates.Refrigerant vapour is absorbed high concentration lithium bromide water solution in the device and absorbs and to make it become the lower lithium bromide water solution of concentration then, by the pump pressurization it is sent into generator and carries out heating evaporation once more, finishes a kind of refrigeration cycle.
The present invention has realized solar water heating and refrigeration air-conditioner combined supply system.Adopt Contiuum type or separated type solar heat preservation storage water tank, storage tank one bottom portion sets out hot-water line (water supply), and the other end is established water inlet pipe (backwater), respectively establishes service valve after two road pipeline inlet chambers are interior, establishes domestic hot-water's pipe on the feed pipe and valve is arranged.Feed pipe is connected with the heat supply control device, comes out to be connected with the fan coil water inlet pipe through valve from opposite side, and outlet pipe takes back water pipe and gets back to storage tank along the heat supply water pipe and be connected to form a heating water loop system.The refrigeration hot-water line is connected with the generator of refrigeration control device by valve, and same direction come out to be passed through valve and return pipe and joined and connect and compose a refrigerating and heat-supplying circuit system with storage tank again.Lithium bromide water absorption refrigerating plant goes out cold water pipe and passes to fan coil through valve and after feed pipe links to each other, water outlet be connected with return pipe by valve again with advance lithium bromide water absorption refrigerating plant and be connected to form a refrigeration air-conditioner chilled water circuit system.The domestic hot-water is a single channel heat supply water pipe; The heat supply hydromining warms up inside and outside two the closed circuit systems that establish; Refrigeration air-conditioner is established the independent closed circuit of two in hot water and cold water system; Promptly form a kind of solar water heating and refrigeration air-conditioner combined supply system.
Opening valve when using the domestic hot-water has hot water, control system to be in single heat supply aqueous mode state every day, and lack of water is from benefit, the full automatic stop of water and show water temperature and water level.
When entering heating, with auxiliary heating control apparatus two valve opens on the water return pipeline that supply towards fan coil, on controller, the heating function button is appeared again, there are " just in heat supply " printed words to show on the display screen, the outer circulation pump promptly can start, and expression has entered the heating state.Storage tank hot water delivers into fan coil by the outer circulation pump, and its heat is produced by boasting by blower fan and carried out heat exchange with indoor cold air and promote indoor temperature.Utilize storage tank hot water (being solar water) to form an outer circulation heat supply water running loop.When reducing to the minimum water temperature of heating requirement through operation back storage tank water temperature, automatically switch to interior circulation, and the auxiliary heating of startup, circulation printed words in promptly showing on the display screen, its backwater delivers into auxiliary heater through after heating via internal circulation pump, enter again the coil pipe floor heating form one in the auxiliary heating of circulation heat supply water running loop.
Heat supply heating operation is controlled by indoor temperature respectively, and indoor temperature can be provided with conventional temperature and use lower limit temperature and guarantee room temperature, can use low temperature in case of necessity, and the selecting for use of high and low temperature can be controlled switching with phone or mobile phone and select for use.Control heating operation with the time respectively, can set heat supply number of times and heating time arbitrarily in 24 hours, be fit to working family and night the low ebb electricity use, Based Intelligent Control, heating according to need, energy-conservation convenient again.
When entering refrigeration air-conditioner, with valve open before and after the lithium bromide water absorption refrigerating plant, on controller the refrigeration air-conditioner function button is appeared again, " refrigeration air-conditioner " printed words show that expression has entered the air conditioner refrigerating state on the display screen.Storage tank hot water turns back to the heat supply water running loop that storage tank constitutes a solar water absorption refrigeration again deliver into the generator of lithium bromide water absorption refrigerating plant by the outer circulation pump after.Give a dinner for a visitor from afar cool breeze that its cold water of coiler produces by boasting by fan coil and indoor hot-air of the cold water pipe of lithium bromide water absorption refrigerating plant carries out cold exchange and reduces indoor temperature, utilizes the solar water absorption refrigeration to constitute a refrigeration air-conditioner cooling water running loop.
The present invention utilizes solar energy output different temperatures hot water in Various Seasonal such as Dong Xia and spring and autumn that it is effectively used, utilize lithium-bromide absorption-type refrigerating machine that the high-temperature-hot-water that the solar water heater produces summer is changed into air conditioner refrigerating, alleviate summer air-conditioning shortage of electric power situation, solar water heating and refrigeration air-conditioner combined supply system have been realized, significantly reduce the use of commercial energy, will bring three big benefits of society, economy and environment.
Claims (9)
1, a kind of solar heating and refrigerating air conditioner combined supply apparatus, comprise solar water heater (1), upper hose (2), following hot-water line (9), it is characterized in that upper hose (2) links to each other with heat supply control device (4) with following hot-water line (9), the delivery port of heat supply control device (4) links to each other with water return outlet with the water inlet of B tube connector (6) with floor heating fan coil (7) by A tube connector (5) respectively with water return outlet, the front portion of A tube connector (5) and B tube connector (6) links to each other with input outlet pipe (82) with the input oral siphon (81) of lithium bromide water absorption refrigerating plant (8) respectively, and the output outlet pipe (83) of lithium bromide water absorption refrigerating plant (8) divides Do to link to each other with the rear portion of A tube connector (5) with B tube connector (6) with output return pipe (84).
2, solar heating according to claim 1 and refrigerating air conditioner combined supply apparatus, the structure that it is characterized in that described heat supply control device (4) is: following hot-water line (9) is communicated with by the water inlet (43) of the heat exchanger (44) of outer circulation pump (41) and electricity or gas heating, the delivery port (46) and the A tube connector (5) of the heat exchanger (44) of electricity or gas heating are communicated with, and upper hose (2) and B tube connector (6) are communicated with.
3, solar heating according to claim 2 and refrigerating air conditioner combined supply apparatus is characterized in that the structure of described heat supply control device (4) is: upper hose (2) is communicated with by the water inlet (43) of the heat exchanger (44) of internal circulation pump (48) and electricity or gas heating.
4, solar heating according to claim 3 and refrigerating air conditioner combined supply apparatus, it is characterized in that described outer circulation pump (41) and internal circulation pump (48) respectively with the series connection of A check-valves (42), B check-valves (47).
5, solar heating according to claim 4 and refrigerating air conditioner combined supply apparatus is characterized in that described upper hose (2), down are equipped with valve (3) or magnetic valve (49) in input water inlet pipe (81), input outlet pipe (82), output outlet pipe (83) and the output return pipe (84) of hot-water line (9), A tube connector (5), B tube connector (6), lithium bromide water absorption refrigerating plant (8).
6, solar heating according to claim 1 and refrigerating air conditioner combined supply apparatus is characterized in that described solar water heater (1) is more than 2 or 2, for serially connected or parallel.
7, solar heating according to claim 1 and refrigerating air conditioner combined supply apparatus is characterized in that the heat exchanger (4) of described electricity or gas heating and hot water water pipe (45) are communicated with.
8, according to claim 1,2,3,4,5,6 or 7 described solar heating and refrigerating air conditioner combined supply apparatus, it is characterized in that being provided with control circuit, its structure is: floor heating organ pipe channel temp sensor, solar water container water-temperature water-level sensor, temperature sensor link to each other with the control circuit of control outer circulation pump (41), internal circulation pump (48), magnetic valve (49), electricity or gas heater switch and lithium bromide water absorption refrigerating plant (8) switch.
9, solar heating according to claim 1 and refrigerating air conditioner combined supply apparatus, it is characterized in that described control circuit is provided with the single-chip microcomputer host circuit, control circuit is provided with the single-chip microcomputer host circuit, its Power Entry Module, the phone input module, keyboard input module, the level sensor input module, the cooling-water temperature sensor input module, the temperature sensor input module, pipeline cooling-water temperature sensor input module, antifreeze temperature sensor input module, the defeated module of magnetic valve goes out, the electrical heating output module, the ribbon heater output module, outer circulation pump output module, the internal circulation pump output module, the solution pump output module joins.
Priority Applications (1)
| Application Number | Priority Date | Filing Date | Title |
|---|---|---|---|
| CNA2008100802011A CN101482284A (en) | 2008-12-22 | 2008-12-22 | Solar heating and refrigerating air conditioner combined supply apparatus |
Applications Claiming Priority (1)
| Application Number | Priority Date | Filing Date | Title |
|---|---|---|---|
| CNA2008100802011A CN101482284A (en) | 2008-12-22 | 2008-12-22 | Solar heating and refrigerating air conditioner combined supply apparatus |
Publications (1)
| Publication Number | Publication Date |
|---|---|
| CN101482284A true CN101482284A (en) | 2009-07-15 |
Family
ID=40879506
Family Applications (1)
| Application Number | Title | Priority Date | Filing Date |
|---|---|---|---|
| CNA2008100802011A Pending CN101482284A (en) | 2008-12-22 | 2008-12-22 | Solar heating and refrigerating air conditioner combined supply apparatus |
Country Status (1)
| Country | Link |
|---|---|
| CN (1) | CN101482284A (en) |
Cited By (10)
| Publication number | Priority date | Publication date | Assignee | Title |
|---|---|---|---|---|
| CN101865541A (en) * | 2010-06-30 | 2010-10-20 | 苏州新亚科技有限公司 | a solar system |
| CN101876460A (en) * | 2010-05-20 | 2010-11-03 | 江苏辉煌太阳能股份有限公司 | Thermal storage and energy accumulation conversion device |
| CN101922822A (en) * | 2010-08-03 | 2010-12-22 | 樊光柱 | Solar energy 3D digital control system |
| CN102128520A (en) * | 2010-10-09 | 2011-07-20 | 苏州新亚科技有限公司 | Comprehensive energy-saving control system for building |
| CN102589195A (en) * | 2012-03-19 | 2012-07-18 | 黄如瑾 | Heat supply and refrigeration system combining spatial energy with ground source energy |
| CN105674624A (en) * | 2016-03-24 | 2016-06-15 | 东营佰孚新能源开发有限公司 | Solar heating and refrigerating system |
| CN109084452A (en) * | 2018-08-30 | 2018-12-25 | 青岛海信日立空调系统有限公司 | Air conditioning control method and air conditioner |
| CN109737615A (en) * | 2018-12-28 | 2019-05-10 | 上海理工大学 | Small Household Solar Thermoelectric Cooling Polygeneration System |
| CN110762658A (en) * | 2018-11-28 | 2020-02-07 | 西南科技大学 | A kind of combined solar energy cooling and heating dual supply system and its control method |
| CN111854013A (en) * | 2020-07-29 | 2020-10-30 | 江苏西墅新能源科技有限公司 | Hydraulic system matching device for linkage of floor heating air conditioner |
-
2008
- 2008-12-22 CN CNA2008100802011A patent/CN101482284A/en active Pending
Cited By (15)
| Publication number | Priority date | Publication date | Assignee | Title |
|---|---|---|---|---|
| CN101876460A (en) * | 2010-05-20 | 2010-11-03 | 江苏辉煌太阳能股份有限公司 | Thermal storage and energy accumulation conversion device |
| CN101876460B (en) * | 2010-05-20 | 2012-07-18 | 江苏辉煌太阳能股份有限公司 | Thermal storage and energy accumulation conversion device |
| CN101865541A (en) * | 2010-06-30 | 2010-10-20 | 苏州新亚科技有限公司 | a solar system |
| CN101922822A (en) * | 2010-08-03 | 2010-12-22 | 樊光柱 | Solar energy 3D digital control system |
| CN101922822B (en) * | 2010-08-03 | 2012-05-30 | 樊光柱 | Solar energy 3D digital control system |
| CN102128520B (en) * | 2010-10-09 | 2012-08-01 | 苏州新亚科技有限公司 | Comprehensive energy-saving control system for building |
| CN102128520A (en) * | 2010-10-09 | 2011-07-20 | 苏州新亚科技有限公司 | Comprehensive energy-saving control system for building |
| CN102589195A (en) * | 2012-03-19 | 2012-07-18 | 黄如瑾 | Heat supply and refrigeration system combining spatial energy with ground source energy |
| CN105674624A (en) * | 2016-03-24 | 2016-06-15 | 东营佰孚新能源开发有限公司 | Solar heating and refrigerating system |
| CN109084452A (en) * | 2018-08-30 | 2018-12-25 | 青岛海信日立空调系统有限公司 | Air conditioning control method and air conditioner |
| CN110762658A (en) * | 2018-11-28 | 2020-02-07 | 西南科技大学 | A kind of combined solar energy cooling and heating dual supply system and its control method |
| CN109737615A (en) * | 2018-12-28 | 2019-05-10 | 上海理工大学 | Small Household Solar Thermoelectric Cooling Polygeneration System |
| CN109737615B (en) * | 2018-12-28 | 2021-07-06 | 上海理工大学 | Small Household Solar Thermoelectric Cooling Polygeneration System |
| CN111854013A (en) * | 2020-07-29 | 2020-10-30 | 江苏西墅新能源科技有限公司 | Hydraulic system matching device for linkage of floor heating air conditioner |
| CN111854013B (en) * | 2020-07-29 | 2022-03-25 | 江苏西墅新能源科技有限公司 | Hydraulic system matching device for linkage of floor heating air conditioner |
Similar Documents
| Publication | Publication Date | Title |
|---|---|---|
| CN101482284A (en) | Solar heating and refrigerating air conditioner combined supply apparatus | |
| CN103292393B (en) | Solar photovoltaic photo-thermal combined air conditioner | |
| CN105258377B (en) | Based on solar air source heat pumps trilogy supply device | |
| CN101893299A (en) | Solar adsorption air conditioning system based on phase change cold storage | |
| CN103398505A (en) | Combined heat pump and solar hot water heating and ventilation system | |
| CN106016825A (en) | Solar and air source heat pump dual heat source tri-generation system | |
| CN102538289A (en) | Domestic solar airlift pump absorption type air conditioning system | |
| CN202660658U (en) | Heat pump and fresh air integrated air conditioning system | |
| CN102853490B (en) | Pipeline cold and heat circulation system | |
| CN108731156A (en) | A kind of cold and hot alliance intelligence system based on energy-storage module | |
| CN209569848U (en) | A compound system of indoor air conditioning and hot water supply | |
| CN203413822U (en) | Heat pump machine set for providing hot water and floor heating through low-temperature air source | |
| CN203478690U (en) | Low-temperature air energy heat pump water heater with air conditioning function and floor heating function | |
| CN202442435U (en) | Solar photovoltaic photo-thermal combined air conditioner | |
| CN204757451U (en) | Solar energy auxiliary type heat pump set | |
| CN101285625A (en) | Ground source warm and cold air conditioner system | |
| CN201138027Y (en) | External energy-saving cyclic hot-water air conditioner of heat exchanger | |
| CN217235920U (en) | Lithium bromide refrigeration air conditioning system with double heat sources | |
| CN201331143Y (en) | Household central air-conditioning with fresh air function and hot water system | |
| CN205119551U (en) | Supply device based on solar energy - air source heat pump trigeminy | |
| CN202709357U (en) | Pipeline cold and heat circulation system | |
| CN203052883U (en) | Multi-renewable-energy-source complementary heat pump air-conditioning system | |
| CN203240837U (en) | Circulating energy-saving heating and cooling device | |
| CN201181134Y (en) | Cold/hot wind type solar absorption air conditioner | |
| CN207035371U (en) | A kind of combined heat-pump air-conditioning system based on environment-friendly low-temperature refrigerant |
Legal Events
| Date | Code | Title | Description |
|---|---|---|---|
| C06 | Publication | ||
| PB01 | Publication | ||
| C10 | Entry into substantive examination | ||
| SE01 | Entry into force of request for substantive examination | ||
| C02 | Deemed withdrawal of patent application after publication (patent law 2001) | ||
| WD01 | Invention patent application deemed withdrawn after publication |
Open date: 20090715 |