CN101376556A - Ozone oxidation sterilizing and downflow type aerating biological filter combined waste water treatment apparatus - Google Patents
Ozone oxidation sterilizing and downflow type aerating biological filter combined waste water treatment apparatus Download PDFInfo
- Publication number
- CN101376556A CN101376556A CNA2008101987180A CN200810198718A CN101376556A CN 101376556 A CN101376556 A CN 101376556A CN A2008101987180 A CNA2008101987180 A CN A2008101987180A CN 200810198718 A CN200810198718 A CN 200810198718A CN 101376556 A CN101376556 A CN 101376556A
- Authority
- CN
- China
- Prior art keywords
- water
- aerated filter
- ozone
- downflow
- biological aerated
- Prior art date
- Legal status (The legal status is an assumption and is not a legal conclusion. Google has not performed a legal analysis and makes no representation as to the accuracy of the status listed.)
- Granted
Links
Images
Classifications
-
- Y—GENERAL TAGGING OF NEW TECHNOLOGICAL DEVELOPMENTS; GENERAL TAGGING OF CROSS-SECTIONAL TECHNOLOGIES SPANNING OVER SEVERAL SECTIONS OF THE IPC; TECHNICAL SUBJECTS COVERED BY FORMER USPC CROSS-REFERENCE ART COLLECTIONS [XRACs] AND DIGESTS
- Y02—TECHNOLOGIES OR APPLICATIONS FOR MITIGATION OR ADAPTATION AGAINST CLIMATE CHANGE
- Y02W—CLIMATE CHANGE MITIGATION TECHNOLOGIES RELATED TO WASTEWATER TREATMENT OR WASTE MANAGEMENT
- Y02W10/00—Technologies for wastewater treatment
- Y02W10/10—Biological treatment of water, waste water, or sewage
Landscapes
- Treatment Of Water By Oxidation Or Reduction (AREA)
Abstract
本发明公开了臭氧氧化消毒与下流式曝气生物滤池结合的废水处理装置。该装置包括臭氧发生装置、气水混合装置和下流式曝气生物滤池,所述臭氧发生装置与文丘里管相连;下流式曝气生物滤池由下到上包括气水混合层、承托布水板和生物填料,进水口设置在下流式曝气生物滤池上端,出水口设置在气水混合层;循环进水口位于气水混合层中。臭氧与循环水通过文丘里管进入气水混合层中,臭氧杀灭废水中的微生物,而随臭氧带入的大量空气,则在下流式曝气生物滤池中起到好氧生化处理的气源作用。该发明在一个组合的反应器中实现了臭氧消毒和利用臭氧中的氧气进行曝气生物滤池好氧生化的两个作用,减少了泵与管道,占地面积小,经济且高效。
The invention discloses a waste water treatment device which combines ozone oxidation disinfection with a downflow aerated biological filter tank. The device includes an ozone generating device, a gas-water mixing device and a downflow biological aerated filter, and the ozone generating device is connected with a Venturi tube; the downflow biological aerated filter includes a gas-water mixing layer, a supporting The water distribution plate and the biological filler, the water inlet is set at the upper end of the downflow biological aerated filter, the water outlet is set at the air-water mixed layer; the circulating water inlet is located in the air-water mixed layer. Ozone and circulating water enter the air-water mixed layer through the Venturi tube, and the ozone kills the microorganisms in the wastewater, and the large amount of air brought in with the ozone acts as an aerobic biochemical gas in the downflow biological aerated filter. source effect. The invention realizes the two functions of ozone disinfection and aerobic biochemistry of the biological aerated filter by using the oxygen in the ozone in a combined reactor, reduces pumps and pipelines, occupies a small area, and is economical and efficient.
Description
技术领域 technical field
本发明涉及水处理领域,具体是利用臭氧消毒与下流式曝气生物滤池结合的废水深度处理装置,处理低污染的废水或微污染水源水,做到生化反应与臭氧消毒一体化。The invention relates to the field of water treatment, in particular to a wastewater advanced treatment device that combines ozone disinfection with a downflow biological aerated filter to treat low-pollution wastewater or slightly polluted source water, achieving the integration of biochemical reactions and ozone disinfection.
背景技术 Background technique
臭氧具有极强的氧化性能,其氧化能力仅次于氟,高于氯和高锰酸钾。基于臭氧的强氧化性,且在水中可短时间内自行分解,没有二次污染,是理想的绿色氧化药剂。目前,臭氧技术在水处理领域的应用正不断增加。臭氧不仅具有很强的消毒杀菌作用,还可以氧化去除水中的还原性污染物质。一般臭氧是由臭氧发生器在高压放电管中,由氧气产生臭氧。只有少部分的氧气被转化为臭氧,大约10-20%的氧气被转化为臭氧。在含臭氧的混合气中,若能既利用其中臭氧极强的杀菌作用,又能利用其中的氧气,使氧气成为下流式曝气生物滤池的气源,同时曝气生物滤池四米左右高度的生物填料,又相当于臭氧的尾气破坏体。这样,可以做到一套设备,多重功效,节省了投资费用,提高了处理效果,减少了占地面积。Ozone has extremely strong oxidizing properties, and its oxidizing ability is second only to fluorine, higher than chlorine and potassium permanganate. Based on the strong oxidizing properties of ozone, it can be decomposed in water in a short time without secondary pollution, so it is an ideal green oxidizing agent. At present, the application of ozone technology in the field of water treatment is increasing. Ozone not only has a strong disinfection and sterilization effect, but also can oxidize and remove reducing pollutants in water. Generally, ozone is generated by an ozone generator in a high-voltage discharge tube from oxygen. Only a small portion of the oxygen is converted to ozone, about 10-20% of the oxygen is converted to ozone. In the mixed gas containing ozone, if the strong bactericidal effect of ozone and the oxygen in it can be used, the oxygen can become the gas source of the downflow biological aerated filter. At the same time, the biological aerated filter is about four meters A high degree of biological filler is equivalent to the exhaust gas destroyer of ozone. In this way, one set of equipment can have multiple functions, which saves investment costs, improves the treatment effect, and reduces the occupied area.
曝气生物滤池(BAF)工艺主要应用于低浓度的污水深度处理和原水微污染的预处理,如城市生活污水处理,低浓度工业污水处理,给水的原水预处理等。它是一种微生物接触生长系统,通过附着在填料上的微生物的吸收、降解、氧化、合成等作用,去除可生物降解和利用的溶解性物质。该方法集污水处理曝气池和给水快滤池的特点于一体,高比表面积的粒状填料的使用不仅增大了微生物量,而且微生物的活性高,同时使得废水能同填料表面的微生物充分有效地接触,因而使得曝气生物滤池较一般传统的生物处理技术有更高的处理效率。曝气生物滤池的最大特点是集生物氧化和截留悬浮物于一体,节省了后续二次沉淀池,在保证处理效果的前提下使处理工艺简化。此外,曝气生物滤池工艺还具有有机物容积负荷高、水力负荷大,水力停留时间短、所需基建投资少、能耗及运行成本低及保证较高出水水质等特点。经下流式曝气生物滤池处理后的废水,其有机物已大部分被去除,在曝气生物滤池的下部,废水再经臭氧杀菌,处理后可直接排入环境中,既脱除了废水的COD值,又有较好的消毒杀菌效果。The biological aerated filter (BAF) process is mainly used in the advanced treatment of low-concentration sewage and the pretreatment of micro-pollution of raw water, such as urban domestic sewage treatment, low-concentration industrial sewage treatment, raw water pretreatment of water supply, etc. It is a microbial contact growth system that removes biodegradable and usable dissolved substances through the absorption, degradation, oxidation, and synthesis of microorganisms attached to the filler. This method integrates the characteristics of the sewage treatment aeration tank and the water supply fast filter tank. The use of granular fillers with high specific surface area not only increases the microbial biomass, but also has high microbial activity, and at the same time makes the wastewater fully effective with the microorganisms on the surface of the filler. Ground contact, thus making the biological aerated filter have a higher treatment efficiency than the general traditional biological treatment technology. The biggest feature of the biological aerated filter is that it integrates biological oxidation and interception of suspended solids, saves the subsequent secondary sedimentation tank, and simplifies the treatment process on the premise of ensuring the treatment effect. In addition, the biological aerated filter process also has the characteristics of high organic matter volume load, large hydraulic load, short hydraulic retention time, less infrastructure investment, low energy consumption and operating costs, and high effluent quality. Most of the organic matter in the wastewater treated by the downflow biological aerated filter has been removed. In the lower part of the biological aerated filter, the wastewater is sterilized by ozone and can be directly discharged into the environment after treatment, which not only removes the waste water COD value, and good disinfection and sterilization effect.
发明内容 Contents of the invention
本发明装置的目的在于利用臭氧混合气体中的臭氧杀菌作用,又充分利用臭氧混合气中的氧气作为下流式曝气生物滤池的气源,是将臭氧杀菌与下流式曝气生物滤池结合的废水深度处理装置。The purpose of the device of the present invention is to utilize the ozone sterilizing effect in the ozone mixed gas, and make full use of the oxygen in the ozone mixed gas as the gas source of the downflow biological aerated filter, which is to combine the ozone sterilization with the downflow biological aerated filter waste water advanced treatment device.
本发明原理:采用臭氧消毒与下流式曝气生物滤池一体化系统,在曝气生物滤池的下部,处理出水流经气水混合区,既在上部的生物填料层中脱除了废水的COD值,又在池的下部有较好的消毒杀菌效果,使得出水更加安全可靠。The principle of the invention: the integrated system of ozone disinfection and downflow biological aerated filter is adopted, and the treated effluent flows through the gas-water mixing zone in the lower part of the biological aerated filter, and the COD of the wastewater is removed in the upper biological packing layer value, and has a better disinfection and sterilization effect in the lower part of the pool, making the water outlet safer and more reliable.
本发明解决其技术问题所采用的技术方案是:The technical solution adopted by the present invention to solve its technical problems is:
臭氧氧化消毒与下流式曝气生物滤池结合的废水处理装置,包括臭氧发生装置、气水混合装置和下流式曝气生物滤池,所述气水混合装置包括依次连接的输送水泵、文丘里管和循环进水口,臭氧发生装置与文丘里管相连;所述下流式曝气生物滤池由下到上包括气水混合层、承托布水板和生物填料,进水口设置在下流式曝气生物滤池上端,出水口设置在气水混合层;循环进水口位于气水混合层中,生物填料为陶粒,粒径为2~6mm,高度为3~5m。A wastewater treatment device combined with ozone oxidation disinfection and a downflow biological aerated filter, including an ozone generating device, a gas-water mixing device and a downflow biological aerated filter, the gas-water mixing device includes a delivery pump connected in sequence, a Venturi The ozone generator is connected to the Venturi tube; the downflow biological aerated filter includes an air-water mixed layer, supporting cloth water board and biological filler from bottom to top, and the water inlet is set in the downflow aeration At the upper end of the gas biological filter, the water outlet is set in the gas-water mixed layer; the circulating water inlet is located in the gas-water mixed layer, and the biological filler is ceramsite with a particle size of 2-6mm and a height of 3-5m.
所述下流式曝气生物滤池还包括反冲洗风装置,所述反冲洗装置的反冲洗水泵经第四阀门与下流式曝气生物滤池的气水混合层连通;反冲洗气泵也与气水混合层连通,反冲洗出水堰位于下流式曝气生物滤池的上端,反冲洗出水堰上设有反冲洗出水口。The downflow biological aerated filter also includes a backwash air device, and the backwash water pump of the backwash device communicates with the gas-water mixed layer of the downflow biological aerated filter through the fourth valve; The water mixing layer is connected, the backwash outlet weir is located at the upper end of the downflow biological aerated filter, and the backwash outlet weir is provided with a backwash outlet.
下流式曝气生物滤池还包括检修人孔,设置在气水混合层上。The downflow biological aerated filter also includes maintenance manholes, which are set on the air-water mixing layer.
所述承托布水布气板12为钢板或者钢筋混凝土结构,在钢板或者钢筋混凝土板上安装ABS塑料或者不锈钢滤头。The supporting water distribution and
所述生物填料层由陶粒、活性炭、蜂窝陶瓷、沸石或火山岩颗粒填料中的一种堆积形成,粒径为2~6mm。The biological filler layer is formed by accumulating one of ceramsite, activated carbon, honeycomb ceramics, zeolite or volcanic rock particle filler, and the particle size is 2-6mm.
所述废水进水输送水泵与文丘里管连通的管道上依次设有第一阀门和流量计。A first valve and a flow meter are sequentially provided on the pipeline connecting the waste water inlet pump and the Venturi tube.
本发明具有如下优点和积极效果:The present invention has following advantage and positive effect:
(1)本发明在一个组合的反应器中实现了臭氧氧化消毒和曝气生物滤池生化的两个作用,利用进水水泵和文丘里管产生的吸力,将臭氧吸入气水混合区,在一个反应器中实现了臭氧消毒杀菌和曝气生物滤池的联合处理。减少了泵与管道,及各单元间流量不平衡的问题,处理系统紧凑,占地面积小。(1) The present invention has realized two effects of ozone oxidation disinfection and biological aerated filter biochemistry in a combined reactor, utilizes the suction that water inlet water pump and Venturi tube produce, ozone is sucked into the air-water mixing zone, in The joint treatment of ozone disinfection and biological aerated filter is realized in one reactor. The problem of unbalanced flow between pumps and pipelines and units is reduced, and the processing system is compact and occupies a small area.
(2)经下流式曝气生物滤池处理后的废水,其有机物已大部分被去除,在曝气生物滤池的下部,废水再经臭氧杀菌,处理后可直接排入环境中,既脱除了废水的COD值,又有较好的消毒杀菌效果。(2) Most of the organic matter in the wastewater treated by the downflow biological aerated filter has been removed. In the lower part of the biological aerated filter, the wastewater is sterilized by ozone and can be directly discharged into the environment after treatment. In addition to the COD value of wastewater, it also has a good disinfection and sterilization effect.
(3)由于臭氧尾气要经过充满吸附载体的填料层,因此尾气中基本没有臭氧残留,不必再安装臭氧破坏系统。溶于废水中的臭氧在曝气生物滤池后的清水池中停留时间为1~3小时,相对于臭氧的半衰期15~20分钟,停留的时间够长,同时,下流式曝气生物滤池通过调节出水管的高度,保证生物填料上部的气水混合层有1m以上的保护高度,进一步分解降低废水中可能残留的微量臭氧。(3) Since the ozone tail gas passes through the packing layer filled with the adsorption carrier, there is basically no ozone residue in the tail gas, and it is not necessary to install an ozone destruction system. Ozone dissolved in wastewater stays in the clear water pool after the biological aerated filter for 1 to 3 hours, which is long enough compared to the half-life of ozone of 15 to 20 minutes. At the same time, the downflow biological aerated filter By adjusting the height of the outlet pipe, ensure that the air-water mixed layer on the upper part of the biological filler has a protective height of more than 1m, and further decompose and reduce the trace amount of ozone that may remain in the wastewater.
附图说明: Description of drawings:
图1是臭氧氧化消毒与下流式曝气生物滤池结合的废水处理装置结构示意图。Figure 1 is a schematic structural diagram of a wastewater treatment device that combines ozone oxidation disinfection with a downflow biological aerated filter.
图2是下流式曝气生物滤池及其反冲洗系统结构示意图。Figure 2 is a schematic diagram of the structure of the downflow biological aerated filter and its backwashing system.
具体实施方式 Detailed ways
下面结合附图和实例对本发明作进一步详细的说明,但本发明的实施方式不限于此。The present invention will be described in further detail below with reference to the accompanying drawings and examples, but the embodiments of the present invention are not limited thereto.
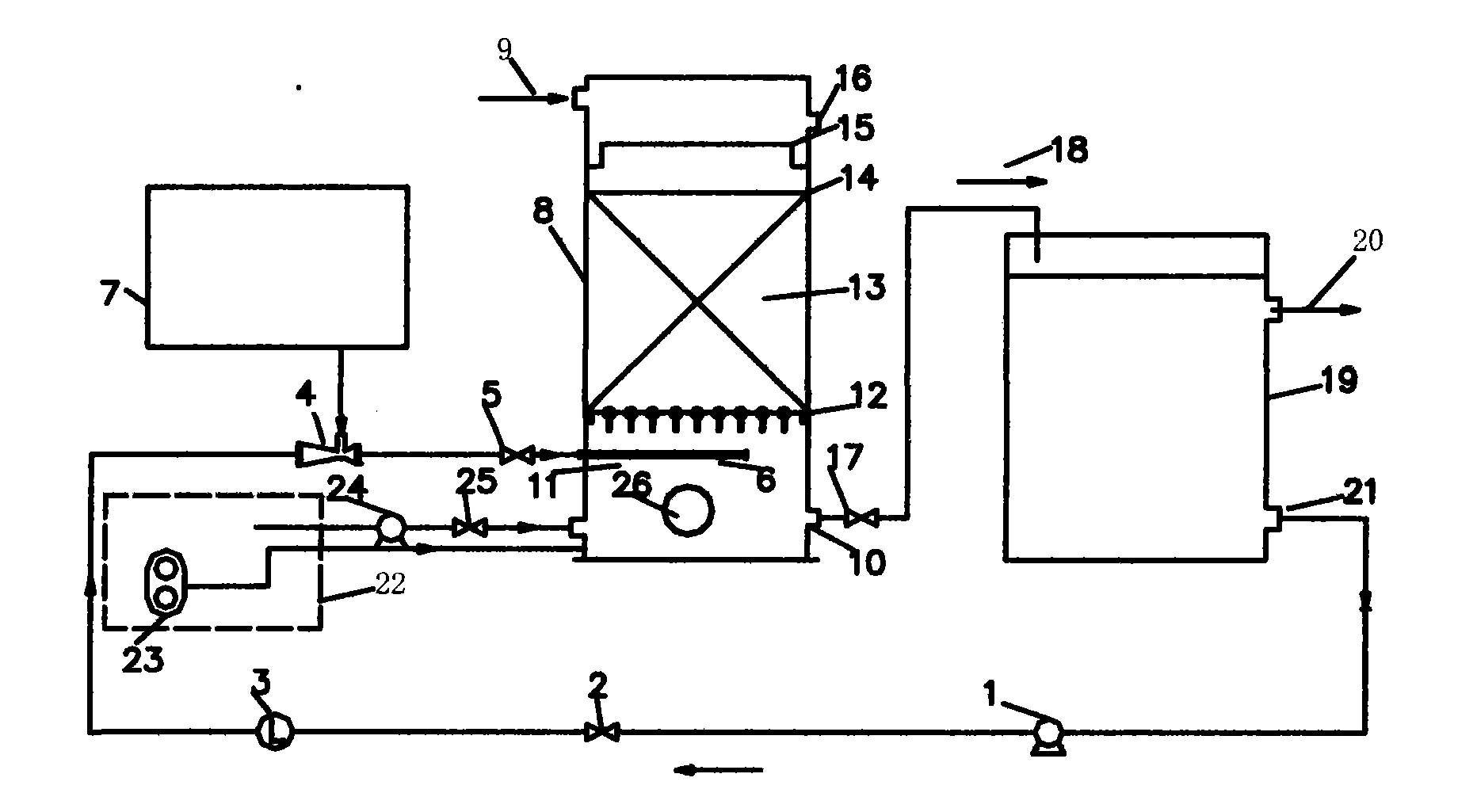
如图1、2所示:臭氧氧化与下流式曝气生物滤池结合的废水处理装置包括臭氧发生装置7、气水混合装置与下流式曝气生物滤池8。气水混合装置包括依次连接的输送水泵1、第一阀门2、流量计3、文丘里管4、第二阀门5和循环水进口6,循环水进口6为喷射进口;下流式曝气生物滤池8由下到上包括气水混合层11、承托布水布气板12,生物填料层13和钢丝网14;循环水进口6位于气水混合层11中;臭氧发生装置7与文丘里管4相连,臭氧通过文丘里管进入下流式曝气生物滤池8。进水口9设置在下流式曝气生物滤池上端,是整个系统的正常进水口,即从其它系统来的废水是从进水口9进入池体的,最后,经处理及消毒后从出水口20排出处理系统。生物填料层由陶粒堆积形成,陶粒粒径为2~6mm,高度为3~5m。钢丝网14为不锈钢钢丝网。处理后出水通过下流式曝气生物滤池出水口10,流经清水池进水管18,排放至清水池19中。清水池中的水,一部分通过清水池出水口20排放,另一部分通过循环水出口21,经输送水泵1回流至下流式曝气生物滤池中。As shown in Figures 1 and 2, the wastewater treatment device combining ozone oxidation and downflow biological aerated filter includes an ozone generator 7, an air-water mixing device and a downflow biological
臭氧发生装置通常包括空气压缩机,空气干燥器,纯氧制造机以及臭氧发生器(约将氧气的10-20%转化为臭氧)四部分,目前中、大型的臭氧发生装置(500g/h以上的臭氧量)都采用该工艺制备臭氧,有成套设备,因此不再详细说明。Ozone generators usually include air compressors, air dryers, pure oxygen generators and ozone generators (converting about 10-20% of oxygen into ozone). At present, medium and large ozone generators (more than 500g/h The amount of ozone) all use this process to prepare ozone, and there are complete sets of equipment, so no more details.
下流式曝气生物滤池8还包括反冲洗风机水泵系统22,反冲洗风机水泵系统包括反冲洗气泵23、反冲洗水泵24、第四阀门25。反冲洗水泵24经第四阀门25与下流式曝气生物滤池8的气水混合层11连通。反冲洗气泵23也与气水混合层11连通。反冲洗时,进水口9停止进水,第三阀门17关闭,反冲洗风机水泵系统22与反冲洗布气布水层11通过管道连通,反冲洗气水经依次反冲洗风机水泵22、反冲洗布水布气层11、承托布水布气板12、生物填料层13和钢丝网14进行气水联合反冲洗。反冲洗出水堰15位于下流式曝气生物滤池8的上端,钢丝网14的上部。反冲洗出水堰15上设有反冲洗出水口16。反冲洗后的废水通过反冲洗出水堰15,由反冲洗出水口16,排回废水处理原调节池。The downflow biological
下流式曝气生物滤池8还包括检修人孔26,设置在气水混合层11上,便于进行设备的定期检修维护。The downflow biological
下流式曝气生物滤池的承托布水布气板12为钢板或者钢筋混凝土结构,在钢板或者钢筋混凝土板上安装ABS塑料或者不锈钢滤头进行布气布水。The supporting water and
使用时,废水通过进水口9进入下流式曝气生物滤池,臭氧和循环水经过循环水进口6进入气水混合层11,然后臭氧气体中的尾气上升经过承托布水布气板12,使得臭氧尾气中的氧气等气体均匀地上升到曝气生物滤池,在生物填料层13进行反应,其生物填料层由陶粒组成,其粒径为2~6mm,高度为3~5m,保证反应时间1-2小时。废水向下流,通过生物填料层13进行好氧生物降解,同时过滤去除悬浮物,然后通过承托布水布气板12的滤头,再通过气水混合层11中臭氧的消毒杀菌作用,最后通过出水口10废水达标排放或者进行中水回用。When in use, the waste water enters the downstream biological aerated filter through the water inlet 9, the ozone and circulating water enter the air-water mixed layer 11 through the circulating water inlet 6, and then the tail gas in the ozone gas rises through the supporting
该发明在一个组合的反应器中实现了臭氧消毒和利用臭氧中的氧气进行曝气生物滤池好氧生化的两个作用,减少了泵与管道,处理系统紧凑,相对于分开利用臭氧消毒和利用臭氧中的氧气进行曝气生物滤池好氧生化的废水处理装置,占地面积减少50%,经济成本减少30%。本发明可以单独对废水进行处理,也可以和其他工艺进行组合,作为一个单元对废水进行处理,特别是医院废水等含有微生物污染风险的废水处理场合。The invention realizes the two functions of ozone disinfection and the aerobic biochemistry of the biological aerated filter by using the oxygen in the ozone in a combined reactor, reduces pumps and pipelines, and has a compact treatment system. Compared with the separate use of ozone disinfection and The waste water treatment device using the oxygen in the ozone to carry out the aerobic biochemistry of the biological aerated filter can reduce the occupied area by 50%, and the economic cost can be reduced by 30%. The present invention can treat waste water alone, and can also be combined with other processes to treat waste water as a unit, especially in hospital waste water and other waste water treatment occasions with microbial contamination risks.
Claims (6)
Priority Applications (1)
| Application Number | Priority Date | Filing Date | Title |
|---|---|---|---|
| CN2008101987180A CN101376556B (en) | 2008-09-24 | 2008-09-24 | Ozone oxidation sterilizing and downflow type aerating biological filter combined waste water treatment apparatus |
Applications Claiming Priority (1)
| Application Number | Priority Date | Filing Date | Title |
|---|---|---|---|
| CN2008101987180A CN101376556B (en) | 2008-09-24 | 2008-09-24 | Ozone oxidation sterilizing and downflow type aerating biological filter combined waste water treatment apparatus |
Publications (2)
| Publication Number | Publication Date |
|---|---|
| CN101376556A true CN101376556A (en) | 2009-03-04 |
| CN101376556B CN101376556B (en) | 2011-03-16 |
Family
ID=40420301
Family Applications (1)
| Application Number | Title | Priority Date | Filing Date |
|---|---|---|---|
| CN2008101987180A Expired - Fee Related CN101376556B (en) | 2008-09-24 | 2008-09-24 | Ozone oxidation sterilizing and downflow type aerating biological filter combined waste water treatment apparatus |
Country Status (1)
| Country | Link |
|---|---|
| CN (1) | CN101376556B (en) |
Cited By (19)
| Publication number | Priority date | Publication date | Assignee | Title |
|---|---|---|---|---|
| CN101798159A (en) * | 2010-03-26 | 2010-08-11 | 广东溢达纺织有限公司 | Textile printing and dyeing wastewater treatment device and technology |
| CN101863589A (en) * | 2010-06-09 | 2010-10-20 | 中国海洋石油总公司 | Method for advanced treatment of wastewater by using combination of catalytic ozonation and internal circulation biological filter |
| CN101948163A (en) * | 2010-08-27 | 2011-01-19 | 陕西科技大学 | Process method for improving biochemical property of industrial waste water |
| CN104591377A (en) * | 2015-01-29 | 2015-05-06 | 南京大学 | Method for treating nitrobenzene wastewater by using ozone biological aerated filter and application thereof |
| CN104787974A (en) * | 2015-04-13 | 2015-07-22 | 中国环境科学研究院 | Phosphorus removal biological aerated filter-catalytic ozonation coupling device and use method thereof |
| CN105502628A (en) * | 2015-12-03 | 2016-04-20 | 湖南城市学院 | Cycling treatment system for low-concentration cyanide-containing wastewater |
| CN105923827A (en) * | 2016-06-02 | 2016-09-07 | 王爱华 | Automatic wastewater treatment equipment |
| CN107902851A (en) * | 2017-12-27 | 2018-04-13 | 苏伊士水务工程有限责任公司 | Ozone treatment and biological filter combined wastewater treatment system and method |
| CN107986425A (en) * | 2017-12-15 | 2018-05-04 | 江苏湖大化工科技有限公司 | A kind of sewage disposal ozone oxidation reaction device |
| CN108473348A (en) * | 2016-01-21 | 2018-08-31 | 苏伊士国际公司 | Pass through the method and apparatus of sewage oxidation treatment |
| CN110182935A (en) * | 2019-06-12 | 2019-08-30 | 河南小威环境科技有限公司 | A kind of catalytic ozonation reaction method and device |
| CN110577274A (en) * | 2019-09-03 | 2019-12-17 | 麦王环境技术股份有限公司 | Waste water treatment device |
| CN111362500A (en) * | 2020-02-24 | 2020-07-03 | 生态环境部南京环境科学研究所 | Integrated equipment for water pollution control and utilization |
| CN111453825A (en) * | 2020-05-22 | 2020-07-28 | 河南省化工研究所有限责任公司 | A kind of medical waste water ozone disinfection device and disinfection process method |
| CN111470738A (en) * | 2020-05-26 | 2020-07-31 | 舆溪环保科技股份有限公司 | Sewage treatment device |
| CN111908650A (en) * | 2020-06-28 | 2020-11-10 | 中船第九设计研究院工程有限公司 | Novel marine sewage treatment device |
| CN112811622A (en) * | 2020-12-31 | 2021-05-18 | 上海砼仁环保技术发展有限公司 | Biological filter |
| CN113461240A (en) * | 2021-07-24 | 2021-10-01 | 安徽天柱绿色能源科技有限公司 | Device and method for efficiently treating domestic sewage by using ozone |
| CN119707138A (en) * | 2023-09-26 | 2025-03-28 | 中国石油天然气股份有限公司 | Low-energy-consumption waste gas cooperative sewage treatment system and method |
-
2008
- 2008-09-24 CN CN2008101987180A patent/CN101376556B/en not_active Expired - Fee Related
Cited By (22)
| Publication number | Priority date | Publication date | Assignee | Title |
|---|---|---|---|---|
| CN101798159A (en) * | 2010-03-26 | 2010-08-11 | 广东溢达纺织有限公司 | Textile printing and dyeing wastewater treatment device and technology |
| CN101863589A (en) * | 2010-06-09 | 2010-10-20 | 中国海洋石油总公司 | Method for advanced treatment of wastewater by using combination of catalytic ozonation and internal circulation biological filter |
| CN101948163A (en) * | 2010-08-27 | 2011-01-19 | 陕西科技大学 | Process method for improving biochemical property of industrial waste water |
| CN104591377A (en) * | 2015-01-29 | 2015-05-06 | 南京大学 | Method for treating nitrobenzene wastewater by using ozone biological aerated filter and application thereof |
| CN104787974A (en) * | 2015-04-13 | 2015-07-22 | 中国环境科学研究院 | Phosphorus removal biological aerated filter-catalytic ozonation coupling device and use method thereof |
| CN105502628A (en) * | 2015-12-03 | 2016-04-20 | 湖南城市学院 | Cycling treatment system for low-concentration cyanide-containing wastewater |
| CN108473348B (en) * | 2016-01-21 | 2022-03-08 | 苏伊士国际公司 | Method and apparatus for treating waste water by oxidation |
| CN108473348A (en) * | 2016-01-21 | 2018-08-31 | 苏伊士国际公司 | Pass through the method and apparatus of sewage oxidation treatment |
| CN105923827A (en) * | 2016-06-02 | 2016-09-07 | 王爱华 | Automatic wastewater treatment equipment |
| CN107986425A (en) * | 2017-12-15 | 2018-05-04 | 江苏湖大化工科技有限公司 | A kind of sewage disposal ozone oxidation reaction device |
| CN107902851A (en) * | 2017-12-27 | 2018-04-13 | 苏伊士水务工程有限责任公司 | Ozone treatment and biological filter combined wastewater treatment system and method |
| CN110182935A (en) * | 2019-06-12 | 2019-08-30 | 河南小威环境科技有限公司 | A kind of catalytic ozonation reaction method and device |
| CN110577274A (en) * | 2019-09-03 | 2019-12-17 | 麦王环境技术股份有限公司 | Waste water treatment device |
| CN111362500A (en) * | 2020-02-24 | 2020-07-03 | 生态环境部南京环境科学研究所 | Integrated equipment for water pollution control and utilization |
| CN111362500B (en) * | 2020-02-24 | 2022-04-12 | 生态环境部南京环境科学研究所 | Integrated equipment for water pollution control and utilization |
| CN111453825A (en) * | 2020-05-22 | 2020-07-28 | 河南省化工研究所有限责任公司 | A kind of medical waste water ozone disinfection device and disinfection process method |
| CN111470738A (en) * | 2020-05-26 | 2020-07-31 | 舆溪环保科技股份有限公司 | Sewage treatment device |
| CN111908650A (en) * | 2020-06-28 | 2020-11-10 | 中船第九设计研究院工程有限公司 | Novel marine sewage treatment device |
| CN111908650B (en) * | 2020-06-28 | 2023-09-05 | 中船第九设计研究院工程有限公司 | Novel marine sewage treatment device |
| CN112811622A (en) * | 2020-12-31 | 2021-05-18 | 上海砼仁环保技术发展有限公司 | Biological filter |
| CN113461240A (en) * | 2021-07-24 | 2021-10-01 | 安徽天柱绿色能源科技有限公司 | Device and method for efficiently treating domestic sewage by using ozone |
| CN119707138A (en) * | 2023-09-26 | 2025-03-28 | 中国石油天然气股份有限公司 | Low-energy-consumption waste gas cooperative sewage treatment system and method |
Also Published As
| Publication number | Publication date |
|---|---|
| CN101376556B (en) | 2011-03-16 |
Similar Documents
| Publication | Publication Date | Title |
|---|---|---|
| CN101376556B (en) | Ozone oxidation sterilizing and downflow type aerating biological filter combined waste water treatment apparatus | |
| CN100494103C (en) | Integrated ozone and aeration biological filtering pool water treatment apparatus and method | |
| CN102115253B (en) | Novel multi-technology synergetic catalysis advanced micro-bubble ozone oxidation tower | |
| CN201240972Y (en) | Waste water advanced treatment apparatus combining ozone oxidation and downflow type aerating biological filter pool | |
| CN101323493A (en) | A wastewater treatment device based on ozone oxidation and biological aerated filter | |
| CN102180556B (en) | Adsorption regeneration-photocatalysis advanced oxidation water treatment equipment | |
| CN107473435B (en) | A catalytic oxidation method for the treatment of low-concentration biorefractory industrial organic wastewater | |
| CN106554129A (en) | Integral synchronous nitration denitrification sewage-treatment plant | |
| CN103288295A (en) | Water treatment method and water treatment system | |
| CN101538102A (en) | Ozone-bacteria filter system for advanced treatment of hardly-degradable organic wastewater | |
| CN101172744B (en) | A treatment method and device for recycling dimethyl ether production wastewater to industrial circulating cooling water | |
| CN111484176A (en) | Dual-waveband ultraviolet light catalytic advanced oxidation device and process | |
| CN103601339B (en) | Fe, Mn and ammonia nitrogen collaborative removal process system in a kind of compound micro-polluted source water | |
| CN104150657A (en) | Sewage three-level effluent advanced treatment device and treatment method | |
| CN101717151A (en) | Artificial wetland sewage treatment method | |
| CN100522829C (en) | A photocatalytic integrated device for advanced treatment of drinking water | |
| CN204873956U (en) | High concentration difficult degradation organic waste water's little electrolysis equipment of indisputable carbon is handled to improved generation | |
| CN204111517U (en) | The three-dimensional electric biological coupling reactor of a kind of air water anisotropic flow | |
| CN101638285A (en) | Sewage purification processing system | |
| CN106430835A (en) | Embedded ozone membrane bioreactor (MBR) device and embedded ozone MBR treatment method | |
| CN103193360B (en) | Nitrogen and phosphorus removal integrated biological aerated filter water purification system and water purification method thereof | |
| CN212713082U (en) | A dual-band ultraviolet photocatalytic advanced oxidation device | |
| CN213231883U (en) | Device for treating wastewater based on physical adsorption coupling photo-Fenton oxidation technology | |
| CN101955301A (en) | Method and equipment for treating micropollution raw water based on biological bamboo charcoal contact oxidation method | |
| CN206395867U (en) | A kind of purifying device using photo-catalysis |
Legal Events
| Date | Code | Title | Description |
|---|---|---|---|
| C06 | Publication | ||
| PB01 | Publication | ||
| C10 | Entry into substantive examination | ||
| SE01 | Entry into force of request for substantive examination | ||
| C14 | Grant of patent or utility model | ||
| GR01 | Patent grant | ||
| CF01 | Termination of patent right due to non-payment of annual fee |
Granted publication date: 20110316 Termination date: 20180924 |
|
| CF01 | Termination of patent right due to non-payment of annual fee |
