CN101290144A - A multifunctional microwave oven with steam heating - Google Patents
A multifunctional microwave oven with steam heating Download PDFInfo
- Publication number
- CN101290144A CN101290144A CNA2008100286569A CN200810028656A CN101290144A CN 101290144 A CN101290144 A CN 101290144A CN A2008100286569 A CNA2008100286569 A CN A2008100286569A CN 200810028656 A CN200810028656 A CN 200810028656A CN 101290144 A CN101290144 A CN 101290144A
- Authority
- CN
- China
- Prior art keywords
- steam
- microwave oven
- outlet pipe
- water
- heating
- Prior art date
- Legal status (The legal status is an assumption and is not a legal conclusion. Google has not performed a legal analysis and makes no representation as to the accuracy of the status listed.)
- Granted
Links
- 238000010438 heat treatment Methods 0.000 title claims abstract description 38
- XLYOFNOQVPJJNP-UHFFFAOYSA-N water Substances O XLYOFNOQVPJJNP-UHFFFAOYSA-N 0.000 claims abstract description 60
- 235000013305 food Nutrition 0.000 claims abstract description 9
- 235000013361 beverage Nutrition 0.000 claims abstract description 5
- 238000005485 electric heating Methods 0.000 claims abstract description 4
- 238000007789 sealing Methods 0.000 claims description 6
- 235000013336 milk Nutrition 0.000 description 7
- 239000008267 milk Substances 0.000 description 7
- 210000004080 milk Anatomy 0.000 description 7
- 241000190070 Sarracenia purpurea Species 0.000 description 5
- 238000010586 diagram Methods 0.000 description 5
- 238000005086 pumping Methods 0.000 description 3
- 235000005979 Citrus limon Nutrition 0.000 description 2
- 244000131522 Citrus pyriformis Species 0.000 description 2
- 244000068988 Glycine max Species 0.000 description 2
- 235000010469 Glycine max Nutrition 0.000 description 2
- XEEYBQQBJWHFJM-UHFFFAOYSA-N Iron Chemical compound [Fe] XEEYBQQBJWHFJM-UHFFFAOYSA-N 0.000 description 2
- 238000004140 cleaning Methods 0.000 description 2
- 235000011389 fruit/vegetable juice Nutrition 0.000 description 2
- 239000000463 material Substances 0.000 description 2
- 238000003756 stirring Methods 0.000 description 2
- 238000010793 Steam injection (oil industry) Methods 0.000 description 1
- 244000269722 Thea sinensis Species 0.000 description 1
- 230000005856 abnormality Effects 0.000 description 1
- 238000010411 cooking Methods 0.000 description 1
- 238000005034 decoration Methods 0.000 description 1
- 230000007547 defect Effects 0.000 description 1
- 230000007812 deficiency Effects 0.000 description 1
- 230000000694 effects Effects 0.000 description 1
- 239000012530 fluid Substances 0.000 description 1
- 229910052742 iron Inorganic materials 0.000 description 1
- 230000007774 longterm Effects 0.000 description 1
- 238000000034 method Methods 0.000 description 1
- 235000015097 nutrients Nutrition 0.000 description 1
- 239000007921 spray Substances 0.000 description 1
- 238000005507 spraying Methods 0.000 description 1
- 239000013589 supplement Substances 0.000 description 1
- 238000009827 uniform distribution Methods 0.000 description 1
Images
Landscapes
- Electric Ovens (AREA)
- Commercial Cooking Devices (AREA)
Abstract
一种具有蒸汽加热的多功能微波炉,包括炉体、控制面板和设置在炉体内的电加热式蒸汽发生器,其蒸汽发生器的出汽管道上连接有外置式喷嘴机构。蒸汽发生器上有两个接头,其中一个接头为出汽管道,上连接有控制流向的两位三通电磁阀,一路通向加热食物的内胆,另一路连接外置式喷嘴机构;另一接头为出水管道,上连有单向电磁阀,通过三通管与出气管前端相连。外置式喷嘴机构包括三通阀,分别连接出汽管道末端、饮料管和喷嘴。本发明充分利用蒸汽发生器的作用,完善微波炉的功能,其结构简单合理、使用方便、实用性强。
A multifunctional microwave oven with steam heating includes a furnace body, a control panel and an electric heating steam generator arranged in the furnace body, and an external nozzle mechanism is connected to the steam outlet pipe of the steam generator. There are two joints on the steam generator, one of which is a steam outlet pipe, which is connected with a two-position three-way solenoid valve to control the flow direction, one way leads to the inner tank for heating food, and the other is connected to the external nozzle mechanism; the other joint It is a water outlet pipe, connected with a one-way electromagnetic valve, and connected with the front end of the air outlet pipe through a three-way pipe. The external nozzle mechanism includes a three-way valve, which is respectively connected to the end of the steam outlet pipe, the beverage pipe and the nozzle. The invention makes full use of the function of the steam generator, perfects the function of the microwave oven, and has simple and reasonable structure, convenient use and strong practicability.
Description
技术领域 technical field
本发明涉及一种微波炉,特别是具有蒸汽加热的多功能微波炉。The invention relates to a microwave oven, in particular to a multifunctional microwave oven with steam heating.
背景技术 Background technique
现有的蒸汽微波炉种类较多、结构各异。它们都是单纯的由蒸汽发生器产生蒸汽后通到炉胆来补充食物的水分,而没有更好地利用所产生的蒸汽。此外,在微波炉内用微波来加热牛奶、豆浆等流质时,容易沸腾逸出,并对水杯的材质有一定的要求,给用户造成使用不便。同时,由于蒸汽功能的微波炉都无排水结构,每次使用后残留在蒸汽发生器中的水不排掉,长时间放置后下次使用水会变质,又用于加热食物,不利于食物卫生。此外,蒸汽发生器长期使用后内部会残留许多水垢,影响蒸汽发生器的加热效率。中国专利号ZL2005200573673中公开了一种具有蒸汽加热的微波炉,包括微波炉本体,微波炉侧面设置有蒸汽发生器,该蒸汽发生器包括产生蒸汽的发热盘以及设置在微波炉侧面的水箱,水箱与发热盘之间设置有水泵,微波炉腔体内壁上设置有蒸汽喷出孔。水箱插装在水箱支撑板上,水箱支撑板可转动的与微波炉侧壁铰接,水箱支撑板上方设置有滑动管接头,滑动管接头的进水口与水箱出水口相接,滑动管接头的出水口与水泵进水口相接,水泵出水口与发热盘的入水口相接,发热盘的蒸汽出口与蒸汽槽相连通,蒸汽槽覆盖在蒸汽喷出孔上,蒸汽喷出孔环布在微波炉腔体内壁底部。该结构蒸汽产生量大、蒸汽分布均匀、烹饪后食物口感好。但所产生的蒸汽仍然未作它用,有必要进一步改进和完善。There are many types of existing steam microwave ovens with different structures. They are all simply passed to the furnace gall to supplement the moisture of food after the steam generator produces steam, but do not make better use of the produced steam. In addition, when microwaves are used to heat fluids such as milk and soybean milk in a microwave oven, they are easy to boil and escape, and there are certain requirements for the material of the water cup, which causes inconvenience to users. At the same time, since microwave ovens with steam function have no drainage structure, the water remaining in the steam generator will not be drained after each use. After a long period of storage, the water will deteriorate in the next use, and it will be used to heat food again, which is not conducive to food hygiene. In addition, after long-term use of the steam generator, a lot of scale will remain inside, which will affect the heating efficiency of the steam generator. Chinese Patent No. ZL2005200573673 discloses a microwave oven with steam heating, which includes a microwave oven body and a steam generator on the side of the microwave oven. The steam generator includes a heating plate for generating steam and a water tank arranged on the side of the microwave oven. A water pump is arranged between them, and steam ejection holes are arranged on the inner wall of the cavity of the microwave oven. The water tank is inserted on the water tank support plate, which is rotatably hinged to the side wall of the microwave oven. A sliding pipe joint is arranged above the water tank support plate. The water inlet of the sliding pipe joint is connected with the water outlet of the water tank, and the water outlet of the sliding pipe joint It is connected to the water inlet of the water pump, the water outlet of the water pump is connected to the water inlet of the heating plate, the steam outlet of the heating plate is connected to the steam groove, the steam groove covers the steam ejection hole, and the steam ejection hole ring is arranged in the cavity of the microwave oven bottom of the wall. The structure has a large amount of steam generation, uniform distribution of steam, and good taste of food after cooking. But the produced steam is still not used for other purposes, it is necessary to further improve and perfect.
发明内容 Contents of the invention
本发明的目的旨在提供一种结构简单合理、使用方便、具有多用途的蒸汽加热的多功能微波炉,以克服现有技术中的不足之处。The object of the present invention is to provide a multifunctional microwave oven with simple and reasonable structure, convenient use and multipurpose steam heating, so as to overcome the deficiencies in the prior art.
按此目的设计的一种具有蒸汽加热的多功能微波炉,包括炉体、控制面板和设置在炉体内的电加热式蒸汽发生器,其结构特征是蒸汽发生器的出汽管道上连接有外置式喷嘴机构。A multifunctional microwave oven with steam heating designed according to this purpose, including a furnace body, a control panel and an electric heating steam generator installed in the furnace body, its structural feature is that the steam outlet pipe of the steam generator is connected with an external nozzle mechanism.
所述蒸汽发生器上有两个接头,一个接头为出汽管道,上连接有控制流向的两位三通电磁阀,一路通向加热食物的内胆,另一路连接外置式喷嘴机构;另一接头为出水管道,上连有单向电磁阀,通过三通管与出气管前端相连。There are two joints on the steam generator, one joint is a steam outlet pipe, which is connected with a two-position three-way solenoid valve to control the flow direction. The joint is a water outlet pipe, connected with a one-way electromagnetic valve, and connected with the front end of the air outlet pipe through a three-way pipe.
所述外置式喷嘴机构包括二通阀,一端连接出汽管道末端,另一端连接喷嘴;或者包括三通阀,分别连接出汽管道末端、饮料管和喷嘴。所述外置式喷嘴机构设置在内胆外侧,喷嘴机构设置在外装饰盖上,可以推进拉出,并设置有铰接式翻盖将喷嘴机构隐藏。The external nozzle mechanism includes a two-way valve, one end of which is connected to the end of the steam outlet pipeline, and the other end is connected to the nozzle; or a three-way valve, which is respectively connected to the end of the steam outlet pipeline, the beverage pipe and the nozzle. The external nozzle mechanism is arranged on the outside of the inner container, and the nozzle mechanism is arranged on the outer decorative cover, which can be pushed and pulled out, and is provided with a hinged flip cover to hide the nozzle mechanism.
所述蒸汽发生器为发热器,连接有水泵和水盒,水泵和水盒设置在控制面板后下方,发热器由发热盒上盖与发热盒座及第一密封圈组装而成,发热盒座下部固定有发热管。The steam generator is a heater, which is connected with a water pump and a water box, and the water pump and the water box are arranged on the lower part of the control panel. The heater is assembled by the upper cover of the heating box, the heating box seat and the first sealing ring. The lower part is fixed with a heat pipe.
所述蒸汽发生器上还连接有排水机构,该机构包括通过管道与蒸汽发生器底板相连的排水阀或排水电磁阀,排水电磁阀设置在隔热板上,排水电磁阀的另一端连接设置在炉体底部的放水器接头,通到接水器。The steam generator is also connected with a drainage mechanism, which includes a drainage valve or a drainage solenoid valve connected to the bottom plate of the steam generator through a pipeline. The drainage solenoid valve is arranged on the heat shield, and the other end of the drainage solenoid valve is connected to the The water discharge connector at the bottom of the furnace body leads to the water receiver.
本发明充分利用蒸汽发生器的作用,完善微波炉的功能,将蒸汽或开水通到外面来冲牛奶、豆浆等,起到搅拌作用,同时对水杯的材质没有特别要求,便于用户随意使用;翻盖能够将缩回去的喷嘴隐藏好,保持美观,且安全可靠;导出的蒸汽还能够用于熨斗加湿、清洁容器、消毒杀菌等等,实用性强。同时为了解决现有技术的缺陷,增加了排水结构来完善微波炉,能够将发热器中的水垢清洗后排出,延长发热器的使用寿命。The invention makes full use of the function of the steam generator, perfects the function of the microwave oven, passes steam or boiled water outside to make milk, soybean milk, etc., and plays a stirring role. At the same time, there is no special requirement on the material of the water cup, which is convenient for users to use at will; The retracted nozzle is hidden to keep it beautiful, and it is safe and reliable; the exported steam can also be used to humidify the iron, clean the container, disinfect and sterilize, etc., which is very practical. At the same time, in order to solve the defects of the prior art, a drainage structure is added to improve the microwave oven, which can discharge the scale in the heater after cleaning, so as to prolong the service life of the heater.
附图说明 Description of drawings
图1为本发明一实施例结构示意图。Fig. 1 is a schematic structural diagram of an embodiment of the present invention.
图2为左侧视结构示意图。Figure 2 is a schematic diagram of the structure viewed from the left.
图3为蒸汽管路结构示意图。Figure 3 is a schematic diagram of the steam pipeline structure.
图4为本发明中外置喷嘴分解示意图。Fig. 4 is an exploded schematic view of the external nozzle in the present invention.
图5为蒸汽发生器放大结构示意图。Fig. 5 is a schematic diagram of the enlarged structure of the steam generator.
图6为本发明中排水机构分解结构示意图。Fig. 6 is a schematic diagram of the exploded structure of the drainage mechanism in the present invention.
具体实施方式 Detailed ways
下面结合附图及实施例对本发明作进一步描述。The present invention will be further described below in conjunction with the accompanying drawings and embodiments.
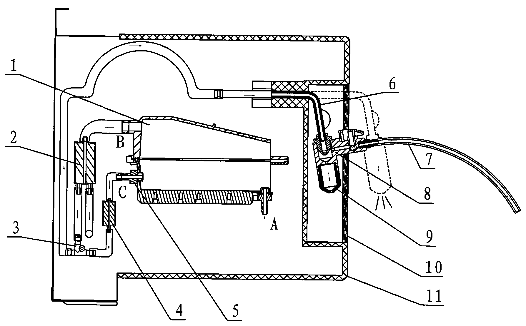
参见图1-图4,本具有蒸汽加热的多功能微波炉,包括炉体、控制面板和设置在炉体内的电加热式蒸汽发生器1,蒸汽发生器上有两个接头,其中一个接头为出汽管道,上连接有控制流向的两位三通电磁阀2,一路通过喷口13通向加热食物的内胆14,另一路连接外置式喷嘴机构;另一接头为出水管道,出水管道通过连接头5与蒸汽发生器连接,上连有单向电磁阀4,通过三通管3与出气管前端相连。外置式喷嘴机构6包括三通阀8,三通阀分别连接出汽管道末端、饮料管7和喷嘴9(也可以设计成二通阀)。蒸汽发生器为发热器,依次连接有水泵30和水盒16,水泵和水盒设置在控制面板后下方。出汽管接头上设有第二密封圈。发热器由发热盒上盖17与发热盒座19及第一密封圈18、进水接头23、进水接头密封圈24组装而成,发热盒座下部固定有发热管20。发热盒座下部还设置有两个温控器21和一个热敏电阻22;发热器固定在左侧的隔热板25上,见图5和图6。蒸汽发生器上还连接有排水机构,该机构包括通过管道与蒸汽发生器底板相连的排水电磁阀26,排水电磁阀设置在隔热板25上,排水电磁阀的另一端连接设置在炉体底部的放水器接头28,通到接水器29,见图6。喷嘴机构6设置在内胆14外侧的外装饰盖11上,可以推进拉出,并设置有铰接式翻盖10将喷嘴机构6隐藏。炉体顶部还设有排气孔12。Referring to Fig. 1-Fig. 4, this multifunctional microwave oven with steam heating includes a furnace body, a control panel and an electric heating type steam generator 1 arranged in the furnace body. There are two joints on the steam generator, one of which is the outlet The steam pipeline is connected with a two-position three-
本发明的工作原理如下:通过程序控制水泵30将右侧水盒16中的纯净水经过连接管抽到左侧的发热器中,发热器通过发热管20发热后将水变成蒸汽,经出汽管接头进入炉腔;蒸汽不断的补充食物散发的水分,保持食物的新鲜,防止营养流失。在蒸汽发生器工作时,装在其下部的热敏电阻22检测发热器的温度,通过控制面板的程序来判断发热器是否正常工作,另外两个温控器21装在零、火线上,主要是防止出现异常后发热器温度过高,给周围带来危害。在发热器的外侧装有外装饰盖11来防护。在蒸汽发生器工作时,间断通过微波和烧烤加热元件来加热,将炉腔中的温度上升到120度以上,防止蒸汽冷凝成水。为了便于腔体内的气流循环,在顶部开设了排气孔12,将少量的蒸汽通过外壳排到外部。The working principle of the present invention is as follows: the pure water in the water box 16 on the right side is pumped into the heater on the left side through the connecting pipe by controlling the water pump 30 through the program. The steam pipe joint enters the oven cavity; the steam continuously replenishes the moisture emitted by the food, keeps the food fresh and prevents nutrient loss. When the steam generator is working, the
一、喷蒸汽功能:控制面板的程序控制水泵的通断时间与三通电磁阀2的通向;按控制面板的按键15一下时,水泵以抽2秒停18秒的程序来循环,将水盒16中的水抽到蒸汽发生器1(图3中A箭头)后产生高温蒸汽,经出汽管道导(图3中B箭头)向三通电磁阀2,三通电磁阀在按按键时就通电打到喷嘴机构6的方向,蒸汽沿出汽管道通向喷嘴9,在高压下喷到放置好的水杯中。同时在三通电磁阀2处形成一种负压,将饮料管7中的冷牛奶抽到三通阀8处,一起跟高温蒸汽混合喷出,既达到加热牛奶的作用,又能将牛奶搅拌均匀。1. Steam injection function: the program on the control panel controls the on-off time of the water pump and the direction of the three-
二、喷开水功能:按控制面板的按键15两下时,水泵以抽5秒停15秒的程序来循环,将水盒16中的水抽到蒸汽发生器1后加热到一定温度,水位不断上升,超过出汽口时流出,经出水管道导(图3中C箭头)向单向电磁阀4,单向电磁阀在按按键时就通电导通,高温热水加少量蒸汽沿管道经过三通管通向喷嘴9,在高压下喷到放置好的水杯中,可以泡茶或冲咖啡。2. The function of spraying water: when the button 15 on the control panel is pressed twice, the water pump will circulate with the program of pumping for 5 seconds and stopping for 15 seconds, pumping the water in the water box 16 to the steam generator 1 and heating it to a certain temperature, and the water level will continue It rises and flows out when it exceeds the steam outlet. It is guided through the water outlet pipe (arrow C in Figure 3) to the one-
在使用喷嘴前,先将翻盖10打开,将喷嘴机构6拉出一定位置,对准放置在微波炉边上一定高度的水杯中;用后,将喷嘴机构6推回,盖上翻盖即可。Before using the nozzle, first open the
三、排水功能:使用完后残余在发热器中的水通过三通管27进入排水电磁阀26打开流出,通过放水接头28后流到底部的接水器29中,并倒掉。使用清洗菜单时,加少量柠檬汁的水抽到发热器工作2分钟,将其中的水垢溶解后,再通过排水电磁阀26打开排出,再抽纯净水来冲洗发热器,防止其中残余柠檬汁。在正常工作时,排水电磁阀26吸合不排水。3. Drainage function: after use, the water remaining in the heater enters the drain solenoid valve 26 through the three-way pipe 27 to open and flow out, flows into the water receiver 29 at the bottom after passing through the water discharge joint 28, and pours it out. When using the cleaning menu, add a small amount of lemon juice to pump the heater to work for 2 minutes, dissolve the scale therein, then open and discharge through the drain solenoid valve 26, and then pump pure water to rinse the heater to prevent residual lemon juice. When working normally, the drainage solenoid valve 26 is closed and not drained.
Claims (9)
Priority Applications (1)
| Application Number | Priority Date | Filing Date | Title |
|---|---|---|---|
| CN200810028656A CN100582585C (en) | 2008-06-02 | 2008-06-02 | Multifunctional microwave oven possessing steam heating function |
Applications Claiming Priority (1)
| Application Number | Priority Date | Filing Date | Title |
|---|---|---|---|
| CN200810028656A CN100582585C (en) | 2008-06-02 | 2008-06-02 | Multifunctional microwave oven possessing steam heating function |
Publications (2)
| Publication Number | Publication Date |
|---|---|
| CN101290144A true CN101290144A (en) | 2008-10-22 |
| CN100582585C CN100582585C (en) | 2010-01-20 |
Family
ID=40034510
Family Applications (1)
| Application Number | Title | Priority Date | Filing Date |
|---|---|---|---|
| CN200810028656A Active CN100582585C (en) | 2008-06-02 | 2008-06-02 | Multifunctional microwave oven possessing steam heating function |
Country Status (1)
| Country | Link |
|---|---|
| CN (1) | CN100582585C (en) |
Cited By (7)
| Publication number | Priority date | Publication date | Assignee | Title |
|---|---|---|---|---|
| CN102753894A (en) * | 2010-02-03 | 2012-10-24 | 夏普株式会社 | High frequency cooking apparatus |
| CN103363510A (en) * | 2013-07-17 | 2013-10-23 | 广东格兰仕微波炉电器制造有限公司 | Steam generation device and operation method thereof |
| CN104126097A (en) * | 2012-01-13 | 2014-10-29 | Bsh博世和西门子家用电器有限公司 | Steam oven with heatable water tray |
| CN104188504A (en) * | 2014-08-25 | 2014-12-10 | 广东美的厨房电器制造有限公司 | Washing prompting method and system for steam generation device and steam cooking utensil |
| CN107420947A (en) * | 2017-05-26 | 2017-12-01 | 广东美的厨房电器制造有限公司 | Cooker |
| CN111742093A (en) * | 2018-03-30 | 2020-10-02 | 美的集团股份有限公司 | Electrical appliance with hand-held steam attachment |
| CN113728200A (en) * | 2019-05-03 | 2021-11-30 | Bsh家用电器有限公司 | Steam treatment device and method for cleaning a steam treatment device |
-
2008
- 2008-06-02 CN CN200810028656A patent/CN100582585C/en active Active
Cited By (12)
| Publication number | Priority date | Publication date | Assignee | Title |
|---|---|---|---|---|
| CN102753894A (en) * | 2010-02-03 | 2012-10-24 | 夏普株式会社 | High frequency cooking apparatus |
| CN102753894B (en) * | 2010-02-03 | 2014-12-31 | 夏普株式会社 | High frequency cooking device |
| CN104126097A (en) * | 2012-01-13 | 2014-10-29 | Bsh博世和西门子家用电器有限公司 | Steam oven with heatable water tray |
| CN103363510A (en) * | 2013-07-17 | 2013-10-23 | 广东格兰仕微波炉电器制造有限公司 | Steam generation device and operation method thereof |
| CN103363510B (en) * | 2013-07-17 | 2016-02-03 | 广东格兰仕微波炉电器制造有限公司 | A kind of steam raising plant and method of operating thereof |
| CN104188504A (en) * | 2014-08-25 | 2014-12-10 | 广东美的厨房电器制造有限公司 | Washing prompting method and system for steam generation device and steam cooking utensil |
| CN104188504B (en) * | 2014-08-25 | 2016-07-13 | 广东美的厨房电器制造有限公司 | Cleaning reminder method for steam generating device, reminder system and steam cooking utensil |
| CN107420947A (en) * | 2017-05-26 | 2017-12-01 | 广东美的厨房电器制造有限公司 | Cooker |
| CN111742093A (en) * | 2018-03-30 | 2020-10-02 | 美的集团股份有限公司 | Electrical appliance with hand-held steam attachment |
| US11293131B2 (en) | 2018-03-30 | 2022-04-05 | Midea Group Co., Ltd. | Appliance with hand held steam accessory |
| CN113728200A (en) * | 2019-05-03 | 2021-11-30 | Bsh家用电器有限公司 | Steam treatment device and method for cleaning a steam treatment device |
| CN113728200B (en) * | 2019-05-03 | 2024-03-08 | Bsh家用电器有限公司 | Steam treatment equipment and methods for cleaning steam treatment equipment |
Also Published As
| Publication number | Publication date |
|---|---|
| CN100582585C (en) | 2010-01-20 |
Similar Documents
| Publication | Publication Date | Title |
|---|---|---|
| CN102331080B (en) | Electric heating water boiler with separated water storage tank | |
| CN101290144A (en) | A multifunctional microwave oven with steam heating | |
| CN101066100B (en) | Electric heating type numerical control cooker | |
| CN201218542Y (en) | Microwave oven with steam heating function | |
| CN208784386U (en) | Cooking equipment | |
| CN201775497U (en) | Instant heating type tea infusing machine | |
| CN103479225B (en) | One brews machine and method thereof | |
| CN103767526B (en) | Pseudo-boiling energy-saving kitchen range and utilize it to carry out the method heated | |
| CN107319915A (en) | Cooking pot | |
| CN205963772U (en) | Multi -functional electric steamer | |
| CN102563841B (en) | Drinking water heating device with water collecting tank | |
| CN204071713U (en) | The water feeding and draining device of box steam oven | |
| CN107157321B (en) | Electric kettle | |
| CN202636614U (en) | Electric water boiler | |
| CN201218543Y (en) | Multifunctional microwave oven with steam heating | |
| CN208755734U (en) | A kind of equipment for infusing potable | |
| CN209694907U (en) | Temperature control backflow device for coffee machine and coffee machine provided with same | |
| CN206687628U (en) | A kind of baking box | |
| CN202229388U (en) | Electric heating boiler with separated water storage tank | |
| CN206261450U (en) | Coffee machine | |
| CN201710124U (en) | Energy-saving coffee pot | |
| CN203591174U (en) | Brewing machine | |
| CN102961048A (en) | Novel coffeemaker | |
| CN208909799U (en) | Facilitate pot egg device of draining | |
| CN204071757U (en) | A kind of counnter attack is added with hot shot water machine |
Legal Events
| Date | Code | Title | Description |
|---|---|---|---|
| C06 | Publication | ||
| PB01 | Publication | ||
| C10 | Entry into substantive examination | ||
| SE01 | Entry into force of request for substantive examination | ||
| C14 | Grant of patent or utility model | ||
| GR01 | Patent grant | ||
| CP03 | Change of name, title or address | ||
| CP03 | Change of name, title or address |
Address after: 528400, Fu Sha town, Guangdong City, Zhongshan province Fu Sha Industrial Park Patentee after: Guangdong Weili Electric Appliance Co.,Ltd. Country or region after: China Address before: 528400, Fu Sha town, Guangdong City, Zhongshan province Fu Sha Industrial Park Patentee before: ZHONGSHAN DONGLIM WEILI ELECTRICAL APPLIANCES Co.,Ltd. Country or region before: China |
|
| TR01 | Transfer of patent right | ||
| TR01 | Transfer of patent right |
Effective date of registration: 20250205 Address after: No. 283 Taoyuan Road, Qianhai Community, Nantou Street, Nanshan District, Shenzhen City, Guangdong Province 518000, China Patentee after: Shenzhen Weiling Electric Appliance Co.,Ltd. Country or region after: China Address before: 528400, Fu Sha town, Guangdong City, Zhongshan province Fu Sha Industrial Park Patentee before: Guangdong Weili Electric Appliance Co.,Ltd. Country or region before: China |
