CN101187509A - Integral injection type low temperature waste heat power generation refrigeration device - Google Patents
Integral injection type low temperature waste heat power generation refrigeration device Download PDFInfo
- Publication number
- CN101187509A CN101187509A CNA2007101718851A CN200710171885A CN101187509A CN 101187509 A CN101187509 A CN 101187509A CN A2007101718851 A CNA2007101718851 A CN A2007101718851A CN 200710171885 A CN200710171885 A CN 200710171885A CN 101187509 A CN101187509 A CN 101187509A
- Authority
- CN
- China
- Prior art keywords
- working medium
- waste heat
- energy
- outlet
- low
- Prior art date
- Legal status (The legal status is an assumption and is not a legal conclusion. Google has not performed a legal analysis and makes no representation as to the accuracy of the status listed.)
- Pending
Links
Classifications
-
- Y—GENERAL TAGGING OF NEW TECHNOLOGICAL DEVELOPMENTS; GENERAL TAGGING OF CROSS-SECTIONAL TECHNOLOGIES SPANNING OVER SEVERAL SECTIONS OF THE IPC; TECHNICAL SUBJECTS COVERED BY FORMER USPC CROSS-REFERENCE ART COLLECTIONS [XRACs] AND DIGESTS
- Y02—TECHNOLOGIES OR APPLICATIONS FOR MITIGATION OR ADAPTATION AGAINST CLIMATE CHANGE
- Y02A—TECHNOLOGIES FOR ADAPTATION TO CLIMATE CHANGE
- Y02A30/00—Adapting or protecting infrastructure or their operation
- Y02A30/27—Relating to heating, ventilation or air conditioning [HVAC] technologies
- Y02A30/274—Relating to heating, ventilation or air conditioning [HVAC] technologies using waste energy, e.g. from internal combustion engine
Landscapes
- Engine Equipment That Uses Special Cycles (AREA)
Abstract
一种整体式喷射型低温余热发电制冷装置,本发明包括:工质泵、余热换热器、透平发电机、喷射器、冷凝器、储液罐、三通阀、节流阀、蒸发器。这些部件依次连接,以太阳能、地热能、生物质能或各种低温余热作为系统热源,以地下水、湖水、河水或海水作为冷源,选择环保性能优良的低沸点有机物作为工质,组成封闭循环系统。本发明通过喷射器将有机物朗肯循环与喷射式制冷循环结合起来,在低品位热能不断被回收利用的同时,不断向用户输出电能和冷量,从而实现利用低温余热发电制冷。本发明符合能量梯级利用的原则,从而极大的提高了能源综合利用率。
An integral injection type low-temperature waste heat power generation and refrigeration device, the invention includes: a working medium pump, a waste heat heat exchanger, a turbine generator, an ejector, a condenser, a liquid storage tank, a three-way valve, a throttle valve, and an evaporator . These components are connected in sequence, with solar energy, geothermal energy, biomass energy or various low-temperature waste heat as the system heat source, groundwater, lake water, river water or sea water as the cold source, and low-boiling-point organic matter with excellent environmental performance as the working medium to form a closed cycle. system. The invention combines the organic Rankine cycle with the ejector refrigeration cycle through an ejector, and continuously outputs electric energy and cooling capacity to users while low-grade heat energy is continuously recycled, thereby realizing power generation and refrigeration using low-temperature waste heat. The invention complies with the principle of cascade utilization of energy, thereby greatly improving the comprehensive utilization rate of energy.
Description
技术领域technical field
本发明涉及一种制冷技术领域的装置,具体是一种整体式喷射型低温余热发电制冷装置。The invention relates to a device in the technical field of refrigeration, in particular to an integral injection type low-temperature waste heat power generation refrigeration device.
背景技术Background technique
统计表明,低温余热总量约占工业产热总量的50%左右。在实际应用中,由于缺乏有效的回收利用方式,大部分低温余热被直接排放到环境中,这样既浪费了大量能源,又对周围环境构成了严重的热污染。有机物朗肯循环低温余热发电技术是一种有效的低温余热回收利用方法,它以低沸点有机物工质作为能量的载体,将低品位热能转化为电能。当热源温度低于270℃时,有机物朗肯循环工质选择范围广,针对性强,设备要求相对简单,与常规的水蒸气朗肯循环相比,具有更高的能源利用率。Statistics show that the total amount of low-temperature waste heat accounts for about 50% of the total industrial heat production. In practical applications, due to the lack of effective recycling methods, most of the low-temperature waste heat is directly discharged into the environment, which not only wastes a lot of energy, but also constitutes serious thermal pollution to the surrounding environment. Organic matter Rankine cycle low-temperature waste heat power generation technology is an effective low-temperature waste heat recovery and utilization method. It uses low-boiling point organic working fluid as an energy carrier to convert low-grade heat energy into electrical energy. When the temperature of the heat source is lower than 270°C, the organic Rankine cycle has a wide selection of working fluids, strong pertinence, and relatively simple equipment requirements. Compared with the conventional water vapor Rankine cycle, it has a higher energy utilization rate.
喷射式制冷技术在20世纪30年代受到了广泛的青睐,然而伴随着蒸汽压缩式制冷技术的出现,喷射式制冷技术的主导地位被渐渐取代。近些年,喷射式制冷系统凭借其设备简单,维护方便,环保可靠,适用于太阳能,地热能,低温余热回收等优点,重新成为了制冷技术领域中的一个研究热点。分布式供能系统是指设在用户附近的,较小出力的,建立在能量梯级利用原则上的能源供给系统。相对于传统的大规模能源供给方式而言,分布式供能系统高效环保,形式灵活多样,除了供电之外,一般还同时拥有供冷供热的功能。近年来出现的电冷联产分布式供能系统就是其中的一种形式。Ejector refrigeration technology was widely favored in the 1930s, but with the emergence of vapor compression refrigeration technology, the dominant position of ejector refrigeration technology was gradually replaced. In recent years, the ejector refrigeration system has become a research hotspot in the field of refrigeration technology due to its advantages of simple equipment, convenient maintenance, environmental protection and reliability, applicable to solar energy, geothermal energy, and low-temperature waste heat recovery. The distributed energy supply system refers to an energy supply system that is located near the user, has a small output, and is based on the principle of energy cascade utilization. Compared with traditional large-scale energy supply methods, distributed energy supply systems are highly efficient and environmentally friendly, and have flexible and diverse forms. In addition to power supply, they generally also have the function of cooling and heating. The distributed energy supply system of power-cooling cogeneration that has appeared in recent years is one of them.
经过对现有技术文献检索,Feng Xu等在《能源》杂志2000年第25卷233-246页上发表了一篇题目为“一种发电制冷循环”的文章,(Xu,F.,Goswami,D.Y.,and Bhagwat,S.S.,2000,“A Combined Power/CoolingCycle,”Energy,25,pp.233-246.)该系统将有机物朗肯循环发电技术与吸收式制冷技术相结合,选择二元溶液作为工质,将低品位热能转化为电能和冷量同时输出,提出了一套低品位热能回收利用的新方案。但该技术存在一定的不足:首先在制冷过程中,工质没有发生相变,主要依靠工质显热变化实现制冷,因此制冷量受到了一定的限制;此外,选择两元工质作为能量的载体,使系统设备结构,运行操作更加复杂。After searching the prior art documents, Feng Xu et al published an article titled "a kind of power generation and refrigeration cycle" on the 25th volume 233-246 pages of "Energy" magazine in 2000, (Xu, F., Goswami, D.Y., and Bhagwat, S.S., 2000, "A Combined Power/Cooling Cycle," Energy, 25, pp.233-246.) This system combines organic Rankine cycle power generation technology with absorption refrigeration technology, and chooses binary solution as Working fluid, convert low-grade heat energy into electric energy and output cooling capacity at the same time, and propose a new scheme for recycling low-grade heat energy. However, there are certain deficiencies in this technology: first, in the refrigeration process, the working fluid does not undergo a phase change, and refrigeration is mainly achieved by the change of sensible heat of the working fluid, so the cooling capacity is limited to a certain extent; The carrier makes the system equipment structure and operation more complicated.
发明内容Contents of the invention
本发明针对现有技术中的不足,提出一种整体式喷射型低温余热发电制冷装置。本发明通过一种沸点适中、环保安全的工质将有机物朗肯循环发电系统同喷射式制冷循环有机的结合起来,同时满足用户电量和冷量的需求,不仅有效的提高了低温余热回收装置的整体能量利用率,而且整个过程简单易行,洁净环保,安全可靠。Aiming at the deficiencies in the prior art, the present invention proposes an integral injection type low-temperature waste heat power generation refrigeration device. The invention organically combines the organic Rankine cycle power generation system with the jet refrigeration cycle through a moderate boiling point, environmentally friendly and safe working medium, and simultaneously meets the needs of users for power and cooling capacity, and not only effectively improves the efficiency of the low-temperature waste heat recovery device. The overall energy utilization rate is high, and the whole process is simple and easy, clean and environmentally friendly, safe and reliable.
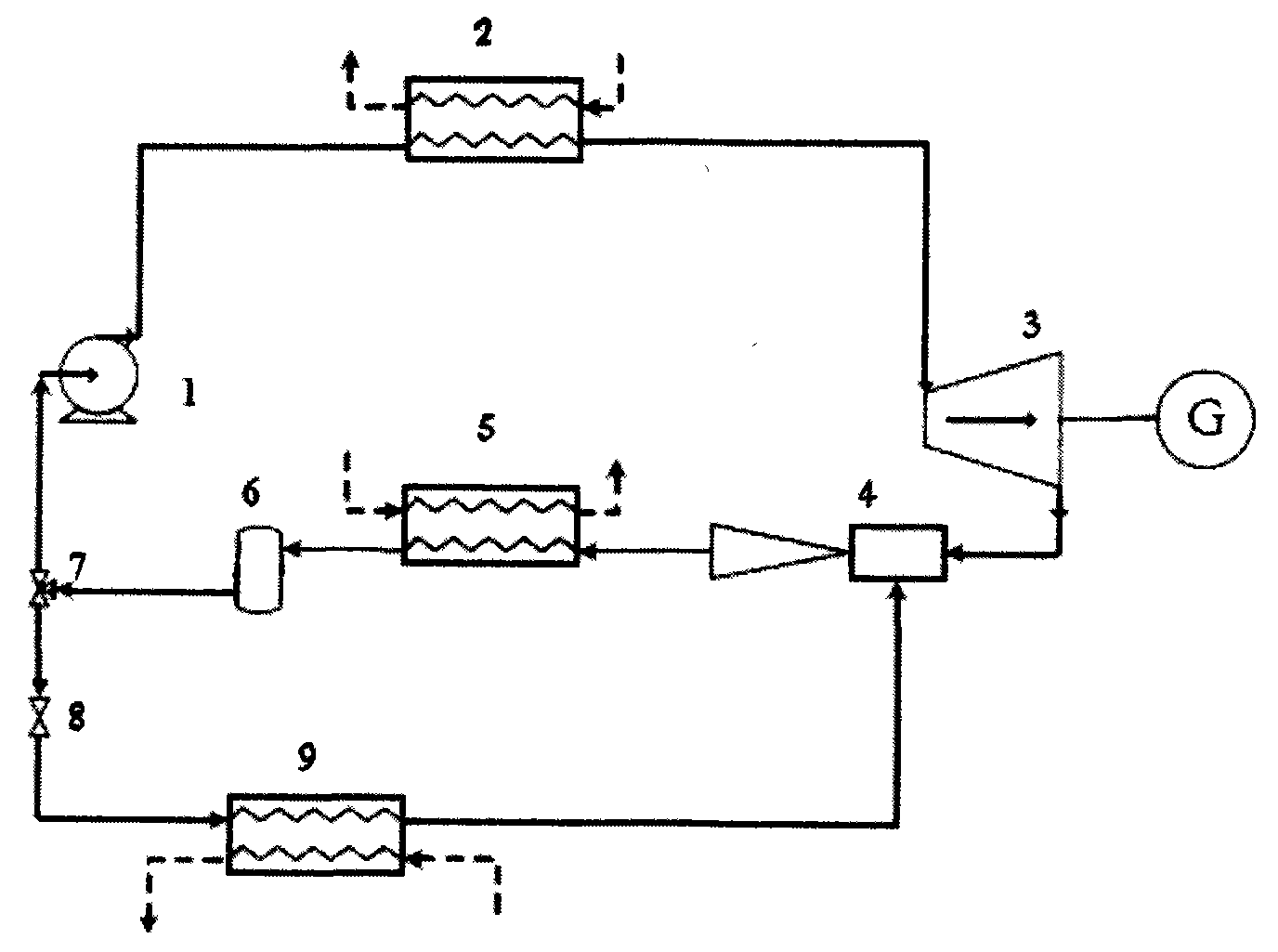
本发明是通过以下技术方案实现的,本发明包括:工质泵、余热换热器、透平发电机、喷射器、冷凝器、储液罐、三通阀、节流阀、蒸发器。工质泵出口与余热换热器工质入口相连,余热换热器工质出口与透平发电机工质入口相连,透平发电机工质出口与喷射器工作流体入口相连,喷射器工质出口与冷凝器工质入口相连,冷凝器工质出口与储液罐工质入口相连,储液罐工质出口与三通阀工质入口相连,三通阀的一个工质出口与工质泵入口相连,三通阀的另一个工质出口与节流阀工质入口相连,节流阀工质出口与蒸发器工质入口相连,蒸发器工质出口与喷射器引射流体入口相连。The present invention is realized through the following technical solutions, and the present invention includes: a working medium pump, a waste heat exchanger, a turbo generator, an ejector, a condenser, a liquid storage tank, a three-way valve, a throttle valve, and an evaporator. The outlet of the working fluid pump is connected to the working fluid inlet of the waste heat exchanger, the working fluid outlet of the waste heat exchanger is connected to the working fluid inlet of the turbogenerator, the working fluid outlet of the turbogenerator is connected to the working fluid inlet of the injector, and the working fluid of the injector The outlet is connected to the working medium inlet of the condenser, the working medium outlet of the condenser is connected to the working medium inlet of the liquid storage tank, the working medium outlet of the liquid storage tank is connected to the working medium inlet of the three-way valve, and one working medium outlet of the three-way valve is connected to the working medium pump The inlet is connected, another working medium outlet of the three-way valve is connected with the throttle valve working medium inlet, the throttle valve working medium outlet is connected with the evaporator working medium inlet, and the evaporator working medium outlet is connected with the injector injection fluid inlet.
在装置工作过程中,液态饱和低沸点有机物工质经由工质泵提高压力,在余热回收换热器中利用低温余热加热至过热状态。高温高压气体进而推动透平旋转,并带动发电机组向外输出电功。从透平出口排出的工质气体作为压力相对较高的工作流体流入喷射器,将蒸发器出口侧的低温低压气体引射至喷射器中,二者在喷射器中经过混合扩压,进入冷凝器。在冷凝器中,有机物工质在地下水,湖水,河水或海水的冷却下,由气态变为液态。液态工质进入到储液罐中,储液罐工质出口连接有三通阀,一部分液态工质经由三通阀的一个出口进入工质泵,在工质泵中加压重新回到余热回收换热器中,完成发电循环,另一部分液态工质经由三通阀的另一个出口进入节流阀,在节流阀中降温降压,重新回到蒸发器中,完成制冷循环。在整个循环过程中,低品位热能不断被回收利用,同时,系统不断向用户输出电能和冷量,从而实现利用低温余热发电制冷。During the working process of the device, the liquid saturated low-boiling point organic working medium is increased in pressure through the working medium pump, and is heated to a superheated state by using low-temperature waste heat in the waste heat recovery heat exchanger. The high-temperature and high-pressure gas then drives the turbine to rotate, and drives the generator set to output electric power. The working fluid gas discharged from the outlet of the turbine flows into the ejector as a relatively high-pressure working fluid, and injects the low-temperature and low-pressure gas at the outlet side of the evaporator into the ejector. The two are mixed and diffused in the ejector, and enter condensation. device. In the condenser, the organic working substance changes from gaseous state to liquid state under the cooling of groundwater, lake water, river water or sea water. The liquid working medium enters the liquid storage tank, and the working medium outlet of the liquid storage tank is connected with a three-way valve. A part of the liquid working medium enters the working medium pump through an outlet of the three-way valve, and is pressurized in the working medium pump to return to the waste heat recovery exchange. In the heater, the power generation cycle is completed, and another part of the liquid working medium enters the throttle valve through the other outlet of the three-way valve, where the temperature and pressure drop in the throttle valve, and then returns to the evaporator to complete the refrigeration cycle. During the entire cycle, low-grade heat energy is continuously recycled, and at the same time, the system continuously outputs electric energy and cooling capacity to users, thereby realizing the use of low-temperature waste heat for power generation and refrigeration.
根据工质在理想绝热膨胀过程中的特性,工质可以分为干性和湿性两类。饱和湿性工质在透平膨胀过程中进入两相区,对透平叶片的使用寿命产生较大的负面影响。而饱和干性工质在透平膨胀过程中容易保持在过热区。因此,为了避免工质在膨胀过程中进入两相区,本发明选择安全环保的干性工质。如:R245fa、R600、R600a、R141b、R123、R142b等。According to the characteristics of the working fluid in the ideal adiabatic expansion process, the working fluid can be divided into two types: dry and wet. The saturated wet working fluid enters the two-phase region during the expansion process of the turbine, which has a great negative impact on the service life of the turbine blades. The saturated dry working fluid is easy to remain in the superheated area during the turbine expansion process. Therefore, in order to prevent the working medium from entering the two-phase region during the expansion process, the present invention selects safe and environment-friendly dry working medium. Such as: R245fa, R600, R600a, R141b, R123, R142b, etc.
本发明通过选择一种工作温度压力适中,环保安全的干工质将有机物朗肯循环与喷射式制冷循环有机的结合起来,以太阳能,地热能,生物质能,或各种低温余热作为系统的热源。以20℃左右的地下水,河水,湖水,或海水作为系统的冷却水。在利用有机物朗肯循环发电的同时,进入蒸发器的低温低压工质从外界吸收热量,由液态变为气态,利用工质的气化潜热实现制冷。本发明具有高效,环保,部件简单,操作性强等特点,通过对透平,喷射器的合理设计,既满足了有机物朗肯循环和喷射式制冷循环对工质物性参数方面的要求,又同时解决了用户对电能和冷量的要求,符合能量梯级利用的原则,从而极大的提高了能源综合利用率。The present invention organically combines the organic Rankine cycle with the jet refrigeration cycle by selecting a dry working medium with moderate working temperature and pressure, which is environmentally friendly and safe, and uses solar energy, geothermal energy, biomass energy, or various low-temperature waste heat as the system heat source. Use groundwater, river water, lake water, or seawater at a temperature of about 20°C as the cooling water for the system. While using the Rankine cycle of organic matter to generate electricity, the low-temperature and low-pressure working fluid entering the evaporator absorbs heat from the outside, changes from liquid to gaseous, and uses the latent heat of gasification of the working fluid to achieve refrigeration. The invention has the characteristics of high efficiency, environmental protection, simple components, and strong operability. Through the reasonable design of the turbine and ejector, it not only meets the requirements of the organic Rankine cycle and the ejector refrigeration cycle on the physical parameters of the working medium, but also simultaneously It solves the user's requirements for electric energy and cooling capacity, and conforms to the principle of energy cascade utilization, thus greatly improving the comprehensive utilization rate of energy.
附图说明Description of drawings
图1为本发明的结构示意图Fig. 1 is a structural representation of the present invention
具体实施方式Detailed ways
下面结合附图对本发明的实施例作详细说明:本实施例在以本发明技术方案为前提下进行实施,给出了详细的实施方式和具体的操作过程,但本发明的保护范围不限于下述的实施例。The embodiments of the present invention are described in detail below in conjunction with the accompanying drawings: this embodiment is implemented on the premise of the technical solution of the present invention, and detailed implementation methods and specific operating procedures are provided, but the protection scope of the present invention is not limited to the following the described embodiment.
如图1所示,本实施例包括:工质泵1、余热换热器2、透平发电机3、喷射器4、冷凝器5、储液罐6、三通阀7、节流阀8、蒸发器9。工质泵1出口与余热换热器2工质入口相连,余热换热器2工质出口与透平发电机3工质入口相连,透平发电机3工质出口与喷射器4工作流体入口相连,喷射器4工质出口与冷凝器5工质入口相连,冷凝器5工质出口与储液罐6工质入口相连,储液罐6工质出口与三通阀7工质入口相连,三通阀7的一个工质出口与工质泵1入口相连,三通阀7的另一个工质出口与节流阀8工质入口相连,节流阀8工质出口与蒸发器9工质入口相连,蒸发器9工质出口与喷射器4引射流体入口相连。As shown in Figure 1, this embodiment includes: a working medium pump 1, a waste heat exchanger 2, a turbo generator 3, an ejector 4, a condenser 5, a liquid storage tank 6, a three-way valve 7, and a throttle valve 8 , Evaporator 9. Working medium pump 1 outlet is connected to waste heat exchanger 2 working medium inlet, waste heat heat exchanger 2 working medium outlet is connected to turbine generator 3 working medium inlet, turbo generator 3 working medium outlet is connected to ejector 4 working fluid inlet The working medium outlet of the injector 4 is connected with the working medium inlet of the condenser 5, the working medium outlet of the condenser 5 is connected with the working medium inlet of the liquid storage tank 6, and the working medium outlet of the liquid storage tank 6 is connected with the working medium inlet of the three-way valve 7, A working medium outlet of the three-way valve 7 is connected to the working medium pump 1 inlet, another working medium outlet of the three-way valve 7 is connected to the working medium inlet of the throttle valve 8, and the working medium outlet of the throttle valve 8 is connected to the working medium of the evaporator 9 The inlet is connected, and the working medium outlet of the evaporator 9 is connected with the injection fluid inlet of the injector 4 .
本实施例中,所述的整体式喷射型低温余热发电制冷装置,其工质为R245fa。In this embodiment, the working fluid of the integrated injection type low-temperature waste heat power generation and refrigeration device is R245fa.
根据整体式喷射型低温余热发电制冷装置要求,下例以余热温度150℃,余热换热器蒸发压力1.26MPa,透平膨胀比2.5,透平出口压力0.5MPa,冷凝器冷凝温度30℃,冷凝压力0.18MPa,蒸发器蒸发温度8℃,蒸发器蒸发压力0.076MPa,环境温度25℃,冷却水温度20℃作为工作参数,选用有机物工质R245fa作为循环工质,说明循环流程。According to the requirements of the integrated injection type low-temperature waste heat power generation and refrigeration device, the following example assumes that the waste heat temperature is 150°C, the evaporation pressure of the waste heat exchanger is 1.26MPa, the turbine expansion ratio is 2.5, the turbine outlet pressure is 0.5MPa, and the condensation temperature of the condenser is 30°C. The pressure is 0.18MPa, the evaporator evaporation temperature is 8°C, the evaporator evaporation pressure is 0.076MPa, the ambient temperature is 25°C, and the cooling water temperature is 20°C.
1.约30℃的饱和液态有机物工质R245fa由工质泵1提高压力至1.26MPa,送入余热换热器2中加热。1. The saturated liquid organic working medium R245fa at about 30°C is raised to 1.26MPa by the working medium pump 1 and sent to the waste heat exchanger 2 for heating.
2.液态工质R245fa在余热换热器2中被150℃左右的低温余热加热至约105℃,过热度5℃,压力1.26MPa。2. The liquid working medium R245fa is heated to about 105°C by the low-temperature waste heat of about 150°C in the waste heat exchanger 2, the superheat degree is 5°C, and the pressure is 1.26MPa.
3.从余热换热器2出来的气体工质进入透平发电机3,推动透平发电机3旋转做功并输出电力。工质经过透平发电机3膨胀后,压力降低至约0.5MPa,由R245fa物性知,经过透平发电机3膨胀后的工质仍为过热气体。3. The gas working medium from the waste heat exchanger 2 enters the turbine generator 3 to drive the turbine generator 3 to rotate to do work and output electricity. After the working fluid expands through the turbine generator 3, the pressure drops to about 0.5MPa. According to the physical properties of R245fa, the working fluid expanded through the turbine generator 3 is still a superheated gas.
4.由透平发电机3排出的R245fa过热蒸汽作为工作流体进入喷射器4,将蒸发器9出口侧的R245fa蒸汽,引射至喷射器4中,工作流体与引射流体在喷射器混合室中混合,进而通过扩压器恢复压力至0.18MPa,温度约60℃。4. The R245fa superheated steam discharged from the turbine generator 3 enters the injector 4 as the working fluid, and injects the R245fa steam at the outlet side of the evaporator 9 into the injector 4, and the working fluid and the injected fluid are mixed in the injector mixing chamber Mix in the middle, and then restore the pressure to 0.18MPa through the diffuser, and the temperature is about 60°C.
5.从喷射器4流出的R245fa工质气体进入到冷凝器5中,由约20℃的地下水,湖水或海水冷却至饱和液体,冷凝压力约0.18MPa,温度约30℃。5. The R245fa working gas flowing out of the injector 4 enters the condenser 5, and is cooled to a saturated liquid by groundwater, lake water or seawater at about 20°C, with a condensation pressure of about 0.18MPa and a temperature of about 30°C.
6.从冷凝器5出来的冷凝液进入储液罐6,储液罐6与三通阀7相连。6. The condensate coming out of the condenser 5 enters the liquid storage tank 6, and the liquid storage tank 6 is connected with the three-way valve 7.
7.一部分冷凝液经由三通阀7的一个工质出口进入工质泵1,在工质泵1中加压重新回到余热回收换热器2中,完成发电循环,另一部分冷凝液经由三通阀7的另一个工质出口进入节流阀8节流降压,压力降至约0.076MPa,温度降至约8℃。7. Part of the condensate enters the working medium pump 1 through a working medium outlet of the three-way valve 7, pressurizes in the working medium pump 1 and returns to the waste heat recovery heat exchanger 2 to complete the power generation cycle, and the other part of the condensate passes through the three-way valve 7. The other working medium outlet of the through valve 7 enters the throttling valve 8 to throttle and reduce pressure, the pressure drops to about 0.076MPa, and the temperature drops to about 8°C.
8.从节流阀8流出的R245fa液体进入到蒸发器9中蒸发,同时向外界提供冷水,蒸发压力约0.076MPa,蒸发温度约8℃。8. The R245fa liquid flowing out from the throttle valve 8 enters the evaporator 9 for evaporation, and at the same time provides cold water to the outside, the evaporation pressure is about 0.076MPa, and the evaporation temperature is about 8°C.
9.从蒸发器9流出的R245fa蒸汽作为引射流体进入到喷射器4中,从而完成整个循环过程,实现系统电能和冷量的输出。9. The R245fa steam flowing out of the evaporator 9 enters the ejector 4 as the injection fluid, thereby completing the entire cycle process and realizing the output of the system's electrical energy and cooling capacity.
在透平效率85%,换热器效率80%,泵效率80%的条件下,假设系统从150℃的低温热源中回收热量240KJ,通过该整体式喷射型低温余热发电制冷装置可以向用户提供电量15KJ,制冷量32KJ。Under the conditions of 85% turbine efficiency, 80% heat exchanger efficiency, and 80% pump efficiency, assuming that the system recovers 240KJ of heat from a low-temperature heat source at 150°C, the integrated jet-type low-temperature waste heat power generation and refrigeration device can provide users with Electricity 15KJ, cooling capacity 32KJ.
Claims (2)
Priority Applications (1)
| Application Number | Priority Date | Filing Date | Title |
|---|---|---|---|
| CNA2007101718851A CN101187509A (en) | 2007-12-06 | 2007-12-06 | Integral injection type low temperature waste heat power generation refrigeration device |
Applications Claiming Priority (1)
| Application Number | Priority Date | Filing Date | Title |
|---|---|---|---|
| CNA2007101718851A CN101187509A (en) | 2007-12-06 | 2007-12-06 | Integral injection type low temperature waste heat power generation refrigeration device |
Publications (1)
| Publication Number | Publication Date |
|---|---|
| CN101187509A true CN101187509A (en) | 2008-05-28 |
Family
ID=39480006
Family Applications (1)
| Application Number | Title | Priority Date | Filing Date |
|---|---|---|---|
| CNA2007101718851A Pending CN101187509A (en) | 2007-12-06 | 2007-12-06 | Integral injection type low temperature waste heat power generation refrigeration device |
Country Status (1)
| Country | Link |
|---|---|
| CN (1) | CN101187509A (en) |
Cited By (14)
| Publication number | Priority date | Publication date | Assignee | Title |
|---|---|---|---|---|
| CN102563987A (en) * | 2012-03-01 | 2012-07-11 | 浙江大学 | Vapor-compression refrigerating plant driven by organic Rankine cycle and method |
| CN103423916A (en) * | 2013-08-06 | 2013-12-04 | 柳州职业技术学院 | Low-grade heat energy recycling device |
| CN104153834A (en) * | 2014-07-15 | 2014-11-19 | 天津大学 | Power generation and cooling hybrid system based on Kalina cycle |
| CN104329830A (en) * | 2014-10-24 | 2015-02-04 | 河南省中原大化集团有限责任公司 | Turbine dead steam waste heat recovery process method |
| CN107882603A (en) * | 2017-12-12 | 2018-04-06 | 吴加林 | Construct low-temperature receiver energy-recuperation system, heat engine system and energy reclaiming method |
| CN109236399A (en) * | 2018-08-06 | 2019-01-18 | 西安工程大学 | A kind of low-temperature waste heat power generation system |
| CN109707472A (en) * | 2019-02-28 | 2019-05-03 | 东北大学 | A kind of distributed energy resource system using dry coke quenching waste heat |
| CN110081629A (en) * | 2019-05-31 | 2019-08-02 | 中国科学技术大学 | A kind of multi-mode CO2Cogeneration cooling heating system |
| CN112197454A (en) * | 2020-09-10 | 2021-01-08 | 郑成勋 | Refrigeration system and acting system for compressing gas by using injection mode |
| CN112833583A (en) * | 2021-01-21 | 2021-05-25 | 青岛科技大学 | A geothermal energy distributed energy supply system |
| CN114001489A (en) * | 2021-10-11 | 2022-02-01 | 昆明理工大学 | A solar-injection refrigeration power-cooling combined supply system |
| CN114017944A (en) * | 2021-10-16 | 2022-02-08 | 昆明理工大学 | Flue gas waste heat driven flash evaporation steam supplementing ORC-jet combined cycle cold and power combined supply system |
| CN114273103A (en) * | 2021-09-23 | 2022-04-05 | 哈尔滨工业大学 | Mixed diffusion section structure of arc-shaped gas-gas ejector |
| CN114322348A (en) * | 2022-01-10 | 2022-04-12 | 嵊州市浙江工业大学创新研究院 | Phase-change material cold storage coupled jet refrigeration system |
-
2007
- 2007-12-06 CN CNA2007101718851A patent/CN101187509A/en active Pending
Cited By (18)
| Publication number | Priority date | Publication date | Assignee | Title |
|---|---|---|---|---|
| CN102563987A (en) * | 2012-03-01 | 2012-07-11 | 浙江大学 | Vapor-compression refrigerating plant driven by organic Rankine cycle and method |
| CN103423916A (en) * | 2013-08-06 | 2013-12-04 | 柳州职业技术学院 | Low-grade heat energy recycling device |
| CN104153834A (en) * | 2014-07-15 | 2014-11-19 | 天津大学 | Power generation and cooling hybrid system based on Kalina cycle |
| CN104153834B (en) * | 2014-07-15 | 2015-08-19 | 天津大学 | A kind of generating based on the circulation of card Linne, cooling association system |
| CN104329830A (en) * | 2014-10-24 | 2015-02-04 | 河南省中原大化集团有限责任公司 | Turbine dead steam waste heat recovery process method |
| CN104329830B (en) * | 2014-10-24 | 2016-08-24 | 河南省中原大化集团有限责任公司 | A kind of turbine exhaust steam waste heat recycling device and process thereof |
| CN107882603A (en) * | 2017-12-12 | 2018-04-06 | 吴加林 | Construct low-temperature receiver energy-recuperation system, heat engine system and energy reclaiming method |
| CN109236399A (en) * | 2018-08-06 | 2019-01-18 | 西安工程大学 | A kind of low-temperature waste heat power generation system |
| CN109707472A (en) * | 2019-02-28 | 2019-05-03 | 东北大学 | A kind of distributed energy resource system using dry coke quenching waste heat |
| CN109707472B (en) * | 2019-02-28 | 2021-10-22 | 东北大学 | A distributed energy system utilizing CDQ waste heat |
| CN110081629A (en) * | 2019-05-31 | 2019-08-02 | 中国科学技术大学 | A kind of multi-mode CO2Cogeneration cooling heating system |
| CN112197454A (en) * | 2020-09-10 | 2021-01-08 | 郑成勋 | Refrigeration system and acting system for compressing gas by using injection mode |
| CN112833583A (en) * | 2021-01-21 | 2021-05-25 | 青岛科技大学 | A geothermal energy distributed energy supply system |
| CN114273103A (en) * | 2021-09-23 | 2022-04-05 | 哈尔滨工业大学 | Mixed diffusion section structure of arc-shaped gas-gas ejector |
| CN114273103B (en) * | 2021-09-23 | 2023-02-24 | 哈尔滨工业大学 | Mixed diffusion section structure of arc-shaped gas-gas ejector |
| CN114001489A (en) * | 2021-10-11 | 2022-02-01 | 昆明理工大学 | A solar-injection refrigeration power-cooling combined supply system |
| CN114017944A (en) * | 2021-10-16 | 2022-02-08 | 昆明理工大学 | Flue gas waste heat driven flash evaporation steam supplementing ORC-jet combined cycle cold and power combined supply system |
| CN114322348A (en) * | 2022-01-10 | 2022-04-12 | 嵊州市浙江工业大学创新研究院 | Phase-change material cold storage coupled jet refrigeration system |
Similar Documents
| Publication | Publication Date | Title |
|---|---|---|
| CN101187509A (en) | Integral injection type low temperature waste heat power generation refrigeration device | |
| CN101196354A (en) | Jet-type low-temperature waste heat power generation and refrigeration method | |
| CN106286170B (en) | Solar energy, sea water source heat pump, combustion gas and supercritical carbon dioxide combined marine electricity generation system | |
| CN103147945B (en) | Solar power and biomass power complementing organic Rankine cycle cogeneration system | |
| CN101871440A (en) | Solar natural gas complementary injection type distributed electric cooling and heating cogeneration device | |
| CN103061835B (en) | Overlapped organic rankine cycle efficient heat machine | |
| CN106762489B (en) | A power generation system based on low temperature solar energy and liquefied natural gas cold energy | |
| CN106224040A (en) | A kind of electric heating energy-storage polygenerations systeme | |
| CN107940789B (en) | A combined cooling, heating and power generation system based on movable solar collectors | |
| CN110594111A (en) | Coupling system of solar transcritical carbon dioxide rankine cycle and compressed air energy storage | |
| CN108425709A (en) | A kind of carbon dioxide low temperature Rankine cycle electricity generation system | |
| CN110887278A (en) | Energy self-sufficient carbon dioxide cogeneration system for low-grade heat source | |
| CN202869079U (en) | A device for heating condensed water by recovering the waste heat of circulating cooling water in a power plant by means of a jet heat pump | |
| CN110552750B (en) | Non-azeotropic organic Rankine-dual-injection combined cooling, heating and power system | |
| CN102094772A (en) | Solar energy-driven cogeneration device | |
| CN115539151A (en) | A combined cooling and power system based on medium and low temperature solar collectors | |
| CN112432369B (en) | Cold, heat and power three-generation system based on supercritical carbon dioxide circulation and groove type solar energy absorption refrigeration | |
| CN101520254B (en) | Adsorption type low temperature heat resource power generation and refrigeration device | |
| CN110986418B (en) | An Absorption Circulation System Based on Heating and Boosting Technology | |
| CN108590779A (en) | Geothermal energy combined cooling heating and power system based on Kalina circulation and lithium bromide refrigeration | |
| CN110131005B (en) | Double-pressure heat absorption non-azeotropic organic flash evaporation-Rankine cycle medium-low temperature heat energy utilization system | |
| CN113864017B (en) | Kalina-organic Rankine combined cycle power generation system utilizing LNG cold energy and geothermal energy | |
| CN203114542U (en) | Organic Rankine cycle combined heat and power generation system with complementary solar energy and biomass energy | |
| CN102620478A (en) | Method and device for improving thermal circulation efficiency | |
| CN102383882A (en) | A new type of air energy refrigeration power generation device |
Legal Events
| Date | Code | Title | Description |
|---|---|---|---|
| C06 | Publication | ||
| PB01 | Publication | ||
| C10 | Entry into substantive examination | ||
| SE01 | Entry into force of request for substantive examination | ||
| C12 | Rejection of a patent application after its publication | ||
| RJ01 | Rejection of invention patent application after publication |
Open date: 20080528 |
