CN100560047C - Automatic medicine dispenser capable of measurement - Google Patents
Automatic medicine dispenser capable of measurement Download PDFInfo
- Publication number
- CN100560047C CN100560047C CNB2005100295371A CN200510029537A CN100560047C CN 100560047 C CN100560047 C CN 100560047C CN B2005100295371 A CNB2005100295371 A CN B2005100295371A CN 200510029537 A CN200510029537 A CN 200510029537A CN 100560047 C CN100560047 C CN 100560047C
- Authority
- CN
- China
- Prior art keywords
- metering
- needle
- tube
- needle tube
- automatic
- Prior art date
- Legal status (The legal status is an assumption and is not a legal conclusion. Google has not performed a legal analysis and makes no representation as to the accuracy of the status listed.)
- Expired - Fee Related
Links
- 239000003814 drug Substances 0.000 title claims description 27
- 238000005259 measurement Methods 0.000 title 1
- 238000007664 blowing Methods 0.000 claims abstract description 12
- 238000009423 ventilation Methods 0.000 claims abstract description 12
- 239000007788 liquid Substances 0.000 claims description 30
- 229940079593 drug Drugs 0.000 claims description 5
- 239000012780 transparent material Substances 0.000 claims description 4
- 239000012528 membrane Substances 0.000 claims description 3
- 238000000034 method Methods 0.000 abstract description 15
- 230000008569 process Effects 0.000 abstract description 12
- 238000001802 infusion Methods 0.000 description 9
- 238000002347 injection Methods 0.000 description 6
- 239000007924 injection Substances 0.000 description 6
- 239000000243 solution Substances 0.000 description 5
- 210000003811 finger Anatomy 0.000 description 3
- 238000002360 preparation method Methods 0.000 description 3
- 239000004033 plastic Substances 0.000 description 2
- 239000000843 powder Substances 0.000 description 2
- 230000008859 change Effects 0.000 description 1
- 239000003153 chemical reaction reagent Substances 0.000 description 1
- 230000007547 defect Effects 0.000 description 1
- 238000005516 engineering process Methods 0.000 description 1
- 238000001125 extrusion Methods 0.000 description 1
- 239000011521 glass Substances 0.000 description 1
- 238000001990 intravenous administration Methods 0.000 description 1
- 238000012986 modification Methods 0.000 description 1
- 230000004048 modification Effects 0.000 description 1
- 239000005022 packaging material Substances 0.000 description 1
- 239000002904 solvent Substances 0.000 description 1
- 239000013589 supplement Substances 0.000 description 1
- 210000003813 thumb Anatomy 0.000 description 1
- XLYOFNOQVPJJNP-UHFFFAOYSA-N water Substances O XLYOFNOQVPJJNP-UHFFFAOYSA-N 0.000 description 1
Images
Landscapes
- Infusion, Injection, And Reservoir Apparatuses (AREA)
Abstract
本发明开了一种可计量自动配药器,属于医疗器械技术领域。它解决了在配药过程中缺乏计量工具,难以控制,工作精度无法保证,操作过程繁琐的问题。本可计量自动配药器包括一个吹吸两用泵、通气管和导液管,在吹吸两用泵和通气管之间串接有一个吹吸转换阀,通气管的端部、吹吸两用泵的吹气口和吸气口均接于吹吸转换阀上,本可计量自动配药器还包括一个圆筒形的且垂直放置的计量筒,计量筒的两个端部分别具有与其内腔相通的上接口和下接口,所述的通气管的另一端接于计量筒的上接口上,所述的导液管一端接于计量筒的下接口上,导液管的另一端连接有一根配药针。本可计量自动配药器不仅计量准确,安全可靠,操作方便,而且还具有结构简单、成本低廉的特点。
The invention discloses a meterable automatic dispensing device, which belongs to the technical field of medical instruments. It solves the problems of lack of measuring tools, difficult control, unguaranteed working accuracy and cumbersome operation process in the dispensing process. The meterable automatic dispensing device includes a dual-purpose pump for blowing and sucking, a ventilation tube and a catheter. A switching valve for blowing and sucking is connected in series between the dual-purpose pump and the ventilation tube. Both the blowing port and the suction port of the pump are connected to the blowing-suction switching valve. The metering automatic dispensing device also includes a cylindrical and vertically placed measuring cylinder. The upper interface and the lower interface are connected, the other end of the ventilation tube is connected to the upper interface of the measuring cylinder, one end of the catheter is connected to the lower interface of the measuring cylinder, and the other end of the catheter is connected to a Dispensing needles. The metering automatic dispensing device not only has accurate metering, is safe and reliable, and is convenient to operate, but also has the characteristics of simple structure and low cost.
Description
技术领域 technical field
本发明涉及医疗器械技术领域,尤其是涉及一种用于输液配药的器具。The invention relates to the technical field of medical instruments, in particular to an apparatus for infusion and medicine dispensing.
背景技术 Background technique
在医院静脉输液配药时,通常的操作方法是先用注射器从输液瓶内抽出少量液体注入到一个或多个粉针剂瓶内,待药剂溶解后再抽出注入输液瓶中,配置成可供输液的药液。上述的操作过程比较复杂,劳动强度高。When dispensing medicine for intravenous infusion in a hospital, the usual method of operation is to first use a syringe to extract a small amount of liquid from the infusion bottle and inject it into one or more powder injection bottles, and then draw it out and inject it into the infusion bottle after the medicine dissolves, so as to be configured as a liquid for infusion. liquid medicine. The above-mentioned operation process is more complicated and labor-intensive.
为此,有人设计了一种医用配药器(申请号:200420007724.0),包括固定架,在固定架的一端装溶剂架,另一端装有真空泵,还有连接导管,连接导管的两端都装有针头,还有进气管,进气管是在胶管一端装针头,另一端进气口有空气过滤网。还可以在真空泵旁的固定架上装缓冲瓶,缓冲瓶用导管与真空连通。本发明人也曾申请了名为医用配药器的专利(申请号:200410017880.X),虽然在一定程度上解决了现有技术存在的缺陷,但是仍然存在着下述问题:For this reason, someone has designed a kind of medical dispensing device (application number: 200420007724.0), comprises fixed frame, adorns solvent rack at one end of fixed frame, and vacuum pump is housed at the other end, also has connecting conduit, and the two ends of connecting conduit all are equipped with Needle, also has air inlet pipe, and air inlet pipe is to adorn needle at one end of rubber tube, and air filter screen is arranged at the air inlet of the other end. A buffer bottle can also be installed on the fixed frame next to the vacuum pump, and the buffer bottle is communicated with the vacuum with a conduit. The inventor has also applied for a patent (application number: 200410017880.X) called a medical dispensing device. Although the defects in the prior art have been solved to a certain extent, the following problems still exist:
1、在配制过程中缺乏计量工具,因而无法对药液进行准确的计量,有时候需要操作人员凭经验估计剂量,因而在应用过程中难以控制,工作精度都无法保证。1. There is a lack of measuring tools in the preparation process, so it is impossible to accurately measure the liquid medicine. Sometimes the operator needs to estimate the dose based on experience, so it is difficult to control during the application process, and the working accuracy cannot be guaranteed.
2、结构较为复杂,操作过程繁琐,需要分别通过多根针头,同时插入不同的瓶中才能完成一次配药,可操作性较差,并且使用成本也较高。2. The structure is relatively complicated, and the operation process is cumbersome. It is necessary to pass through multiple needles and insert them into different bottles at the same time to complete one dispensing. The operability is poor, and the use cost is also high.
3、适用范围不够广泛,一般在对瓶装的药液进行配制时较为顺利,而对塑瓶、软袋等包装的药液进行配制时,由于容易产生形变,难度就显得较大。3. The scope of application is not wide enough. Generally, it is relatively smooth when preparing bottled medicinal liquids, but it is more difficult to prepare medicinal liquids packaged in plastic bottles, soft bags, etc. due to easy deformation.
发明内容 Contents of the invention
本发明的目的是针对上述问题,提供一种具有计量功能,能够准确地根据需要配制不同规格的药液,计量准确,安全可靠的可计量自动配药器;解决了现有技术所存在缺乏计量功能,在配制药液时难以控制比例、药液剂量难以控制、人为因素影响较大及配药成本高等技术问题。The purpose of the present invention is to address the above problems, to provide a metering function, which can accurately prepare medicinal liquids of different specifications according to the needs, accurate metering, safe and reliable meterable automatic dispensing device; solves the lack of metering function in the prior art , It is difficult to control the proportion when preparing the liquid medicine, the dosage of the liquid medicine is difficult to control, the influence of human factors is relatively large, and the cost of dispensing is high.
本发明的另一目的是针对上述问题,提供一种结构简单,设计合理,操作过程简便,通过一根配药针即可方便地实现配药的可计量自动配药器;解决了现有技术所存在的结构较为复杂、操作过程繁琐等技术问题。Another object of the present invention is to address the above problems and provide a meterable automatic dispensing device with simple structure, reasonable design, and simple operation process, which can conveniently realize dispensing through a dispensing needle; solves the problems existing in the prior art The structure is relatively complex, the operation process is cumbersome and other technical problems.
本发明还有一目的是针对上述问题,提供一种成本低廉、操作简便的可计量自动配药器;解决了现有技术所存在的成本较高、装配拆卸难度较大等技术问题。Another object of the present invention is to address the above problems, to provide a low-cost, easy-to-operate metering automatic dispensing device; to solve the technical problems of high cost and difficult assembly and disassembly existing in the prior art.
为达到上述目的,本发明采用了下列技术方案:本可计量自动配药器,包括一个吹吸两用泵、通气管和导液管,在吹吸两用泵和通气管之间设有一个吹吸转换阀,通气管的端部、吹吸两用泵的吹气口和吸气口均接于吹吸转换阀上,其特征在于,本可计量自动配药器还包括一个圆筒形的且垂直放置的计量筒,计量筒的两个端部分别具有与其内腔相通的上接口和下接口,所述的通气管的另一端接于计量筒的上接口上,所述的导液管一端接于计量筒的下接口上,导液管的另一端连接有一根配药针。In order to achieve the above object, the present invention adopts the following technical solutions: the metering automatic dispensing device includes a dual-purpose pump for blowing and suction, a ventilator and a catheter, and a blower is arranged between the dual-purpose pump for blowing and sucking and the ventilator. Suction switching valve, the end of the ventilation pipe, the blowing port and the suction port of the blowing-suction dual-purpose pump are all connected to the blowing-suction switching valve. It is characterized in that the automatic metering dispenser also includes a cylindrical and vertical Placed measuring cylinder, the two ends of the measuring cylinder respectively have an upper interface and a lower interface communicating with the inner cavity, the other end of the ventilation tube is connected to the upper interface of the measuring cylinder, and one end of the catheter is connected to the On the lower interface of the measuring cylinder, the other end of the catheter is connected with a medicine dispensing needle.
本发明创造性地在自动配药器上设置了计量装置,有效地解决了现有技术存在的缺乏计量功能,在配制药液时难以控制比例,药液剂量难以控制的问题。这里的计量筒一般是垂直放置,在药液进入计量筒时,可以随时观测量的变化,当达到所需的值时就停止吸入或压出药液,进行下一步操作。所述的吹吸转换阀可以很方便地进行吹气或吸气功能的切换。The present invention is creatively provided with a metering device on the automatic drug dispenser, which effectively solves the problems of lack of metering function in the prior art, difficulty in controlling the proportion and difficult control of the dose of the drug solution in the preparation of the drug solution. The measuring cylinder here is generally placed vertically. When the liquid medicine enters the measuring cylinder, the change of the amount can be observed at any time. When the required value is reached, the inhalation or extrusion of the liquid medicine is stopped, and the next step is performed. The blowing and suction switching valve can conveniently switch between blowing and suction functions.
在上述的可计量自动配药器中,所述的配药针包括一个卡钳式针座,与卡钳式针座固连的针管,所述的卡钳式针座的卡钳嘴与导液管相卡接。在操作时手指捏住卡钳端,用力时可通过卡钳使导液管发生形变而阻塞,放松时导液管恢复原状时又与针管连通。In the above automatic metering dispenser, the dispensing needle includes a caliper-type needle base and a needle tube fixedly connected to the caliper-type needle base, and the caliper mouth of the caliper-type needle base is engaged with the catheter. During operation, pinch the end of the caliper with fingers, and the catheter can be deformed and blocked by the caliper when exerting force. When the catheter is relaxed, the catheter returns to its original shape and communicates with the needle again.
在上述的可计量自动配药器中,所述的针管是由两根互不相通的长针管和短针管所组成,短针管套于长针管的后部,且长针管与短针管之间有一定的间隙,长针管的通液口位于长针管的前端部。In the above-mentioned meterable automatic dispensing device, the needle tube is composed of two long needle tubes and a short needle tube which are not connected to each other. The short needle tube is sleeved at the rear of the long needle tube, and there is a certain gap, the liquid opening of the long needle tube is located at the front end of the long needle tube.
在上述的可计量自动配药器中,所述的卡钳式针座上设有一气压平衡孔,所述的短针管与气压平衡孔相贯通,并在气压平衡孔内设有气体过滤膜。此结构用于配药过程中维持输液瓶内外的气压平衡,使护士的操作省力。In the above-mentioned metering automatic dispensing device, an air pressure balance hole is provided on the caliper type needle holder, the short needle tube communicates with the air pressure balance hole, and a gas filter membrane is provided in the air pressure balance hole. This structure is used to maintain the air pressure balance inside and outside the infusion bottle during the dispensing process, which saves the nurse's operation.
为了便于观测,在上述的可计量自动配药器中,所述的计量筒由硬质透明材料制成,并在筒体上设有计量刻度。In order to facilitate observation, in the above-mentioned metering automatic drug dispenser, the metering cylinder is made of hard transparent material, and a metering scale is provided on the barrel body.
在上述的可计量自动配药器中,所述的吹吸转换阀与计量筒之间的通气管中串接有缓冲槽。In the above-mentioned metering automatic dosing device, a buffer tank is connected in series in the air pipe between the blowing-suction switching valve and the metering cylinder.
在上述的可计量自动配药器中,所述的缓冲槽的侧面接口与计量筒相连,缓冲槽的顶部接口与吹吸转换阀相连,缓冲槽的底部接口设有一个排液阀。当操作人员万一出现严重失误,液体可流到缓冲槽的下部,此时可打开排液阀将液体放出,以免影响下次使用。In the above automatic metering dispenser, the side interface of the buffer tank is connected to the metering cylinder, the top interface of the buffer tank is connected to the blow-suction switching valve, and the bottom interface of the buffer tank is provided with a liquid discharge valve. In case of a serious mistake by the operator, the liquid can flow to the lower part of the buffer tank. At this time, the liquid discharge valve can be opened to release the liquid, so as not to affect the next use.
为了防止空气中的污物进入,在上述的可计量自动配药器中,所述的缓冲槽上部设有空气过滤层。In order to prevent dirt in the air from entering, in the above-mentioned metering automatic dispensing device, an air filter layer is provided on the upper part of the buffer tank.
在上述的可计量自动配药器中,所述的缓冲槽与计量筒之间是通过活动接头连接的。活动接头连接可使本自动配药器使用方便,其计量筒和配药针可一次使用,安全卫生。In the above automatic metering dispenser, the buffer tank and the metering cylinder are connected through a movable joint. The movable joint connection can make the automatic dispensing device easy to use, and its metering cylinder and dispensing needle can be used once, which is safe and hygienic.
与现有的技术相比,本可计量自动配药器的优点在于:Compared with the existing technology, the advantages of this automatic metering dispenser are:
1、由于设置了计量筒,具有了计量功能,能够准确地根据需要配制不同剂量的药液,计量准确,安全可靠;并且由于采用透明材料,观测起来也较为方便。1. Since the metering cylinder is installed, it has a metering function, and can accurately prepare different doses of liquid medicine according to the needs, and the metering is accurate, safe and reliable; and because of the use of transparent materials, it is also more convenient to observe.
2、结构简单,设计合理,操作过程简便,通过一根配药针即可方便地实现配药,有效地简化了现有技术的结构,降低医护人员的劳动强度。2. The structure is simple, the design is reasonable, and the operation process is simple. The dispensing can be conveniently realized through a dispensing needle, which effectively simplifies the structure of the prior art and reduces the labor intensity of medical staff.
3、成本低廉、适用范围广,能够广泛地适用于各类针剂(粉针剂、水针剂)和各类包装材料的大输液(玻瓶、塑瓶、软袋)的配药。3. Low cost and wide application range, it can be widely used in the dispensing of various types of injections (powder injections, water injections) and large infusions of various packaging materials (glass bottles, plastic bottles, soft bags).
附图说明 Description of drawings
附图是本发明提供的可计量自动配药器的结构示意图。The accompanying drawing is a schematic structural view of the metered automatic dispensing device provided by the present invention.
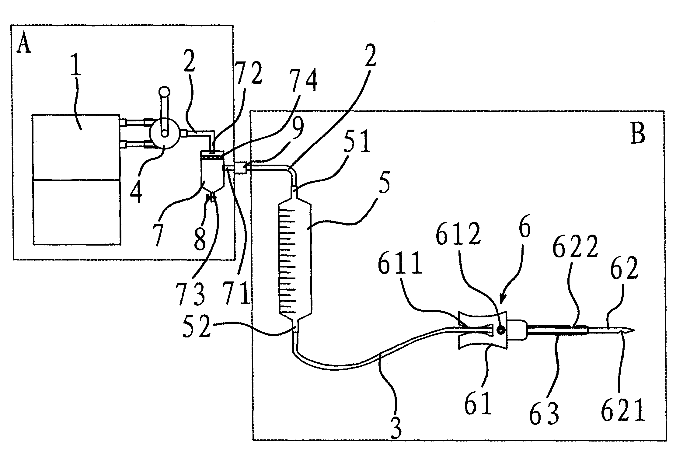
图中,吹吸两用泵1、通气管2、导液管3、吹吸转换阀4、计量筒5、上接口51、下接口52、配药针6、卡钳式针座61、长针管62、短针管63、卡钳嘴611、气压平衡孔612、通液口621、气压平衡孔622、缓冲槽7、侧面接口71、顶部接72、底部接口73、空气过滤层74、排液阀8、活动接头9、机体部分A、一次性配药管部分B。In the figure, blow-suction dual-purpose pump 1,
具体实施方式 Detailed ways
如图所示,本可计量自动配药器可以划分为两大部分:机体部分A和一次性配药管部分B。机体A主要由吹吸两用泵1、吹吸转换阀4和缓冲槽7四部分组成;一次性配药管B主要由计量筒5、配药针6、通气管2及导液管3组成。转换阀4和计量筒5之间是通过活动接头9连接的。通过活动接头9可以将机体A和一次性配药管部分B连接起来,以便在完成一次药液配制后更换一次性配药管部分B,使配药过程安全卫生。As shown in the figure, the meterable automatic dispensing device can be divided into two parts: a body part A and a disposable dispensing tube part B. Body A is mainly composed of blow-suction dual-purpose pump 1 , blow-
在吹吸两用泵1和通气管2之间串接有一个吹吸转换阀4,通气管2的端部、吹吸两用泵1的吹气口和吸气口均接于吹吸转换阀4上。通气管2的另一端接于计量筒5的上接口51上。所述的计量筒5垂直放置,导液管3的一端与计量筒5的下接口52相连,导液管3的另一端连接有一根配药针6。计量筒5由硬质透明材料制成,在筒体上设有计量刻度。这样,在配药过程中可以通过观测计量筒5内液面的高度精确地控制药液的剂量。A blow-
配药针6包括一个卡钳式针座61,与卡钳式针座61固连的长针管62和短针管63,短针管63套于长针管62的后部。所述的卡钳式针座61的卡钳嘴611与软体的导液管3相卡接。长针管62的通液口621位于长针管62的前端部。在短针管63上或短针管63与长针管62之间的间隙处设有气压平衡孔622。在卡钳式针座61上也设有一气压平衡孔612,这两个气压平衡孔612、622是相贯通的。本实施例中,在气压平衡孔612内设有空气过滤膜,用于防止污浊空气进入药剂瓶内。在操作时手指捏住卡钳端,用力时可通过卡钳使导液管3发生形变而阻塞药液流通,放松时导液管3恢复原状又与长针管62相通。The dispensing
在吹吸转换阀4和计量筒5之间的导液管3上串接有缓冲槽7。缓冲槽7的侧面接口71与计量筒5相连,缓冲槽7的顶部接口72与吹吸转换阀4相连,缓冲槽7的底部接口73设有一个排液阀8。在缓冲槽7上部设有空气过滤层74。空气过滤层74可保证在配药管中通过的气流是清洁卫生的。当操作人员出现严重失误、液体流到缓冲槽7的下部时,可打开排液阀8将液体放出,以免影响下次使用。A
在使用时,将一次性配药管B与机体A连接,将计量筒5垂直安放在机体A上,使吹吸两用泵1工作,用食指和拇指捏住配药针6的卡钳式针座61,将配药针6插进大输液瓶内,把吹吸转换阀4调到吸气的状态,此时液体很快被吸到计量筒5内,至所需刻度,捏住针座61卡钳端,拔出配药针6,并将配药针6插进需要配制的小试剂瓶内,将吹吸转换阀4切换到吹气状态,注入药液。如果需要配制多种药剂,同样是捏住针座61卡钳端,拔除配药针6再插到其他的针剂瓶内。待针剂瓶内药剂溶解后,分别将药液吸入计量筒5,再注入大输液瓶内,即完成配药过程。When in use, connect the disposable dispensing tube B to the body A, place the
本文中所描述的具体实施例仅仅是对本发明精神作举例说明。本发明所属技术领域的技术人员可以对所描述的具体实施例做各种各样的修改或补充或采用类似的方式替代,但并不会偏离本发明的精神或者超越所附权利要求书所定义的范围。The specific embodiments described herein are merely illustrative of the spirit of the invention. Those skilled in the art to which the present invention belongs can make various modifications or supplements to the described specific embodiments or adopt similar methods to replace them, but they will not deviate from the spirit of the present invention or go beyond the definition of the appended claims range.
尽管本文较多地使用了吹吸两用泵1、通气管2、导液管3、吹吸转换阀4、计量筒5、上接口51、下接口52、配药针6、卡钳式针座61、长针管62、短针管63、卡钳嘴611、气压平衡孔612、通液口621、气压平衡孔622、缓冲槽7、侧面接口71、顶部接口72、底部接口73、空气过滤层74、排液阀8、活动接头9、机体部分A、一次性配药管部分B等术语,但并不排除使用其它术语的可能性。使用这些术语仅仅是为了更方便地描述和解释本发明的本质;把它们解释成任何一种附加的限制都是与本发明精神相违背的。Although this article uses more blow-suction dual-purpose pump 1,
Claims (7)
Priority Applications (1)
| Application Number | Priority Date | Filing Date | Title |
|---|---|---|---|
| CNB2005100295371A CN100560047C (en) | 2005-09-09 | 2005-09-09 | Automatic medicine dispenser capable of measurement |
Applications Claiming Priority (1)
| Application Number | Priority Date | Filing Date | Title |
|---|---|---|---|
| CNB2005100295371A CN100560047C (en) | 2005-09-09 | 2005-09-09 | Automatic medicine dispenser capable of measurement |
Publications (2)
| Publication Number | Publication Date |
|---|---|
| CN1762321A CN1762321A (en) | 2006-04-26 |
| CN100560047C true CN100560047C (en) | 2009-11-18 |
Family
ID=36746786
Family Applications (1)
| Application Number | Title | Priority Date | Filing Date |
|---|---|---|---|
| CNB2005100295371A Expired - Fee Related CN100560047C (en) | 2005-09-09 | 2005-09-09 | Automatic medicine dispenser capable of measurement |
Country Status (1)
| Country | Link |
|---|---|
| CN (1) | CN100560047C (en) |
Families Citing this family (3)
| Publication number | Priority date | Publication date | Assignee | Title |
|---|---|---|---|---|
| CN101695593B (en) * | 2009-10-26 | 2012-09-05 | 吕海洋 | Core bar-free power injector |
| CN101829020B (en) * | 2010-04-28 | 2012-07-25 | 河南海岩电子技术有限公司 | Automatic sterile dispensing machine and control system thereof |
| CN105267037B (en) * | 2015-11-27 | 2017-11-14 | 曹耀锋 | Automatic medicine dispensing device |
-
2005
- 2005-09-09 CN CNB2005100295371A patent/CN100560047C/en not_active Expired - Fee Related
Also Published As
| Publication number | Publication date |
|---|---|
| CN1762321A (en) | 2006-04-26 |
Similar Documents
| Publication | Publication Date | Title |
|---|---|---|
| CN104288857B (en) | A kind of medical infusion device | |
| CN100560047C (en) | Automatic medicine dispenser capable of measurement | |
| CN209270513U (en) | A double-tube single-push syringe | |
| CN201759859U (en) | Liquid dispersing device for medical use | |
| CN203280848U (en) | Injector used in surgical department | |
| CN216908634U (en) | A dispenser for precise suction of liquid medicine | |
| CN208927260U (en) | an indwelling needle | |
| CN201823115U (en) | Infusion bucket for newborn | |
| CN206880850U (en) | A kind of mobile fixable type can quantify continuous liquid separation syringe manually | |
| CN201244241Y (en) | Medical medicine-adding device | |
| CN205307400U (en) | Medicine medicine dispenser for oncology | |
| CN209451078U (en) | Anaesthetize watering can | |
| CN108671341B (en) | anesthesia watering can | |
| CN2824928Y (en) | Apparatus capable of dispensing medicament quantitatively | |
| CN217886670U (en) | Disposable medical aseptic quantitative medicine dispenser | |
| CN108671357B (en) | nasopharyngeal anesthesia spray bottle | |
| CN209422711U (en) | Nasopharynx anaesthetizes watering can | |
| CN206026781U (en) | Double plug safety transfusion system | |
| CN209611757U (en) | Disposable efficient medical liquid dispenser | |
| CN114159690A (en) | Extremely simple whole-course unmanned nuclear medicine split charging and injection integrated machine | |
| CN219921564U (en) | Hollow needle with filtering function | |
| CN209827568U (en) | Pharmacy department dispensing device | |
| CN206315288U (en) | Double end matches somebody with somebody liquid syringe | |
| CN205964612U (en) | Medical transfusion device | |
| KR20170047415A (en) | Filter needle |
Legal Events
| Date | Code | Title | Description |
|---|---|---|---|
| C06 | Publication | ||
| PB01 | Publication | ||
| C10 | Entry into substantive examination | ||
| SE01 | Entry into force of request for substantive examination | ||
| C14 | Grant of patent or utility model | ||
| GR01 | Patent grant | ||
| ASS | Succession or assignment of patent right |
Owner name: WENZHOU JINGHUAN TECHNOLOGY CO., LTD. Free format text: FORMER OWNER: LV HAIYANG Effective date: 20140918 |
|
| C41 | Transfer of patent application or patent right or utility model | ||
| COR | Change of bibliographic data |
Free format text: CORRECT: ADDRESS; FROM: 317600 TAIZHOU, ZHEJIANG PROVINCE TO: 325038 WENZHOU, ZHEJIANG PROVINCE |
|
| TR01 | Transfer of patent right |
Effective date of registration: 20140918 Address after: 325038, No. 176-178 Hing South Road, Yao Town, Longwan District, Zhejiang, Wenzhou Patentee after: WENZHOU JINGHUAN TECHNOLOGY Co.,Ltd. Address before: 317600 Zhejiang province Yuhuan County Zhugang Chengguan Pearl City Road 81 Lane 15, Room 202 Patentee before: Lv Haiyang |
|
| TR01 | Transfer of patent right |
Effective date of registration: 20201209 Address after: Room 302, building 21, Wenzhou Zhonggang science and Technology Park, No.22, Binhai Third Road, Yongxing street, Longwan District, Wenzhou City, Zhejiang Province Patentee after: WENZHOU LONGWAN REFINEMENT TUBE INDUSTRY Co.,Ltd. Address before: No.176-178, Xingnan Road, Yaoxi Town, Longwan District, Wenzhou City, Zhejiang Province Patentee before: WENZHOU JINGHUAN TECHNOLOGY Co.,Ltd. |
|
| TR01 | Transfer of patent right | ||
| CF01 | Termination of patent right due to non-payment of annual fee |
Granted publication date: 20091118 |
|
| CF01 | Termination of patent right due to non-payment of annual fee |
