CN100554687C - Oil sucker with eccentric wheel and without beam - Google Patents
Oil sucker with eccentric wheel and without beam Download PDFInfo
- Publication number
- CN100554687C CN100554687C CNB2007100155958A CN200710015595A CN100554687C CN 100554687 C CN100554687 C CN 100554687C CN B2007100155958 A CNB2007100155958 A CN B2007100155958A CN 200710015595 A CN200710015595 A CN 200710015595A CN 100554687 C CN100554687 C CN 100554687C
- Authority
- CN
- China
- Prior art keywords
- wheel
- belt
- balance
- suspension
- bracket
- Prior art date
- Legal status (The legal status is an assumption and is not a legal conclusion. Google has not performed a legal analysis and makes no representation as to the accuracy of the status listed.)
- Expired - Fee Related
Links
- 239000000725 suspension Substances 0.000 claims abstract description 40
- 238000005086 pumping Methods 0.000 claims abstract description 17
- 239000003638 chemical reducing agent Substances 0.000 claims abstract description 9
- 239000003921 oil Substances 0.000 abstract description 9
- 238000004519 manufacturing process Methods 0.000 abstract description 6
- 239000010779 crude oil Substances 0.000 abstract description 2
- 238000011084 recovery Methods 0.000 abstract 1
- 230000005540 biological transmission Effects 0.000 description 2
- 238000010586 diagram Methods 0.000 description 2
- 238000005516 engineering process Methods 0.000 description 2
- 150000001875 compounds Chemical class 0.000 description 1
- 238000005461 lubrication Methods 0.000 description 1
- 238000012423 maintenance Methods 0.000 description 1
- 238000000034 method Methods 0.000 description 1
- 239000003129 oil well Substances 0.000 description 1
- 239000013585 weight reducing agent Substances 0.000 description 1
Images
Landscapes
- Transmission Devices (AREA)
Abstract
一种用于油田机械采油的无游梁滑动偏心轮抽油机,其支架为长方体绗架结构,悬重轮、平衡轮分别位于支架顶部横梁左右两端,横梁的中部和左端设有导槽,横梁通过导槽可沿固定螺栓移动;平衡带通过平衡轮与平衡箱连接,平衡箱通过两导向轮沿导向绳上下移动;偏心轮和动力轮为同轴一体,动力轮上中心轴与连杆上端连接,中心轴沿滑轨可上下移动,悬重带一端固定在偏心轮上,另一端通过悬重轮与悬带器连接;动力带一端固定在支架上,另一端固定在动力轮上;连杆下端与减速器曲柄上的曲柄销连接。本发明具有游梁抽油机曲柄连杆结构特点,采用滑动偏心轮机构,冲程长,便于平衡调整,操作方便,节约电能,便于修井作业,能够适用于各种油田原油生产需要。
A beamless sliding eccentric pumping unit used for mechanical oil recovery in oilfields. The bracket is a cuboid quilted frame structure. The suspension wheel and the balance wheel are respectively located at the left and right ends of the beam on the top of the bracket. The middle and left ends of the beam are provided with guide grooves. , the beam can move along the fixed bolt through the guide groove; the balance belt is connected with the balance box through the balance wheel, and the balance box moves up and down along the guide rope through two guide wheels; The upper end of the rod is connected, the central axis can move up and down along the slide rail, one end of the suspension belt is fixed on the eccentric wheel, and the other end is connected with the belt suspension through the suspension wheel; one end of the power belt is fixed on the bracket, and the other end is fixed on the power wheel ; The lower end of the connecting rod is connected with the crank pin on the reducer crank. The invention has the structural characteristics of the crank and connecting rod of the beam pumping unit, adopts a sliding eccentric mechanism, has a long stroke, is convenient for balance adjustment, is convenient to operate, saves electric energy, is convenient for workover operations, and is applicable to crude oil production needs of various oil fields.
Description
技术领域 technical field
本发明涉及油田机械采油设备,具体而言是一种无游梁滑动偏心轮抽油机。The invention relates to oil field mechanical oil production equipment, in particular to a beamless sliding eccentric pumping unit.
背景技术 Background technique
目前,在油田机械采油设备中,分游梁抽油机和无游梁抽油机两大类,其中“无游梁链条增程式长冲程抽油机”专利号:ZL87103481,这种抽油机虽然采用了增程轮结构,但仍采用链条传动,存在着链条易损坏,润滑条件差的问题,影响整机使用寿命;又如“双变径摆轮式抽油机”专利号:ZL952246236,这种抽油机虽然采用了大、小变径轮同轴偏心结构,但冲程仍受到一定限制,因而,现有技术不能满足油田开采需要长冲程、操作维护方便、使用寿命长的抽油机。At present, in oil field mechanical oil production equipment, there are two types of beam pumping units and beamless pumping units. Among them, the patent number of "extended range long-stroke pumping unit with no beam chain" is ZL87103481. This pumping unit Although the range-extending wheel structure is adopted, the chain transmission is still used, which has the problems of easy damage to the chain and poor lubrication conditions, which affects the service life of the whole machine; another example is the patent number of "double variable diameter balance wheel pumping unit": ZL952246236, Although this type of pumping unit adopts the coaxial and eccentric structure of large and small variable diameter wheels, the stroke is still limited to a certain extent. Therefore, the existing technology cannot meet the needs of oil field production with long stroke, convenient operation and maintenance, and long service life. .
发明内容 Contents of the invention
本发明的目的在于提供一种无游梁滑动偏心轮抽油机,克服现有的无游梁抽油机的不足,为石油开采提供结构简单,技术先进,使用寿命长的新型抽油机。The purpose of the present invention is to provide a beamless sliding eccentric pumping unit, which overcomes the shortcomings of the existing beamless pumping unit and provides a new type of pumping unit with simple structure, advanced technology and long service life for oil exploitation.
本发明解决其技术问题采用的技术方案如下:The technical scheme that the present invention solves its technical problem adopts is as follows:
无游梁滑动偏心轮抽油机包括:平衡箱、导向轮、导向绳、平衡带、平衡轮、横梁、固定螺栓、轮轴、悬重轮、悬重带、悬带器、动力带、偏心轮、动力轮、中心轴、连杆、平衡块、曲柄、曲柄销、输出轴、减速器、大皮带轮、三角带、电机、支架、底座;其特征在于:支架为长方体绗架结构,悬重轮、平衡轮分别位于支架顶部横梁左右两端,横梁的中部和左端设有导槽,横梁与支架由固定螺栓连接,横梁通过导槽可沿固定螺栓左右移动;平衡带通过平衡轮与平衡箱连接,平衡箱两边设有导向轮,导向轮沿导向绳上下移动;偏心轮和动力轮为同轴一体,位于支架中央,动力轮和偏心轮上设有减重孔,动力轮上的中心轴与连杆上端连接,中心轴沿支架上的滑轨可上下移动,悬重带一端固定在偏心轮上,另一端通过悬重轮与悬带器连接,悬带器与光杆连接;动力带一端固定在支架上部,另一端固定在动力轮上,旋向与悬重带旋向相反;连杆下端与减速器曲柄上的曲柄销连接。Beamless sliding eccentric wheel pumping unit includes: balance box, guide wheel, guide rope, balance belt, balance wheel, beam, fixing bolts, axle, suspension wheel, suspension belt, suspension device, power belt, eccentric wheel , power wheel, central shaft, connecting rod, balance weight, crank, crank pin, output shaft, reducer, large pulley, V-belt, motor, bracket, base; it is characterized in that: the bracket is a cuboid quilting structure, and the suspension wheel The balance wheels are respectively located at the left and right ends of the beam on the top of the bracket. There are guide grooves in the middle and left end of the beam. The beam and the bracket are connected by fixing bolts. The beam can move left and right along the fixing bolts through the guide grooves; the balance belt is connected to the balance box through the balance wheels. , There are guide wheels on both sides of the balance box, and the guide wheels move up and down along the guide rope; the eccentric wheel and the power wheel are coaxial and located in the center of the bracket, and there are weight-reducing holes on the power wheel and the eccentric wheel. The upper end of the connecting rod is connected, the central axis can move up and down along the slide rail on the bracket, one end of the suspension belt is fixed on the eccentric wheel, the other end is connected with the suspension belt through the suspension wheel, and the suspension belt is connected with the polished rod; one end of the power belt is fixed On the upper part of the bracket, the other end is fixed on the power wheel, and the direction of rotation is opposite to that of the suspension belt; the lower end of the connecting rod is connected with the crank pin on the crank of the reducer.
根据上述方案制造的无游梁滑动偏心轮抽油机,保留了游梁抽油机曲柄连杆机构的特点,采用了滑动偏心轮结构,冲程得到了进一步增长,动力轮与动力带、偏心轮与悬重带之间始终保持最佳传动角(90°),采用了复合平衡,便于平衡调整,节约电能,油井修井作业时悬重轮、横梁可向右移动,便于修井作业,适用于各种油田原油生产需要。The beam pumping unit without sliding eccentric wheel manufactured according to the above scheme retains the characteristics of the crank-link mechanism of the beam pumping unit, adopts the structure of sliding eccentric wheel, and the stroke has been further increased. The power wheel and the power belt, eccentric wheel Always maintain the best transmission angle (90°) with the suspension belt, and adopt compound balance, which is convenient for balance adjustment and saves electric energy. During oil well workover operations, the suspension wheel and beam can move to the right, which is convenient for workover operations It is suitable for various oilfield crude oil production needs.
附图说明 Description of drawings
图1-本发明主视结构示意图。Figure 1 - a schematic diagram of the front view of the present invention.
图2-本发明左视结构示意图Fig. 2-the left view structure schematic diagram of the present invention
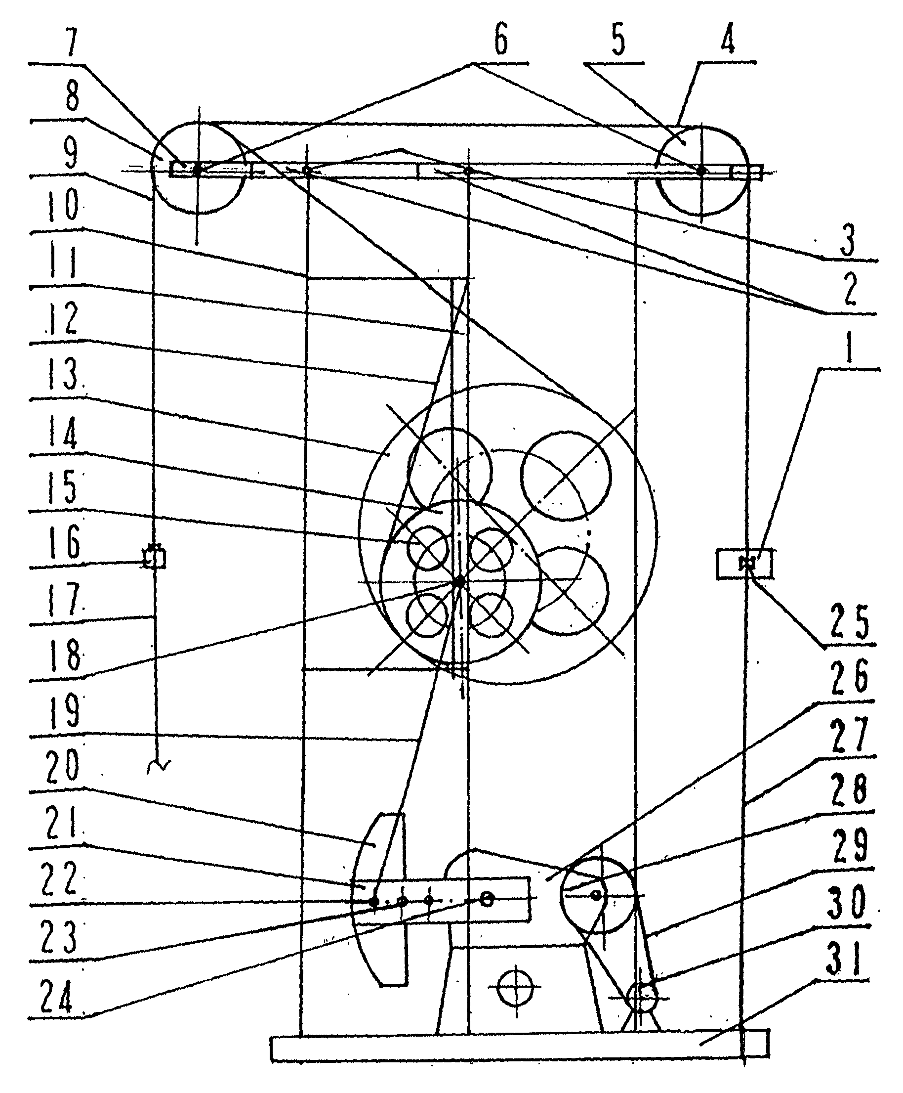
附图中,1-平衡箱,2-导槽,3-固定螺栓,4-平衡带,5-平衡轮,6-轮轴,7-横梁,8-悬重轮,9-悬重带,10-支架,11-滑轨,12-动力带,13-偏心轮,14-动力轮,15-减重孔,16-悬带器,17-光杆,18-中心轴,19-连杆,20-平衡块,21-曲柄,22-曲柄销,23-曲柄孔,24-输出轴,25-导向轮,26-减速器,27-导向绳,28-大皮带轮,29-三角带,30-电动机,31-底座。In the accompanying drawings, 1-balance box, 2-guide, 3-fixing bolt, 4-balance belt, 5-balance wheel, 6-axle, 7-beam, 8-suspension wheel, 9-suspension belt, 10 - Bracket, 11- slide rail, 12- power belt, 13- eccentric wheel, 14- power wheel, 15- weight reduction hole, 16- belt sling, 17- polished rod, 18- central shaft, 19- connecting rod, 20 - Balance weight, 21- crank, 22- crank pin, 23- crank hole, 24- output shaft, 25- guide wheel, 26- reducer, 27- guide rope, 28- large pulley, 29- triangle belt, 30- Electric motor, 31-base.
具体实施方式 Detailed ways
下面结合附图对本发明的实施做进一步阐述:Implementation of the present invention will be further elaborated below in conjunction with accompanying drawing:
本发明包括:平衡箱1、导向轮25、导向绳27、平衡带4、平衡轮5、横梁7、固定螺栓3、轮轴6、悬重轮8、悬重带9、悬带器16、动力带12、偏心轮13、动力轮14、中心轴18、连杆19、平衡块20、曲柄21、曲柄销22、输出轴24、减速器26、大皮带轮28、三角带29、电动机30、支架10、底座31;其支架10为长方体绗架结构,悬重轮8、平衡轮5分别位于支架10顶部横梁7左右两端,横梁7的中部和左端设有导槽2,横梁7与支架10由固定螺栓3连接,横梁7通过导槽2可沿固定螺栓3左右移动;平衡带4通过平衡轮5与平衡箱1连接,平衡箱1两边设有导向轮25,导向轮25沿导向绳27上下移动;偏心轮13和动力轮14为同轴一体,位于支架10中央,动力轮14和偏心轮13上设有减重孔15,动力轮14上的中心轴18与连杆19上端连接,中心轴18沿支架10上的滑轨11可上下移动,悬重带9一端固定在偏心轮13上,另一端通过悬重轮8与悬带器16连接,悬带器16与光杆17连接;动力带12一端固定在支架10上部,另一端固定在动力轮14上,旋向与悬重带9旋向相反;连杆19下端与减速器26曲柄21上的曲柄销22连接。The present invention comprises: balance box 1, guide wheel 25, guide rope 27, balance belt 4, balance wheel 5,
工作原理:电动机30将电能转变为机械能,电动机30上的小皮带轮通过三角带29带动减速器26上大皮带轮28,经减速后由输出轴24带动曲柄21旋转,安装在曲柄21上的曲柄销22带动连杆19,连杆19带动中心轴18,使中心轴18带动偏心轮13、动力轮14沿滑轨11将曲柄21的旋转运动变为上下运动,偏心轮13、动力轮14向上运动时,同时逆时针旋转,使悬重带9通过悬重轮8、悬带器16带动光杆17向下运动,当偏心轮13、动力轮14向下运动时,同时顺时针旋转,使悬重带9通过悬重轮8、悬带器16带动光杆17向上运动,从而实现抽油生产。Working principle: The motor 30 converts electrical energy into mechanical energy. The small pulley on the motor 30 drives the large pulley 28 on the reducer 26 through the V-belt 29. After deceleration, the
Claims (1)
Priority Applications (1)
| Application Number | Priority Date | Filing Date | Title |
|---|---|---|---|
| CNB2007100155958A CN100554687C (en) | 2007-06-21 | 2007-06-21 | Oil sucker with eccentric wheel and without beam |
Applications Claiming Priority (1)
| Application Number | Priority Date | Filing Date | Title |
|---|---|---|---|
| CNB2007100155958A CN100554687C (en) | 2007-06-21 | 2007-06-21 | Oil sucker with eccentric wheel and without beam |
Publications (2)
| Publication Number | Publication Date |
|---|---|
| CN101074663A CN101074663A (en) | 2007-11-21 |
| CN100554687C true CN100554687C (en) | 2009-10-28 |
Family
ID=38975893
Family Applications (1)
| Application Number | Title | Priority Date | Filing Date |
|---|---|---|---|
| CNB2007100155958A Expired - Fee Related CN100554687C (en) | 2007-06-21 | 2007-06-21 | Oil sucker with eccentric wheel and without beam |
Country Status (1)
| Country | Link |
|---|---|
| CN (1) | CN100554687C (en) |
Families Citing this family (7)
| Publication number | Priority date | Publication date | Assignee | Title |
|---|---|---|---|---|
| CN101787869B (en) * | 2009-01-23 | 2014-02-19 | 徐洪德 | Double-cylinder symmetrical type fully balanced hydraulic oil pumping unit |
| CN101787868B (en) * | 2009-01-23 | 2014-02-19 | 徐洪德 | Single-cylinder bidirectional full-balanced hydraulic oil extractor |
| CN101787870B (en) * | 2009-01-23 | 2014-02-19 | 徐洪德 | Multi-cylinder combined type full-balanced hydraulic oil pumping unit |
| CN103032053B (en) * | 2012-12-19 | 2015-09-16 | 西安石油大学 | A kind of short stroke eccentric gear type oil pumper |
| CN104563973B (en) * | 2015-01-18 | 2017-02-22 | 中国石油化工股份有限公司胜利油田分公司孤岛采油厂 | Trapezoidal tooth coupling belt type discontinuous non-beam pumping unit |
| CN106894790A (en) * | 2017-04-25 | 2017-06-27 | 西南石油大学 | A kind of link balance beam pumping unit |
| CN110905452B (en) * | 2019-12-05 | 2022-02-18 | 西安石油大学 | Eccentric wheel type oil pumping machine |
-
2007
- 2007-06-21 CN CNB2007100155958A patent/CN100554687C/en not_active Expired - Fee Related
Also Published As
| Publication number | Publication date |
|---|---|
| CN101074663A (en) | 2007-11-21 |
Similar Documents
| Publication | Publication Date | Title |
|---|---|---|
| CN100554687C (en) | Oil sucker with eccentric wheel and without beam | |
| CN104373084A (en) | Walking beam type double-horsehead pulley block pumping unit | |
| US12129746B2 (en) | Multi-phase controlled multi-well pumping unit | |
| CN101532377B (en) | Pendulum-type energy-saving oil extractor | |
| CN103216216B (en) | Novel vertical mechanical reversing energy-saving pumping unit | |
| CN202325429U (en) | Long-stroke dual-well oil pumping unit | |
| CN101307683A (en) | Symmetrically balanced chain pumping unit | |
| CN203050645U (en) | Beam-pumping unit | |
| CN2876326Y (en) | Winding drum type intelligent oil pumping machine | |
| CN101187304B (en) | High reliability double well pumping machine | |
| CN201560752U (en) | Double-well linear pumping unit | |
| CN201771474U (en) | Self-balancing double-well oil pumping unit | |
| CN204591225U (en) | A kind of chain reversing pumping unit drive unit | |
| CN104234670B (en) | A kind of tower linear oil pumping machine | |
| CN203285395U (en) | Novel vertical long-stroke intelligent oil pumping unit | |
| CN202673256U (en) | Cluster well one machine double mining lifting device | |
| CN203161183U (en) | Long-stroke chain-type oil pumping unit | |
| CN202990988U (en) | Double-chain oil pumping unit | |
| CN202100241U (en) | Slide block type positive torsion oil pumping unit | |
| CN201843589U (en) | Composite crown type chain beam-pumping unit | |
| CN103790557B (en) | One machine many wells economical pumping unit and oil pumping method thereof | |
| CN201753598U (en) | Chain type twin-well energy-saving oil extractor | |
| CN201738885U (en) | Double-well pumping unit | |
| CN201133237Y (en) | Double well oil pumping machine | |
| CN201786330U (en) | Low-speed high-torque motor pumping unit |
Legal Events
| Date | Code | Title | Description |
|---|---|---|---|
| C06 | Publication | ||
| PB01 | Publication | ||
| C10 | Entry into substantive examination | ||
| SE01 | Entry into force of request for substantive examination | ||
| C14 | Grant of patent or utility model | ||
| GR01 | Patent grant | ||
| C17 | Cessation of patent right | ||
| CF01 | Termination of patent right due to non-payment of annual fee |
Granted publication date: 20091028 Termination date: 20100621 |
