CN100520132C - Non-abrasion hard-sealing butterfly valve - Google Patents
Non-abrasion hard-sealing butterfly valve Download PDFInfo
- Publication number
- CN100520132C CN100520132C CNB2007101503525A CN200710150352A CN100520132C CN 100520132 C CN100520132 C CN 100520132C CN B2007101503525 A CNB2007101503525 A CN B2007101503525A CN 200710150352 A CN200710150352 A CN 200710150352A CN 100520132 C CN100520132 C CN 100520132C
- Authority
- CN
- China
- Prior art keywords
- valve
- push rod
- valve seat
- butterfly
- butterfly plate
- Prior art date
- Legal status (The legal status is an assumption and is not a legal conclusion. Google has not performed a legal analysis and makes no representation as to the accuracy of the status listed.)
- Expired - Fee Related
Links
Images
Landscapes
- Lift Valve (AREA)
Abstract
本发明涉及一种无磨损硬密封蝶阀,它包括阀体、阀杆、蝶板和阀座,其特征在于阀座为可沿阀体内壁作轴向移动的移动式阀座;阀体一侧有侧体;阀座与阀体及侧体之间均安装有密封圈;密封件紧固在蝶板架上;阀座的内、外侧面和阀体及侧体之间留有移动配合间隙,阀座外端面与侧体之间安有弹簧,内端面通过推杆与阀杆相连;侧体内端面安有弹簧;阀杆上、下端分别开有曲线槽,上、下曲线槽分别由斜槽和圆弧槽构成,阀杆中部还开有长键槽,并安有分别固连在上、下连接座上的上、下滑键,上、下连接座分别紧固在蝶板上;推杆包括上、下推杆,其一端均安装有滚子,下推杆一端镶嵌在下曲线槽里,并可滑动,另一端与移动式阀座的内端面铰接;上推杆与下推杆对称安装;蝶板转动轴线和密封副平面之间为单偏心结构。
The invention relates to a wear-free hard-sealed butterfly valve, which includes a valve body, a valve rod, a butterfly plate and a valve seat, and is characterized in that the valve seat is a movable valve seat that can move axially along the inner wall of the valve body; one side of the valve body There is a side body; a sealing ring is installed between the valve seat, the valve body and the side body; the seal is fastened on the butterfly plate frame; there is a moving fit gap between the inner and outer sides of the valve seat and the valve body and the side body , there is a spring between the outer end surface of the valve seat and the side body, and the inner end surface is connected with the valve stem through a push rod; There is a long keyway in the middle of the valve stem, and there are upper and lower keys respectively fixed on the upper and lower connecting seats, and the upper and lower connecting seats are respectively fastened on the butterfly plate; the push rod It includes upper and lower push rods, one end of which is equipped with a roller, one end of the lower push rod is embedded in the lower curved groove, and can slide, and the other end is hinged with the inner end surface of the movable valve seat; the upper push rod and the lower push rod are installed symmetrically ; There is a single eccentric structure between the disc rotation axis and the sealing plane.
Description
技术领域 technical field
本发明涉及一种阀门,特别是一种无磨损硬密封蝶阀,国际专利分类号拟为Int.Cl.F16K1/22(2006.01)。The invention relates to a valve, in particular to a wear-free hard-sealed butterfly valve. The international patent classification number is intended to be Int.Cl.F16K1/22 (2006.01).
背景技术 Background technique
现有的硬密封蝶阀通常包括阀体、阀杆、蝶板和阀座。阀座的内圆与密封件的外圆构成密封副。在阀门关闭状态下,依靠蝶板的径向压缩和正向介质的推力使密封圈发生弹性变形,实现过盈配合密封。由于结构的原因,蝶阀开启和关闭时,密封副间总存在着摩擦,使启闭阀门的力矩增大,启闭速度减慢,不可避免的频繁启闭会造成密封面的加速磨损,密封性能下降,最终导致阀门(泄漏)损坏。为此,有人研究了“一种无磨损蝶阀”(参见中国专利ZL200420010685.X),其阀体内置与蝶板相配合的阀座,在阀座的内、外端面设置有溶池,阀门启闭时,阀座在外溶池卸压、内溶池增压的作用下实现与蝶板的脱离,启闭力矩大大减小,可实现密封副之间的无摩损。但这种蝶阀仍存在以下缺点:1.与所述溶池相关的结构精度实际要求非常高,加工困难,且大幅增加了产品成本;2.所述溶池本身也需要密封,且密封效果难于保证,影响或降低其充压、卸压性能,蝶阀的密封问题没有彻底解决;3.该阀门驱动不能同时采用手动和电动形式,适用面窄,使用不方便。Existing hard seal butterfly valves generally include a valve body, a valve stem, a butterfly plate and a valve seat. The inner circle of the valve seat and the outer circle of the seal form a sealing pair. When the valve is closed, relying on the radial compression of the butterfly plate and the thrust of the positive medium, the sealing ring is elastically deformed to achieve an interference fit seal. Due to structural reasons, when the butterfly valve is opened and closed, there is always friction between the sealing pairs, which increases the torque of the opening and closing valve and slows down the opening and closing speed. The inevitable frequent opening and closing will cause accelerated wear of the sealing surface and improve the sealing performance. drop, eventually causing valve (leakage) damage. For this reason, someone has studied "a wear-free butterfly valve" (see Chinese patent ZL200420010685.X). The valve body has a built-in valve seat that matches the butterfly plate, and a melting pool is arranged on the inner and outer end faces of the valve seat. When closing, the valve seat is detached from the butterfly plate under the action of the pressure relief of the outer molten pool and the pressurization of the inner molten pool, the opening and closing torque is greatly reduced, and no friction between the sealing pairs can be realized. But this kind of butterfly valve still has the following disadvantages: 1. The structural accuracy related to the molten pool is actually very high, the processing is difficult, and the product cost is greatly increased; 2. The molten pool itself also needs to be sealed, and the sealing effect is difficult. Guarantee, affect or reduce its pressure charging and pressure relief performance, and the sealing problem of the butterfly valve has not been completely solved; 3. The valve drive cannot be driven by manual and electric modes at the same time, and the applicable area is narrow and inconvenient to use.
发明内容 Contents of the invention
针对现有技术的不足,本发明拟解决的技术问题是:设计一种无磨损硬密封蝶阀。该蝶阀的阀座可沿阀体轴向移动,密封副之间无摩擦,操作力矩低,启闭速度快,且冲击作用小,使用寿命长,驱动方式多样,同时制造工艺简单,成本低廉。Aiming at the deficiencies of the prior art, the technical problem to be solved by the present invention is to design a wear-free hard seal butterfly valve. The valve seat of the butterfly valve can move along the axial direction of the valve body, there is no friction between the sealing pairs, the operating torque is low, the opening and closing speed is fast, and the impact effect is small, the service life is long, the driving mode is diverse, and the manufacturing process is simple and the cost is low.
本发明解决所述技术问题的技术方案是:设计一种无磨损硬密封蝶阀,该蝶阀包括阀体、阀杆、蝶板和阀座,其特征在于所述的阀座为可沿阀体内壁作轴向移动的圆环状结构的移动式阀座,设置在所述阀体内,并与安装在蝶板边缘的密封件相配合构成密封副;所述阀体的一侧固装有侧体;所述移动式阀座与所述阀体及侧体之间均安装有密封圈;所述密封件使用密封件压板通过螺栓紧固在蝶板架上,密封件被夹在蝶板架和密封件压板之间,其外圆超出蝶板架的外边缘;所述阀座的内、外侧面和所述阀体及侧体之间留有移动配合间隙,并且在移动式阀座的外端面与所述侧体之间安装有弹簧,阀座的内端面通过推杆与阀杆相连;所述侧体的内端面开有弹簧孔,弹簧孔内安装有所述弹簧;所述阀杆的上、下端分别开有上曲线槽和下曲线槽,所述的上曲线槽和下曲线槽各自分别由一段斜槽和一段垂直于阀杆中心线的圆弧槽平滑连接构成,所述阀杆中部还开有长键槽,长键槽上安装有可沿其滑移的上滑键和下滑键,上滑键和下滑键分别固连在上连接座和下连接座上,上连接座和下连接座分别通过螺栓紧固在蝶板上;所述推杆包括对称设置的上推杆和下推杆,上推杆和下推杆的一端均安装有圆柱形滚子,所述下推杆安装有圆柱形滚子的一端镶嵌在所述阀杆下端的下曲线槽里,并可沿下曲线槽滑动,其另一端与所述移动式阀座的内端面铰接;所述上推杆与下推杆对称安装在所述阀杆上端的上曲线槽里,并可沿上曲线槽滑动;所述蝶板的转动轴线和密封副平面之间存在轴向偏心,为单偏心结构。The technical solution of the present invention to solve the technical problem is to design a wear-free hard-sealed butterfly valve, which includes a valve body, a valve stem, a butterfly plate and a valve seat, and is characterized in that the valve seat can move along the inner wall of the valve. A movable valve seat with an annular structure for axial movement is set in the valve body and cooperates with the seal installed on the edge of the butterfly plate to form a sealing pair; one side of the valve body is fixed with a side body ; Sealing rings are installed between the movable valve seat and the valve body and side body; Between the pressure plates of the seals, the outer circle exceeds the outer edge of the butterfly plate frame; there is a moving fit gap between the inner and outer sides of the valve seat and the valve body and side body, and the outer circle of the movable valve seat A spring is installed between the end face and the side body, and the inner end face of the valve seat is connected with the valve stem through a push rod; a spring hole is opened on the inner end face of the side body, and the spring is installed in the spring hole; the valve stem The upper and lower ends of the upper and lower ends are respectively provided with an upper curved groove and a lower curved groove. The upper curved groove and the lower curved groove are respectively composed of a section of inclined groove and a section of circular arc groove perpendicular to the center line of the valve stem. There is also a long keyway in the middle of the rod, and an upper sliding key and a lower key that can slide along it are installed on the long keyway. The upper sliding key and the lower key are fixedly connected to the upper connecting seat and the lower connecting seat respectively. The connecting seats are respectively fastened on the butterfly plate by bolts; the push rods include symmetrically arranged upper push rods and lower push rods, and cylindrical rollers are installed at one end of the upper push rods and lower push rods, and the lower push rods One end equipped with a cylindrical roller is embedded in the lower curved groove at the lower end of the valve stem, and can slide along the lower curved groove, and the other end is hinged with the inner end surface of the movable valve seat; the upper push rod and The lower push rod is symmetrically installed in the upper curved groove on the upper end of the valve stem, and can slide along the upper curved groove; there is an axial eccentricity between the rotation axis of the butterfly plate and the sealing pair plane, which is a single eccentric structure.
与现有技术相比,本发明蝶阀的有益效果是:Compared with the prior art, the beneficial effects of the butterfly valve of the present invention are:
1.效能提高。本发明蝶阀将传统的固定式阀座改进设计成为可沿阀体中心线轴向移动的移动式阀座,阀门开启时,阀杆先作直线运动,通过推杆带动阀座先与密封件脱离,然后阀杆转动,通过滑键与连接座的作用,打开蝶板。这种独特的设计避免了蝶板在转动时密封副之间产生摩擦力,并且开启蝶板时,蝶板两边的介质压力已卸掉大部分,所以启闭力矩大大减小,仅为一般蝶阀的10%左右,可使驱动装置和执行机构型号相应减少,从而降低了成本,节约了能源,同时提高了启闭速度。1. Improve performance. The butterfly valve of the present invention improves the traditional fixed valve seat into a movable valve seat that can move axially along the center line of the valve body. When the valve is opened, the valve stem moves linearly first, and the valve seat is first separated from the seal by the push rod. , and then the valve stem rotates to open the butterfly plate through the action of the feather key and the connecting seat. This unique design avoids the friction between the sealing pairs when the butterfly plate rotates, and when the butterfly plate is opened, most of the medium pressure on both sides of the butterfly plate has been removed, so the opening and closing torque is greatly reduced, which is only for ordinary butterfly valves. About 10% of the driving device and actuator models can be reduced accordingly, thereby reducing costs, saving energy, and increasing the opening and closing speed.
2.寿命延长。本发明蝶阀在开启蝶板时,由于密封面先行脱开,蝶板两边的压力差减小,所以流体介质对蝶板的开启冲击作用减小,运行噪音也减小,所以蝶阀的抗冲击疲劳破坏能力大大提高,可使阀门的使用寿命由目前的几千次提高到几十万次。2. Life extension. When the butterfly valve of the present invention opens the butterfly plate, because the sealing surface is disengaged first, the pressure difference on both sides of the butterfly plate is reduced, so the impact of the fluid medium on the opening of the butterfly plate is reduced, and the operating noise is also reduced, so the impact fatigue resistance of the butterfly valve is reduced. The destructive ability is greatly improved, which can increase the service life of the valve from the current thousands of times to hundreds of thousands of times.
3.适用性广。本发明蝶阀的驱动方式多样,可采用电动、手动、液动或气动方式驱动,使用非常方便。3. Wide applicability. The drive mode of the butterfly valve of the present invention is various, and can be driven by electric, manual, hydraulic or pneumatic modes, and is very convenient to use.
4.密封性好。本发明蝶阀阀门关闭时,阀杆通过推杆推动阀座沿蝶板中心轴线方向压向密封件,同时弹簧的弹力也辅助将密封面压紧,保证了良好的密封性能。4. Good sealing performance. When the butterfly valve of the present invention is closed, the valve stem pushes the valve seat to press against the sealing member along the central axis of the butterfly plate through the push rod, and the elastic force of the spring also assists in pressing the sealing surface to ensure good sealing performance.
附图说明 Description of drawings
图1是本发明蝶阀一种实施例的整体结构前视示意图;Fig. 1 is a schematic front view of an overall structure of an embodiment of a butterfly valve of the present invention;
图2是本发明蝶阀一种实施例图1中的A-A剖面示意图;Fig. 2 is a schematic cross-sectional view of A-A in Fig. 1 of an embodiment of the butterfly valve of the present invention;
图3是本发明蝶阀一种实施例图2中的I处局部放大示意图;Fig. 3 is a kind of embodiment of butterfly valve of the present invention Fig. 2 partial enlarged schematic diagram of I place;
图4是本发明蝶阀一种实施例图1中的B-B剖面示意图;Fig. 4 is the B-B sectional schematic diagram in Fig. 1 of a kind of embodiment of butterfly valve of the present invention;
图5是本发明蝶阀一种实施例图4中的II处局部放大示意图;Fig. 5 is a partially enlarged schematic diagram of II in Fig. 4 of an embodiment of the butterfly valve of the present invention;
图6是本发明蝶阀一种实施例图1中的阀杆结构后视示意图;Fig. 6 is a schematic rear view of the stem structure in Fig. 1 of an embodiment of the butterfly valve of the present invention;
图7是本发明蝶阀一种实施例图6中的III处局部放大示意图;Fig. 7 is an enlarged schematic diagram of part III in Fig. 6 of an embodiment of the butterfly valve of the present invention;
图8是本发明蝶阀一种实施例图6中的C-C剖面示意图。Fig. 8 is a schematic sectional view of C-C in Fig. 6 of an embodiment of the butterfly valve of the present invention.
具体实施方式 Detailed ways
下面结合实施例及其附图进一步叙述本发明,但它不限制本发明的权利要求。Further describe the present invention below in conjunction with embodiment and accompanying drawing thereof, but it does not limit the claims of the present invention.
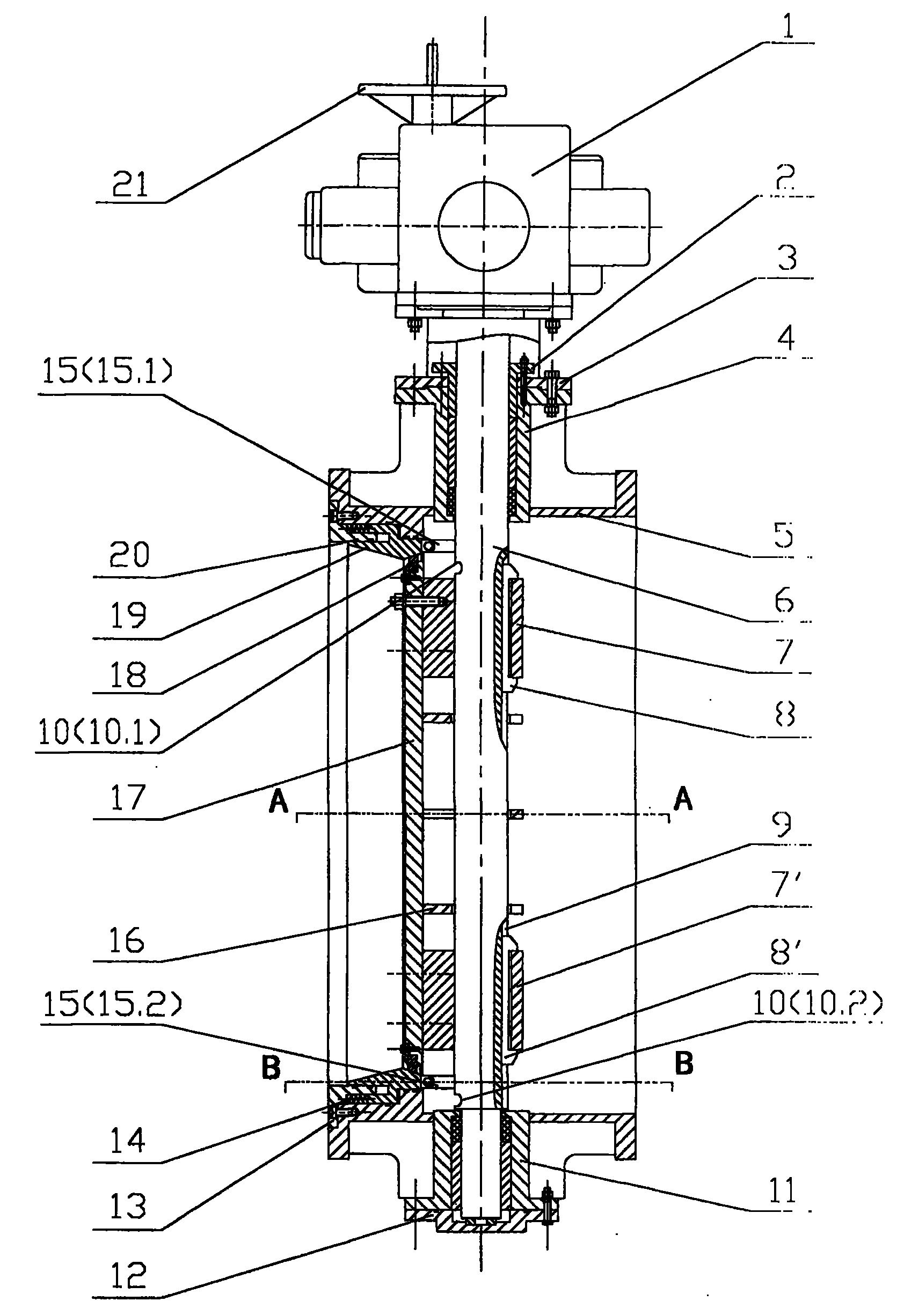
本发明设计的一种无磨损硬密封蝶阀(以下简称蝶阀,参见的图1-8)实施例包括阀体5、阀杆6、蝶板17和阀座19,其特征在于所述的阀座19为可沿阀体5内壁作轴向移动的圆环状结构的移动式阀座19,设置在所述阀体5内,轴向移动时,移动式阀座19的密封面垂直于蝶板17的中心轴线,与安装在蝶板17边缘的密封件18相配合,构成蝶阀的密封副;在所述阀体5的一侧通过螺钉紧固安装有侧体13;所述移动式阀座19与所述阀体5及侧体13之间均安装有密封圈20;所述密封件18使用密封件压板17.2通过螺栓紧固在蝶板架17.1上,可方便安装和拆卸,密封件18被夹在蝶板架17.1和密封件压板17.2之间,其外圆超出蝶板架17.1的外边缘;所述阀座19的内、外侧面和所述阀体5及侧体13之间留有移动配合间隙,并且在移动式阀座19的外端面与所述侧体13之间安装有弹簧14,阀座19的内端面通过推杆15与阀杆6相连;所述侧体13的内端面开有弹簧孔13.1,弹簧孔13.1内安装有弹簧14;所述阀杆6的上、下端分别开有曲线槽10(10.1和10.2),阀杆6上端的曲线槽称为上曲线槽(图6—8中标记为10.1),阀杆6下端的曲线槽称为下曲线槽(图6—8中标记为10.2);所述的上曲线槽10.1由一段上斜槽10.11和一段垂直于阀杆6中心线的上圆弧槽10.12平滑连接组成,下曲线槽10.2同样也由一段下斜槽10.21和一段垂直于阀杆6中心线的下圆弧槽10.22平滑连接构成,所述上圆弧槽10.12和下圆弧槽10.22的中心角度均为90度(参见图6-8);所述阀杆6中部开有长键槽9,长键槽9上安装有可沿其滑移的上滑键8和下滑键8’,上滑键8和下滑键8’分别固定连接在上连接座7和下连接座7’上,上连接座7和下连接座7’分别通过螺栓紧固在蝶板17上;所述推杆15包括对称设置的上推杆15.1和下推杆15.2,上推杆15.1和下推杆15.2的一端均安装有圆柱形滚子22,所述下推杆15.2安装有圆柱形滚子22的一端镶嵌在所述阀杆6下端的下曲线槽10.2里,并可沿下曲线槽10.2滑动(参见图4、5),其另一端与所述移动式阀座19的内端面铰接;所述上推杆15.1与下推杆15.2对称安装在所述阀杆6上端的上曲线槽10.1里,并可沿上曲线槽10.1滑动。所述蝶板17的转动轴线(即阀杆中心线)和密封副平面之间存在轴向偏心,为常规单偏心结构。The embodiment of a wear-free hard-sealed butterfly valve (hereinafter referred to as butterfly valve, see Figures 1-8) designed by the present invention includes a
本发明进一步特征是所述圆环状结构的移动式阀座19的内圆面为正圆锥面。其制造工艺简单,成本低,工作可靠。本发明在阀座19与所述阀体5及侧体13的贴合面设置有密封圈20(如图2、3所示),所述的密封圈20包括几组不同尺寸的密封圈20.1、密封圈20.2和密封圈20.3,它们能保证阀座19移动时,蝶阀具有良好的密封性能。所述密封件18实施例的外圆面采用与所述移动式阀座19内圆面锥角相同的正圆锥面。独特的移动式阀座19的结构能够实现密封面的无摩擦开闭,从而大大减小了蝶阀的启闭力矩,提高了蝶阀的使用寿命,同时提高了启闭速度。A further feature of the present invention is that the inner circular surface of the
本发明所述移动式阀座19的内、外侧面和所述阀体5的外侧面及所述侧体13的内侧面之间留有移动配合间隙,以确保在阀门打开和关闭时,密封面能完全脱开和密封(参见图2、3所示);There is a movement fit gap between the inner and outer surfaces of the
本发明所述阀体5的左右两端设有垂直于阀体5中心线的法兰,阀体5的上、下端均开有阀杆6穿过的上阀杆孔和下阀杆孔,所述蝶板17的上、下侧各设有上连接座7和下连接座7’;所述阀杆6从阀体5的上方依次穿过所述的上阀杆孔、上连接座7、下连接座7’和下阀杆孔,阀杆6与上连接座7和下连接座7’之间分别用上滑键8和下滑键8’周向固定连接;阀体5的下阀杆孔外端设有下管套11,其上固定安装有下法兰,下法兰用螺栓与封闭的下盖12连接,阀体5的上阀杆孔外端设有上管套4,其上固定安装有上法兰,上法兰上用螺栓安装有支架3,支架上3连接有驱动装置1,驱动装置1上设有手轮21(参见图1)。The left and right ends of the
本发明所述阀杆6的上部设有包围在阀杆6外侧的填料函,填料函内装有填料,并设有压在填料上的套筒和压盖2(参见图1)。The upper part of the
本发明所述蝶板17的转动轴线(即阀杆6中心线)和密封副平面(密封面与阀体5中心轴线垂直的横断面)之间存在一定距离,此距离称为轴向偏心,使得蝶阀具有单偏心结构,其目的是使所述推杆15装置具有一定的操作空间(参见图1)。There is a certain distance between the rotation axis of the
本发明所述蝶板17上设置有加强筋16,以提高强度,增加使用寿命。The
本发明蝶阀的工作原理是:阀门开启时,阀杆6在现有技术结构(参见中国专利CN00200523.9)的作用下,先向上作直线移动,推杆15沿着曲线槽10向下移动,并带动阀座19沿蝶板中心轴线方向向左平移,同时弹簧14被压缩,直至圆柱形滚子22的中心轴线与曲线槽10的圆弧槽的中心线所在平面重合为止,使得阀座19与密封件18脱开一段距离,阀体内腔的压力大大减小,然后阀杆6再作旋转运动,并通过上、下滑键8、8’与上、下连接座7、7’的作用,带动蝶板17在无摩擦的情况下旋转90度,使阀门打开。The working principle of the butterfly valve of the present invention is: when the valve is opened, the
阀门关闭时,阀杆6旋转,通过上、下滑键8、8’与上、下连接座7、7’的作用,带动蝶板17在无摩擦的情况下反向旋转90度,此时阀座19与密封件18之间存在一定距离,两者的中心轴线处于重合位置;然后阀杆6直线下移,推杆15沿着曲线槽10向上移动,并带动阀座19沿蝶板17中心轴线方向向右平移,压向密封件18,弹簧14也推动阀座19向右移,直至阀座19与密封件18被压紧,密封面完全密封,阀门关闭。When the valve is closed, the
本发明未述及之处适用于现有技术。同时借鉴现有技术产生的不同具体实施方式均为本发明的具体实施方式。What is not mentioned in the present invention is applicable to the prior art. At the same time, different specific implementation modes produced by referring to the prior art are all specific implementation modes of the present invention.
本发明蝶阀所述结构或零部件的安装位置或方向时所使用的“上”、“下”、“左”、“右”,“内”、“外”等是以所给附图的方位为依据,它们仅仅是为了表述方便,用来区分各部件或方向的相对位置,并不代表本发明蝶阀使用时的方位。"Up", "Down", "Left", "Right", "Inside" and "Outside" used in the installation position or direction of the structure or parts of the butterfly valve of the present invention are based on the orientation of the given drawings As a basis, they are only for the convenience of expression, and are used to distinguish the relative positions of various components or directions, and do not represent the orientation of the butterfly valve of the present invention when it is used.
Claims (3)
Priority Applications (1)
| Application Number | Priority Date | Filing Date | Title |
|---|---|---|---|
| CNB2007101503525A CN100520132C (en) | 2007-11-23 | 2007-11-23 | Non-abrasion hard-sealing butterfly valve |
Applications Claiming Priority (1)
| Application Number | Priority Date | Filing Date | Title |
|---|---|---|---|
| CNB2007101503525A CN100520132C (en) | 2007-11-23 | 2007-11-23 | Non-abrasion hard-sealing butterfly valve |
Publications (2)
| Publication Number | Publication Date |
|---|---|
| CN101162052A CN101162052A (en) | 2008-04-16 |
| CN100520132C true CN100520132C (en) | 2009-07-29 |
Family
ID=39297020
Family Applications (1)
| Application Number | Title | Priority Date | Filing Date |
|---|---|---|---|
| CNB2007101503525A Expired - Fee Related CN100520132C (en) | 2007-11-23 | 2007-11-23 | Non-abrasion hard-sealing butterfly valve |
Country Status (1)
| Country | Link |
|---|---|
| CN (1) | CN100520132C (en) |
Families Citing this family (12)
| Publication number | Priority date | Publication date | Assignee | Title |
|---|---|---|---|---|
| CN103994240A (en) * | 2014-05-30 | 2014-08-20 | 安徽铜都流体科技股份有限公司 | Two-way hard sealing butterfly valve with movable valve seat |
| CN105221768B (en) * | 2015-10-31 | 2017-11-07 | 河北工业大学 | A kind of double rocking lever is without friction hard-sealing butterfly valve |
| CN105240545B (en) * | 2015-10-31 | 2017-07-28 | 河北工业大学 | A kind of dual drive is without friction hard-sealing butterfly valve |
| CN105221767B (en) * | 2015-10-31 | 2017-04-05 | 河北工业大学 | A kind of Zero-friction hard-sealing butterfly valve |
| CN105221766B (en) * | 2015-11-09 | 2017-06-23 | 宁波一机阀门制造有限公司 | A kind of butterfly valve with hydraulic sealing structure |
| JP6490002B2 (en) * | 2015-12-25 | 2019-03-27 | 愛三工業株式会社 | Eccentric valve |
| CN106246935B (en) * | 2016-10-25 | 2018-05-25 | 河北工业大学 | A kind of intermittent hard-sealing zero friction butterfly valve |
| CN109058480A (en) * | 2018-09-19 | 2018-12-21 | 浙江中德自控科技股份有限公司 | A kind of high temperature butterfly valve of good airproof performance |
| CN112483663B (en) * | 2020-11-19 | 2023-05-16 | 天津市中核科技实业有限公司 | Butterfly valve |
| CN114526341B (en) * | 2022-01-21 | 2024-05-28 | 中鸿阀门股份有限公司 | Double-sealing auxiliary single eccentric butterfly valve |
| CN114593215B (en) * | 2022-04-02 | 2024-07-23 | 嘉善永金金属制品有限公司 | High-performance stainless steel butterfly valve box casting |
| CN118959610A (en) * | 2024-10-15 | 2024-11-15 | 成都中科唯实仪器有限责任公司 | A low friction butterfly valve |
-
2007
- 2007-11-23 CN CNB2007101503525A patent/CN100520132C/en not_active Expired - Fee Related
Also Published As
| Publication number | Publication date |
|---|---|
| CN101162052A (en) | 2008-04-16 |
Similar Documents
| Publication | Publication Date | Title |
|---|---|---|
| CN100520132C (en) | Non-abrasion hard-sealing butterfly valve | |
| CN101382199B (en) | A zero friction hard seal butterfly valve | |
| CN106678378B (en) | A kind of intermittent driving non-abrasion hard-sealing butterfly valve | |
| CN105351550B (en) | A kind of hard seal gate valve of double flat plate | |
| CN110159785A (en) | A kind of improved ball valve | |
| CN115727143B (en) | A high temperature and high pressure self-sealing gate valve | |
| CN115507194A (en) | Parallel wedge double disc gate valve | |
| CN205315751U (en) | Hard sealing gate valve of two flat boards | |
| CN105221767B (en) | A kind of Zero-friction hard-sealing butterfly valve | |
| CN105240545B (en) | A kind of dual drive is without friction hard-sealing butterfly valve | |
| CN201250910Y (en) | Zero friction hard seal butterfly valve | |
| CN109826970B (en) | Hidden rod flat valve without flange and bolt connection valve cover structure | |
| CN112096891A (en) | Flange formula copper gate valve convenient to adjust | |
| CN104864106A (en) | Metal hard sealing butterfly valve with moving valve seat | |
| CN103511656B (en) | Segmentation valve rod type friction-free ball valve | |
| CN101949456A (en) | Expansion flat gate valve | |
| CN201162834Y (en) | Non-abrasion hard-sealing butterfly valve | |
| CN217539675U (en) | Magnetic transmission parallel double-gate-plate gate valve capable of reducing gate plate abrasion | |
| CN106321867A (en) | Multilayerbidirectional hard sealing butterfly valve | |
| CN202252163U (en) | High-pressure check valve | |
| CN111536253A (en) | Ball valve with long service life | |
| CN106286865B (en) | A kind of three rod-type butterfly valves | |
| CN206130130U (en) | Three -pole type butterfly valve | |
| CN109812592B (en) | High-performance steel gate valve | |
| CN210714595U (en) | An electronically controlled magnetic coupling downhole safety valve |
Legal Events
| Date | Code | Title | Description |
|---|---|---|---|
| C06 | Publication | ||
| PB01 | Publication | ||
| C10 | Entry into substantive examination | ||
| SE01 | Entry into force of request for substantive examination | ||
| C14 | Grant of patent or utility model | ||
| GR01 | Patent grant | ||
| CF01 | Termination of patent right due to non-payment of annual fee |
Granted publication date: 20090729 Termination date: 20171123 |
|
| CF01 | Termination of patent right due to non-payment of annual fee |
