CN100474577C - Substrate and electrical testing method thereof - Google Patents

Substrate and electrical testing method thereof Download PDF

Info

Publication number
CN100474577C
CN100474577C CNB2006100029166A CN200610002916A CN100474577C CN 100474577 C CN100474577 C CN 100474577C CN B2006100029166 A CNB2006100029166 A CN B2006100029166A CN 200610002916 A CN200610002916 A CN 200610002916A CN 100474577 C CN100474577 C CN 100474577C
Authority
CN
China
Prior art keywords
test
substrate
conductive material
probe
pads
Prior art date
Legal status (The legal status is an assumption and is not a legal conclusion. Google has not performed a legal analysis and makes no representation as to the accuracy of the status listed.)
Expired - Lifetime
Application number
CNB2006100029166A
Other languages
Chinese (zh)
Other versions
CN101009268A (en
Inventor
张志忠
Current Assignee (The listed assignees may be inaccurate. Google has not performed a legal analysis and makes no representation or warranty as to the accuracy of the list.)
Advanced Semiconductor Engineering Inc
Original Assignee
Advanced Semiconductor Engineering Inc
Priority date (The priority date is an assumption and is not a legal conclusion. Google has not performed a legal analysis and makes no representation as to the accuracy of the date listed.)
Filing date
Publication date
Application filed by Advanced Semiconductor Engineering Inc filed Critical Advanced Semiconductor Engineering Inc
Priority to CNB2006100029166A priority Critical patent/CN100474577C/en
Publication of CN101009268A publication Critical patent/CN101009268A/en
Application granted granted Critical
Publication of CN100474577C publication Critical patent/CN100474577C/en
Anticipated expiration legal-status Critical
Expired - Lifetime legal-status Critical Current

Links

Images

Classifications

    • H10W70/655

Landscapes

  • Measurement Of Resistance Or Impedance (AREA)

Abstract

The invention relates to a substrate and an electrical measurement method thereof. The substrate electrical measurement method comprises the following steps: providing a substrate, wherein the substrate is provided with a first surface and a second surface, the first surface is provided with a plurality of first test pads, and the second surface is provided with a plurality of second test pads; forming a conductive material on the first surface to electrically connect at least two first test pads; the substrate is tested by a test fixture, which has at least one first test probe and a plurality of second test probes. Therefore, the first test probe and the second test probe can easily measure the substrate, and the test flow can be simplified and the test time can be saved.

Description

基板及其电测方法 Substrate and its electrical measurement method

技术领域 technical field

本发明涉及一种基板及其电测方法,特别是涉及一种将基板的测试垫电性导通的基板结构及其电测方法。The invention relates to a substrate and an electrical measurement method thereof, in particular to a substrate structure and an electrical measurement method for electrically conducting test pads of the substrate.

背景技术 Background technique

请参考图1,其为现有的基板电测方法的示意图。首先,提供一基板10,该基板10具有一第一表面101及一第二表面102,该第一表面101具有多个第一测试垫103,该第二表面102具有多个第二测试垫104。第一测试垫103及第二测试垫104电连接形成多个电路105。接着,以一测试夹具11测试该基板10,该测试夹具11具有一第一测试探针12及多个第二测试探针13。该第一测试探针12具有两个测试探针121、122。每一第二测试探针13具有两个测试探针131、132。该第一测试探针12与该第一测试垫103电连接,每一第二测试探针13与每一第二测试垫104电连接。Please refer to FIG. 1 , which is a schematic diagram of a conventional electrical measurement method for a substrate. First, a substrate 10 is provided, the substrate 10 has a first surface 101 and a second surface 102, the first surface 101 has a plurality of first test pads 103, and the second surface 102 has a plurality of second test pads 104 . The first test pad 103 and the second test pad 104 are electrically connected to form a plurality of circuits 105 . Then, test the substrate 10 with a test fixture 11 , the test fixture 11 has a first test probe 12 and a plurality of second test probes 13 . The first test probe 12 has two test probes 121 , 122 . Each second test probe 13 has two test probes 131 , 132 . The first test probe 12 is electrically connected to the first test pad 103 , and each second test probe 13 is electrically connected to each second test pad 104 .

由于现有的基板电测方法必须对该第一表面101的第一测试垫103逐一地作测试,且该第一测试探针12的测试探针121、122必须在同一个第一测试垫103上,而该第一测试垫103尺寸极小,故该第一测试探针12的测试探针121、122不容易置于同一第一测试垫103上,因此,会产生漏测的问题,且必须耗费大测量试时间。Because the existing substrate electrical testing method must test the first test pads 103 on the first surface 101 one by one, and the test probes 121 and 122 of the first test probe 12 must be on the same first test pad 103 However, the size of the first test pad 103 is very small, so the test probes 121 and 122 of the first test probe 12 are not easy to be placed on the same first test pad 103, therefore, the problem of missed testing will occur, and A large amount of test time must be consumed.

因此,有必要提供一种基板及其电测方法,以解决上述问题。Therefore, it is necessary to provide a substrate and an electrical testing method thereof to solve the above problems.

发明内容 Contents of the invention

本发明的目的在于提供一种基板电测方法,该基板电测方法包括:(a)提供一基板,该基板具有一第一表面及一第二表面,该第一表面具有多个第一测试垫,该第二表面具有多个第二测试垫;(b)形成一导电材料于该第一表面上,以电连接至少两个第一测试垫;(c)以一测试夹具测试该基板,该测试夹具具有至少一第一测试探针及多个第二测试探针。The purpose of the present invention is to provide a substrate electrical testing method, the substrate electrical testing method includes: (a) providing a substrate, the substrate has a first surface and a second surface, the first surface has a plurality of first test Pad, the second surface has a plurality of second test pads; (b) forming a conductive material on the first surface to electrically connect at least two first test pads; (c) testing the substrate with a test fixture, The test fixture has at least one first test probe and a plurality of second test probes.

本发明的另一目的在于提供一种基板,该基板具有一第一表面、一第二表面及一导电材料。该第一表面具有多个第一测试垫。该第二表面具有多个第二测试垫,该第一测试垫及该第二测试垫电连接形成多个电路。该导电材料形成于该第一表面上,以电连接至少两个第一测试垫。Another object of the present invention is to provide a substrate having a first surface, a second surface and a conductive material. The first surface has a plurality of first test pads. The second surface has a plurality of second test pads, and the first test pads and the second test pads are electrically connected to form a plurality of circuits. The conductive material is formed on the first surface to electrically connect at least two first test pads.

本发明所提供的基板及基板电测方法是利用该导电材料于该第一表面上导通该第一测试垫,使该第一测试探针及第二测试探针可容易地测量该基板的电气特性,并可以简化测试流程及节省测试时间,且可判断该基板是否良好。The substrate and the electrical testing method of the substrate provided by the present invention are to use the conductive material to conduct the first test pad on the first surface, so that the first test probe and the second test probe can easily measure the substrate. Electrical characteristics, and can simplify the test process and save test time, and can determine whether the substrate is good or not.

附图说明 Description of drawings

图1为现有的基板电测方法的示意图;FIG. 1 is a schematic diagram of an existing electrical measurement method for a substrate;

图2至图4为本发明基板电测方法的第一实施例的示意图;2 to 4 are schematic diagrams of the first embodiment of the method for electrical measurement of the substrate of the present invention;

图5为本发明基板电测方法的第二实施例的示意图;5 is a schematic diagram of a second embodiment of the substrate electrical measurement method of the present invention;

图6为本发明的基板的第一实施例的示意图;6 is a schematic diagram of a first embodiment of the substrate of the present invention;

图7A为本发明的基板的第二实施例的侧视图;7A is a side view of a second embodiment of the substrate of the present invention;

图7B为本发明的基板的第二实施例的俯视图;7B is a top view of a second embodiment of the substrate of the present invention;

图8为本发明的基板的第三实施例的示意图。FIG. 8 is a schematic diagram of a third embodiment of the substrate of the present invention.

其中,附图标记:Among them, reference signs:

10   现有的基板        101  第一表面10 existing substrate 101 first surface

102  第二表面          103  第一测试垫102 second surface 103 first test pad

104  第二测试垫        105  电路104 Second test pad 105 Circuit

11   测试夹具          12   第一测试探针11 Test Fixture 12 First Test Probe

121  探针              122  探针121 Probe 122 Probe

13   第二测试探针      131  探针13 second test probe 131 probe

132  探针              20   本发明的基板132 Probes 20 Substrate of the present invention

201  第一表面          202  第二表面201 first surface 202 second surface

203  第一测试垫        204  第二测试垫203 First Test Pad 204 Second Test Pad

205  电路              21   导电材料205 Circuits 21 Conductive materials

22   测试夹具          23   第一测试探针22 Test fixture 23 First test probe

231  探针              232  探针231 Probe 232 Probe

24   第二测试探针      241  探针24 second test probe 241 probe

242  探针           30   本发明的基板242 Probes 30 Substrate of the present invention

301  第一表面       303  第一测试垫301 first surface 303 first test pad

304  第二测试垫     31   导电材料304 Second test pad 31 Conductive material

40   本发明的基板   401  第一表面40 substrate of the present invention 401 first surface

403  第一测试垫     404  第二测试垫403 First Test Pad 404 Second Test Pad

405  电路           41   导电材料405 Circuit 41 Conductive material

50   本发明的基板   501  第一表面50 substrate of the present invention 501 first surface

503  第一测试垫     51   导电材料503 first test pad 51 conductive material

60   本发明的基板   601  第一表面60 substrate of the present invention 601 first surface

603  第一测试垫     61   导电材料603 first test pad 61 conductive material

具体实施方式 Detailed ways

请参考图2至图4,其为本发明的基板电测方法的第一实施例的示意图。如图2所示,首先,提供一基板20,该基板20具有一第一表面201及一第二表面202。该第一表面201具有多个第一测试垫203,该第二表面202具有多个第二测试垫204。该第一测试垫203及该第二测试垫204电连接形成多个电路205。如图3所示,以一导电材料21于该第一表面201导通两个第一测试垫203。该导电材料是以导线形式电连接至少两个第一测试垫203。Please refer to FIG. 2 to FIG. 4 , which are schematic diagrams of a first embodiment of the substrate electrical testing method of the present invention. As shown in FIG. 2 , firstly, a substrate 20 is provided, and the substrate 20 has a first surface 201 and a second surface 202 . The first surface 201 has a plurality of first test pads 203 , and the second surface 202 has a plurality of second test pads 204 . The first test pad 203 and the second test pad 204 are electrically connected to form a plurality of circuits 205 . As shown in FIG. 3 , two first test pads 203 are connected on the first surface 201 with a conductive material 21 . The conductive material is electrically connected to at least two first test pads 203 in the form of wires.

如图4所示,以一测试夹具22测试基板20,该测试夹具22具有至少一个第一测试探针23及多个第二测试探针24。该第一测试探针23具有两个测试探针231、232。每一第二测试探针24具有两个测试探针241、242。该第一测试探针23与该第一测试垫203电连接,该第二测试探针24与该第二测试垫204电连接,以测量该基板20的电气特性。在本实施例中,该第一测试探针23的两个测试探针231、232的间距须依照两个第一测试垫203的间距而调整。As shown in FIG. 4 , a test fixture 22 is used to test the substrate 20 , and the test fixture 22 has at least one first test probe 23 and a plurality of second test probes 24 . The first test probe 23 has two test probes 231 , 232 . Each second test probe 24 has two test probes 241 , 242 . The first test probe 23 is electrically connected to the first test pad 203 , and the second test probe 24 is electrically connected to the second test pad 204 to measure the electrical characteristics of the substrate 20 . In this embodiment, the distance between the two test probes 231 and 232 of the first test probe 23 must be adjusted according to the distance between the two first test pads 203 .

本发明第一实施例的基板电测方法是利用该导电材料21于该第一表面201上导通该第一测试垫203,使该第一测试探针23的测试探针231、232更容易与该第一测试垫203电连接,以及更容易测量该基板20的电气特性,并可以简化测试流程及节省测试时间,且可判断该基板20是否良好。The substrate electrical test method of the first embodiment of the present invention is to use the conductive material 21 to conduct the first test pad 203 on the first surface 201, so that the test probes 231 and 232 of the first test probe 23 are more easily It is electrically connected with the first test pad 203 , and it is easier to measure the electrical characteristics of the substrate 20 , which can simplify the test process and save test time, and can determine whether the substrate 20 is good or not.

请参考图5,其为本发明的基板电测方法的第二实施例的示意图。该第二实施例的基板电测方法与上述第一实施例的基板电测方法,不同之处在于该导电材料31是以电镀方式于该第一表面301完全覆盖该第一测试垫303。该第一测试探针23可与任一部位的该导电材料31电连接,且该第二测试探针24是与该第二测试垫304电连接,以测量该基板30的电气特性。Please refer to FIG. 5 , which is a schematic diagram of a second embodiment of the substrate electrical testing method of the present invention. The substrate electrical testing method of the second embodiment is different from the substrate electrical testing method of the first embodiment above in that the conductive material 31 completely covers the first test pad 303 on the first surface 301 by electroplating. The first test probe 23 can be electrically connected to any part of the conductive material 31 , and the second test probe 24 is electrically connected to the second test pad 304 to measure the electrical characteristics of the substrate 30 .

本发明第二实施例的基板电测方法,该导电材料31是利用电镀方式形成于该第一表面301上,覆盖所有该第一测试垫303,用以电连接该第一测试垫303,使该第一测试探针23的测试探针231、232,能于导电材料31上任一位置测量该基板30的电气特性,并可以简化测试流程及节省测试时间,且可判断该基板30是否良好。In the substrate electrical testing method according to the second embodiment of the present invention, the conductive material 31 is formed on the first surface 301 by electroplating, covering all the first test pads 303, and is used to electrically connect the first test pads 303, so that The test probes 231 and 232 of the first test probe 23 can measure the electrical characteristics of the substrate 30 at any position on the conductive material 31 , simplify the test process and save test time, and can determine whether the substrate 30 is good or not.

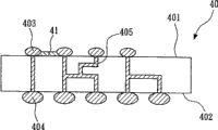
请参考图6,其为本发明的基板的第一实施例的示意图。该基板40具有一第一表面401及一第二表面402,该第一表面401具有多个第一测试垫403,该第二表面402具有多个第二测试垫404,该第一测试垫403及该第二测试垫404电连接形成多个电路405。以一导电材料41于该第一表面401上导通两个第一测试垫403,该导电材料41为银胶。该导电材料41是以导线形式电连接至少两个第一测试垫403。在其它的应用中,也可借助两个第一测试垫403的导通,用以电连接该基板40的电路405。Please refer to FIG. 6 , which is a schematic diagram of a first embodiment of the substrate of the present invention. The substrate 40 has a first surface 401 and a second surface 402, the first surface 401 has a plurality of first test pads 403, the second surface 402 has a plurality of second test pads 404, the first test pads 403 and the second test pad 404 are electrically connected to form a plurality of circuits 405 . Two first test pads 403 are connected on the first surface 401 with a conductive material 41 , and the conductive material 41 is silver glue. The conductive material 41 is electrically connected to at least two first test pads 403 in the form of wires. In other applications, the conduction of the two first test pads 403 can also be used to electrically connect the circuit 405 of the substrate 40 .

该基板40是利用该导电材料41于该第一表面401上导通两个第一测试垫403,使测试夹具可容易地测量该基板40的电气特性,并可以简化测试流程及节省测试时间,以判断该基板40是否良好。The substrate 40 uses the conductive material 41 to conduct two first test pads 403 on the first surface 401, so that the test fixture can easily measure the electrical characteristics of the substrate 40, and can simplify the test process and save test time. To judge whether the substrate 40 is good or not.

请参考图7A及图7B,其为本发明的基板的第二实施例的示意图。该第二实施例的基板50与上述第一实施例的基板40的结构,不同之处在于该第二实施例中是利用一导电材料51于该第一表面501上导通所有第一测试垫503。Please refer to FIG. 7A and FIG. 7B , which are schematic diagrams of a second embodiment of the substrate of the present invention. The difference between the structure of the substrate 50 of the second embodiment and the substrate 40 of the first embodiment is that in the second embodiment, a conductive material 51 is used to connect all the first test pads on the first surface 501. 503.

该基板50是利用该导电材料51于该第一表面501上导通所有该第一测试垫503,以形成一测试面,使测试夹具经由该测试面更容易地测量该基板50的电气特性,并可以简化测试流程及节省测试时间,以判断该基板60是否良好。The substrate 50 uses the conductive material 51 to conduct all the first test pads 503 on the first surface 501 to form a test surface, so that the test fixture can measure the electrical characteristics of the substrate 50 more easily through the test surface, And it can simplify the testing process and save testing time to judge whether the substrate 60 is good or not.

请参考图8,其为本发明的基板的第三实施例的示意图。该第三实施例的基板60与上述第一实施例的基板40的结构,不同之处在于该实施例中是利用一导电材料61以电镀方式于该第一表面601完全覆盖该第一测试垫603,该导电材料61为铜。Please refer to FIG. 8 , which is a schematic diagram of a third embodiment of the substrate of the present invention. The difference between the structure of the substrate 60 of the third embodiment and the substrate 40 of the first embodiment is that in this embodiment, a conductive material 61 is used to completely cover the first test pad on the first surface 601 by electroplating. 603. The conductive material 61 is copper.

该基板60是利用该导电材料61于该第一表面601上覆盖该第一测试垫603,以形成一测试面,使测试夹具经由该测试面更容易地测量该基板60的电气特性,并可以简化测试流程及节省测试时间,以判断该基板60是否良好。The substrate 60 uses the conductive material 61 to cover the first test pad 603 on the first surface 601 to form a test surface, so that the test fixture can measure the electrical characteristics of the substrate 60 more easily through the test surface, and can Simplify the testing process and save testing time to judge whether the substrate 60 is good or not.

以上所述仅为本发明其中的较佳实施例而已,并非用来限定本发明的实施范围;即凡依本发明权利要求所作的均等变化与修饰,皆为本发明专利范围所涵盖。The above descriptions are only preferred embodiments of the present invention, and are not intended to limit the implementation scope of the present invention; that is, all equivalent changes and modifications made according to the claims of the present invention are covered by the patent scope of the present invention.

Claims (10)

1、一种基板,其特征在于,该基板包括:1. A substrate, characterized in that the substrate comprises: 一第一表面,该第一表面具有多个第一测试垫;a first surface having a plurality of first test pads; 一第二表面,该第二表面具有多个第二测试垫,该第一测试垫及该第二测试垫电连接形成多个电路;以及A second surface, the second surface has a plurality of second test pads, the first test pads and the second test pads are electrically connected to form a plurality of circuits; and 一导电材料,其形成于该第一表面上,以电连接至少两个第一测试垫。A conductive material is formed on the first surface to electrically connect at least two first test pads. 2、如权利要求1所述的基板,其特征在于,该导电材料是以导线形式电连接至少两个第一测试垫。2. The substrate according to claim 1, wherein the conductive material is electrically connected to at least two first test pads in the form of wires. 3、如权利要求1所述的基板,其特征在于,该导电材料覆盖所有第一测试垫。3. The substrate of claim 1, wherein the conductive material covers all of the first test pads. 4、一种基板电测方法,其特征在于,该方法包括以下步骤:4. A substrate electrical measurement method, characterized in that the method comprises the following steps: (a)提供一基板,该基板具有一第一表面及一第二表面,该第一表面具有多个第一测试垫,该第二表面具有多个第二测试垫;(a) providing a substrate, the substrate has a first surface and a second surface, the first surface has a plurality of first test pads, and the second surface has a plurality of second test pads; (b)形成一导电材料于该第一表面上,以电连接至少两个第一测试垫;以及(b) forming a conductive material on the first surface to electrically connect at least two first test pads; and (c)以一测试夹具测试该基板,该测试夹具具有至少一第一测试探针及多个第二测试探针。(c) testing the substrate with a test fixture, the test fixture has at least one first test probe and a plurality of second test probes. 5、如权利要求4所述的电测方法,其特征在于,该第一测试探针或该第二测试探针或该第一测试探针与该第二测试探针两者是具有两个测试探针。5. The electrical measurement method according to claim 4, wherein the first test probe or the second test probe or both the first test probe and the second test probe have two Test probe. 6、如权利要求4所述的电测方法,其特征在于,在步骤(b)中该导电材料是以导线形式电连接至少两个第一测试垫。6. The electrical measurement method according to claim 4, wherein in step (b), the conductive material is in the form of a wire to electrically connect at least two first test pads. 7、如权利要求6所述的电测方法,其特征在于,在步骤(c)中该第一测试探针是与该第一测试垫电连接,该第二测试探针是与该第二测试垫电连接。7. The electrical testing method according to claim 6, wherein in step (c), the first test probe is electrically connected to the first test pad, and the second test probe is connected to the second The test pads are electrically connected. 8、如权利要求4所述的电测方法,其特征在于,在步骤(b)中是以该导电材料于该第一表面覆盖该第一测试垫。8. The electrical measurement method as claimed in claim 4, wherein in step (b), the first test pad is covered with the conductive material on the first surface. 9、如权利要求8所述的电测方法,其特征在于,该导电材料是以电镀方式形成于该第一表面。9. The electrical measurement method as claimed in claim 8, wherein the conductive material is formed on the first surface by electroplating. 10、如权利要求8所述的电测方法,其特征在于,在步骤(c)中该第一测试探针是与该导电材料电连接,该第二测试探针是与该第二测试垫电连接。10. The electrical measurement method according to claim 8, wherein in step (c), the first test probe is electrically connected to the conductive material, and the second test probe is connected to the second test pad electrical connection.
CNB2006100029166A 2006-01-27 2006-01-27 Substrate and electrical testing method thereof Expired - Lifetime CN100474577C (en)

Priority Applications (1)

Application Number Priority Date Filing Date Title
CNB2006100029166A CN100474577C (en) 2006-01-27 2006-01-27 Substrate and electrical testing method thereof

Applications Claiming Priority (1)

Application Number Priority Date Filing Date Title
CNB2006100029166A CN100474577C (en) 2006-01-27 2006-01-27 Substrate and electrical testing method thereof

Publications (2)

Publication Number Publication Date
CN101009268A CN101009268A (en) 2007-08-01
CN100474577C true CN100474577C (en) 2009-04-01

Family

ID=38697575

Family Applications (1)

Application Number Title Priority Date Filing Date
CNB2006100029166A Expired - Lifetime CN100474577C (en) 2006-01-27 2006-01-27 Substrate and electrical testing method thereof

Country Status (1)

Country Link
CN (1) CN100474577C (en)

Families Citing this family (6)

* Cited by examiner, † Cited by third party
Publication number Priority date Publication date Assignee Title
CN101499458B (en) * 2008-02-02 2011-07-20 中芯国际集成电路制造(上海)有限公司 Test structure and method for detecting disc trap and corrosion caused by CMP
CN102472792B (en) * 2010-05-19 2014-11-12 松下电器产业株式会社 Ic current measurement device and ic current measurement adapter
TWI455222B (en) * 2011-08-25 2014-10-01 南茂科技股份有限公司 Semiconductor component stack structure test method
TWI593970B (en) * 2016-07-25 2017-08-01 日月光半導體製造股份有限公司 Testing device
DE102016114142A1 (en) * 2016-08-01 2018-02-01 Endress+Hauser Flowtec Ag Printed circuit board with contacting arrangement
KR102840537B1 (en) * 2022-05-03 2025-07-31 주식회사 나노엑스 Probe-head for electrical device inspection and manufacturing method thereof

Also Published As

Publication number Publication date
CN101009268A (en) 2007-08-01

Similar Documents

Publication Publication Date Title
US9030216B2 (en) Coaxial four-point probe for low resistance measurements
TW201435348A (en) Probe card, probe structure and method for manufacturing the same
JP2012198189A5 (en) Wiring board for electronic component inspection apparatus and manufacturing method thereof
TW201825920A (en) Vertical ultra-low leakage current probe card for dc parameter test
CN110398657A (en) Measured value needle and measuring mechanism
CN100474577C (en) Substrate and electrical testing method thereof
KR102195561B1 (en) Electrical connection device
CN106206338A (en) Printed circuit board (PCB) and method of testing thereof and the method manufacturing semiconductor packages
JP4847907B2 (en) Semiconductor inspection equipment
WO2007133467A3 (en) Air bridge structures and methods of making and using air bridge structures
CN109786265B (en) A packaged device, preparation method and signal measurement method
JP2010025765A (en) Contact structure for inspection
JP2012018116A (en) Probe unit for circuit board checkup and circuit board checkup device
US7523369B2 (en) Substrate and testing method thereof
CN103985701A (en) Package substrate and detection method thereof
CN201069462Y (en) Measuring device for circuit board
JPH0829475A (en) Contact probe of mounted substrate inspection device
JP2013161553A (en) Conductive sheet and substrate inspecting device
JP6259254B2 (en) Inspection apparatus and inspection method
JP2004259750A (en) Wiring board, connection wiring board and its inspection method, electronic device and its manufacturing method, electronic module and electronic equipment
TWI274165B (en) Probe card interposer
CN102386144A (en) Chip
CN201352221Y (en) Array type lug for detection
CN101285863A (en) Method and device for measuring circuit substrate
JP2002311048A (en) Guide for probe card, probe card equipped with the same, and method of inspecting electronic circuit device

Legal Events

Date Code Title Description
C06 Publication
PB01 Publication
C10 Entry into substantive examination
SE01 Entry into force of request for substantive examination
C14 Grant of patent or utility model
GR01 Patent grant
CX01 Expiry of patent term

Granted publication date: 20090401