CN100440273C - binocular recording system - Google Patents
binocular recording system Download PDFInfo
- Publication number
- CN100440273C CN100440273C CNB2005100350379A CN200510035037A CN100440273C CN 100440273 C CN100440273 C CN 100440273C CN B2005100350379 A CNB2005100350379 A CN B2005100350379A CN 200510035037 A CN200510035037 A CN 200510035037A CN 100440273 C CN100440273 C CN 100440273C
- Authority
- CN
- China
- Prior art keywords
- cylinder
- winding shaft
- paper
- reel
- spindle nose
- Prior art date
- Legal status (The legal status is an assumption and is not a legal conclusion. Google has not performed a legal analysis and makes no representation as to the accuracy of the status listed.)
- Expired - Fee Related
Links
- 238000004804 winding Methods 0.000 claims description 16
- 238000004519 manufacturing process Methods 0.000 abstract description 5
- 238000000034 method Methods 0.000 description 2
- 239000011324 bead Substances 0.000 description 1
- 230000009286 beneficial effect Effects 0.000 description 1
- 238000010586 diagram Methods 0.000 description 1
- 230000000694 effects Effects 0.000 description 1
- 238000009434 installation Methods 0.000 description 1
- 230000007774 longterm Effects 0.000 description 1
Images
Landscapes
- Time Recorders, Dirve Recorders, Access Control (AREA)
Abstract
本发明涉及一种双筒式记录系统,包括上圆筒、下圆筒和表格纸,所述上圆筒设有进纸口并内装有上卷轴,该上圆筒设有底座,该底座与上圆筒一体化连接,下圆筒设有出纸口并内装有下卷轴,表格纸穿过出纸口和进纸口,表格纸两端分别与上卷轴、下卷轴连接。采取上圆筒和下圆筒的结构,能够将数十米长的表格纸卷装起来,而且通过操作拉绳,从而使表格纸上、下移动,随时改变展示版面的大小,方便查看以前的中奖号码,纸张有数十米长,能够记录足够多的信息,具有结构简单,制造成本低,查看、更换和携带方便的优点。
The invention relates to a double-tube recording system, which includes an upper cylinder, a lower cylinder and form paper, the upper cylinder is provided with a paper inlet and an upper reel is installed inside, the upper cylinder is provided with a base, and the base and The upper cylinder is integrally connected, the lower cylinder is provided with a paper outlet and a lower reel is installed inside, the form paper passes through the paper outlet and paper inlet, and the two ends of the form paper are respectively connected with the upper reel and the lower reel. The structure of the upper cylinder and the lower cylinder can be used to pack the form paper rolls of tens of meters long, and the form paper can be moved up and down by operating the pull rope, and the size of the display page can be changed at any time, so that it is convenient to view the previous ones. The winning number is tens of meters long, and can record enough information. It has the advantages of simple structure, low manufacturing cost, and convenient viewing, replacement and portability.
Description
【技术领域】【Technical field】
本发明涉及一种记录系统,尤其是涉及一种采用上圆筒、下圆筒和表格纸结构的彩票中奖号码双筒式记录系统。The invention relates to a recording system, in particular to a double-cylinder type recording system for lottery winning numbers which adopts the structure of an upper cylinder, a lower cylinder and form paper.
【背景技术】【Background technique】
近年来,彩票活动在我国蓬勃发展,特别是电脑福利型彩票和体育彩票的销售,为国家筹集了大量的福利及体育基金,对“扶老、助残、救孤、济困”及发展体育基础设施,提高全民健身运动,作出了很大的贡献,体育和福利彩票已深入千家万户。虽然彩票的出号完全是随机的,但是从概率统计学上说,其仍有一定的规律性,只要善于总结,并利用科学方法进行分析,就能提高中奖的机会。In recent years, lottery activities have flourished in my country, especially the sales of computer welfare lottery tickets and sports lottery tickets, which have raised a large amount of welfare and sports funds for the country, and played a vital role in "supporting the elderly, helping the disabled, helping orphans, and helping the poor" and developing sports foundations. Facilities have made great contributions to improving the national fitness campaign, and sports and welfare lotteries have penetrated into thousands of households. Although the lottery numbers are completely random, there is still a certain regularity in terms of probability and statistics. As long as you are good at summarizing and analyzing with scientific methods, you can improve your chances of winning.
通常彩民购彩票选号时,绝大部分人是依据购票网点提供的历史记录数据进行分析后,来选择自己新的投注号码,各投注站为了提供以往的中奖号码,经常是采用一张大纸,在大纸上打上表格,将中奖号码填在表格中,并将大纸张贴在墙上,由于受场地和纸张的限制,往往不能充分地展示全部的中奖号码,不利于彩民选号,同时纸张需要经常更换,非常不便。针对上述情形,人们研究出了许多彩票中奖号码统计、分析及展示装置,如广东省韶关市的黄武昌针对彩票中奖号码的记录装置进行了长期深入研究和实践,申请了一种名称为“彩票中奖号码记录装置”,其专利申请号为200420088358.6,该专利采用上轴盒、下轴盒和表格纸的结构,成功地解决了上述问题,但该专利存在结构复杂、制造成本高的问题。Usually, when lottery players buy lottery tickets and select numbers, most people choose their new betting numbers after analyzing the historical data provided by the ticketing outlets. In order to provide past winning numbers, each betting station often uses a large piece of paper. Type the form on the large paper, fill in the winning numbers in the form, and stick the large paper on the wall. Due to the limitation of the venue and paper, it is often not possible to fully display all the winning numbers, which is not conducive to lottery selection. At the same time, the paper needs Frequent replacement is very inconvenient. In response to the above situation, many lottery winning number statistics, analysis and display devices have been developed. For example, Huang Wuchang of Shaoguan City, Guangdong Province has carried out long-term in-depth research and practice on the recording device of lottery winning numbers, and applied for a device called "Lottery Lottery". Winning number recording device ", its patent application number is 200420088358.6, this patent adopts the structure of upper axle box, lower axle box and form paper, has solved the above-mentioned problem successfully, but there is the problem of complex structure, high manufacturing cost in this patent.
【发明内容】【Content of invention】
为了克服现有彩票中奖号码记录装置存在结构复杂、制造成本高的缺点,本发明提供一种双筒式记录系统。In order to overcome the disadvantages of complex structure and high manufacturing cost in existing lottery winning number recording devices, the present invention provides a dual-tube recording system.
本发明解决其技术问题所采用的技术方案是:一种双筒式记录系统,包括上圆筒、下圆筒和表格纸,所述上圆筒设有进纸口并内装有上卷轴,该上圆筒设有底座,该底座与上圆筒一体化连接,下圆筒设有出纸口并内装有下卷轴,表格纸穿过出纸口和进纸口,表格纸两端分别与上卷轴、下卷轴连接。The technical solution adopted by the present invention to solve the technical problem is: a double-tube recording system, including an upper cylinder, a lower cylinder and form paper, the upper cylinder is provided with a paper inlet and an upper reel is housed inside. The upper cylinder is provided with a base, and the base is integrally connected with the upper cylinder. The lower cylinder is provided with a paper outlet and a lower reel is installed inside. The form paper passes through the paper outlet and paper inlet. Reel, lower reel connection.
所述底座底面为平面形状。The bottom surface of the base is planar.
所述上圆筒的左右两端分别设有上端盖,上端盖设有内外两层,外层与上圆筒相嵌接,内层设有上卷轴的固定位。The left and right ends of the upper cylinder are provided with upper end caps respectively, and the upper end caps are provided with inner and outer layers, the outer layer is embedded with the upper cylinder, and the inner layer is provided with a fixing position for the upper scroll.
所述上卷轴包括两个半圆轴,其中一个半圆轴上设有锁紧装置,表格纸通过两个半圆轴的中间缝隙卷装在上卷轴上,该上卷轴的端部分别设有上轴头,上轴头与上端盖内层所设的固定位相嵌接。The upper reel includes two semicircular shafts, one of which is provided with a locking device, and the form paper is wound on the upper reel through the middle gap of the two semicircular shafts, and the ends of the upper reel are respectively provided with upper shaft heads , the upper shaft head is embedded with the fixed position set on the inner layer of the upper end cover.
所述上卷轴设有装纸槽,表格纸的一端设有连接条,表格纸通过该连接条以“丁”字形插入上卷轴的装纸槽内。The upper reel is provided with a paper loading slot, and one end of the form paper is provided with a connecting bar through which the form paper is inserted into the paper loading slot of the upper reel in a "T" shape.
所述上卷轴一端的端部设有轴头转轮,该轴头转轮上绕接有拉绳,该拉绳包括前拉绳和后拉绳。The end of one end of the upper reel is provided with a shaft head runner, and a stay rope is wound on the shaft nose runner, and the stay rope includes a front stay rope and a back stay rope.
所述下圆筒的两端设有下端盖,该下端盖位于轴头外侧或者穿过轴头,在下圆筒的一端的下端盖外部设有手动转轮,该手动转轮与下卷轴轴头相连接。The two ends of described lower cylinder are provided with lower end cap, and this lower end cap is positioned at the axle head outside or passes through axle head, and the lower end cap of one end of lower cylinder is provided with manual runner outside, and this manual runner is connected with lower reel axle head connected.
所述下圆筒采用铰链或弹片的方式使两块筒体相连接。The lower cylinder connects the two cylinders by means of hinges or shrapnel.
所述下卷轴轴头上设有凹槽或凸起,该下卷轴轴头与设置在下卷轴两端的凸起或凹槽相嵌接。A groove or a protrusion is provided on the shaft head of the lower scroll shaft, and the shaft head of the lower scroll shaft is engaged with the protrusions or grooves arranged at both ends of the lower scroll shaft.
所述上圆筒或下圆筒其中一个或二个的简面设置有标示区,该标示区记录彩票种类和期数事项。The surface of one or both of the upper cylinder or the lower cylinder is provided with a marking area, and the marking area records the type and number of lottery tickets.
本发明的有益效果是:采取上圆筒和下圆筒的结构,能够将数十米长的表格纸卷装起来,而且通过操作拉绳,从而使表格纸上、下移动,随时改变展示版面的大小,方便查看以前的中奖号码,纸张有数十米长,能够记录足够多的信息,具有结构简单,制造成本低,查看、更换和携带方便的优点。The beneficial effects of the present invention are: adopting the structure of the upper cylinder and the lower cylinder, the form paper rolls of tens of meters long can be packed up, and the form paper can be moved up and down by operating the pull rope, and the display layout can be changed at any time The size of the paper is convenient to check the previous winning numbers. The paper is tens of meters long and can record enough information. It has the advantages of simple structure, low manufacturing cost, and convenient viewing, replacement and portability.
【附图说明】【Description of drawings】
下面结合附图和实施例对本发明进一步说明。The present invention will be further described below in conjunction with the accompanying drawings and embodiments.
图1是本发明的结构示意图;Fig. 1 is a structural representation of the present invention;
图2是本发明上圆筒上端盖的结构纵向剖视图;Fig. 2 is a structural longitudinal sectional view of the upper end cap of the upper cylinder of the present invention;
图3是本发明下圆筒转动手轮和下端盖的结构纵向剖视图;Fig. 3 is a structural longitudinal sectional view of the lower cylinder rotating handwheel and the lower end cap of the present invention;
图4是本发明上卷轴的例面剖视图。Fig. 4 is a cross-sectional view of an example of the winding shaft of the present invention.
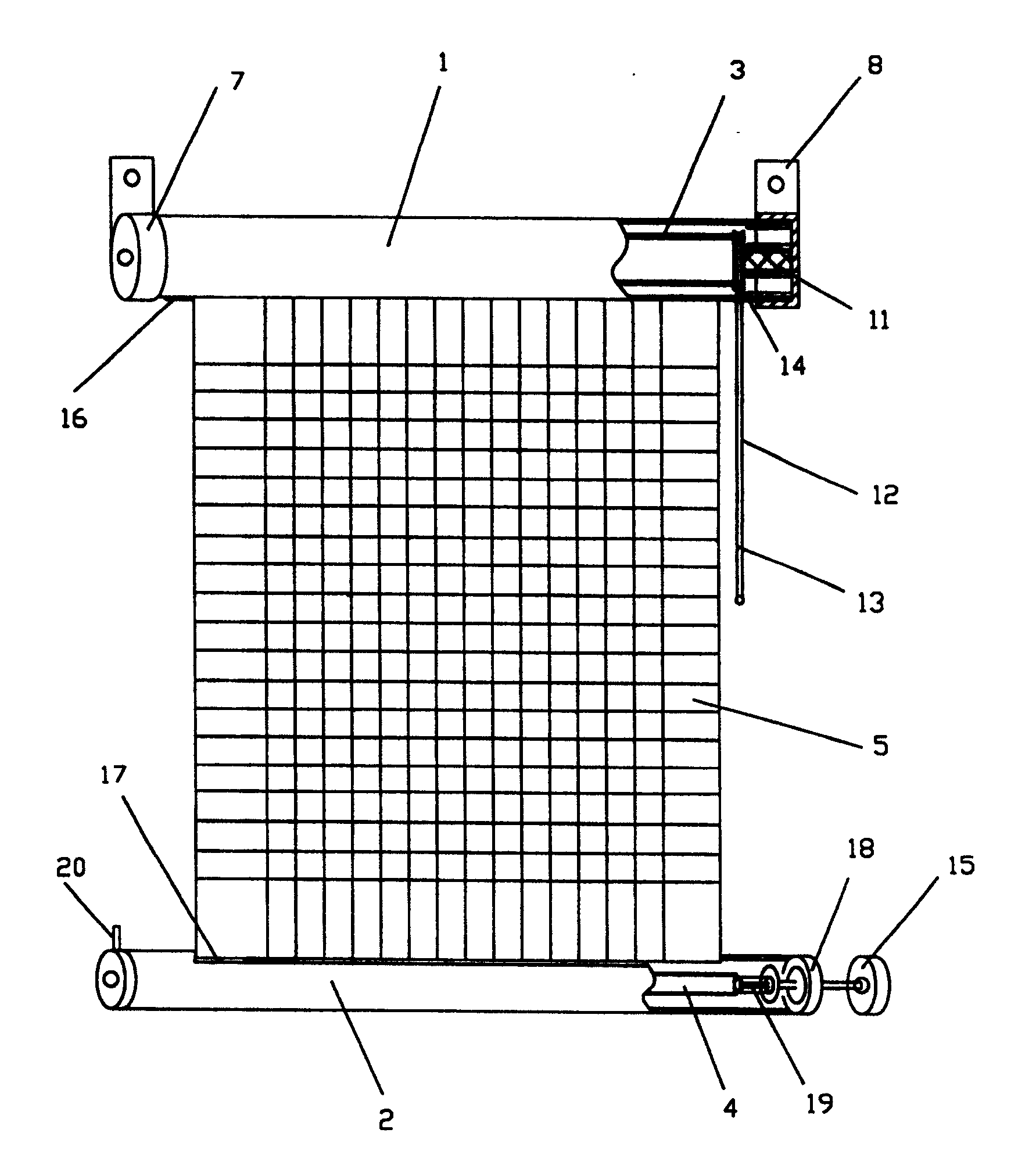
图中:1-上圆筒,2-下圆筒,3-上卷轴,4-下卷轴,5-表格纸,6-固定位,7-上端盖,8-底座,9-上端盖外层,10-上端盖内层,11-上轴头,12-前拉绳,13-后拉绳,14-轴头转轮,15-转动手轮,16-进纸口,17-出纸口,18-下端盖,19-下卷轴轴头,20-定位装置,21-装纸槽,22-连接条。In the figure: 1-upper cylinder, 2-lower cylinder, 3-upper reel, 4-lower reel, 5-form paper, 6-fixed position, 7-upper end cap, 8-base, 9-outer layer of upper end cap , 10- the inner layer of the upper end cover, 11- the upper shaft head, 12- the front pull rope, 13- the rear pull rope, 14- the shaft head runner, 15- the rotating hand wheel, 16- the paper inlet, 17- the paper outlet , 18-lower end cover, 19-lower scroll head, 20-positioning device, 21-paper slot, 22-connecting strip.
【具体实施方式】【Detailed ways】
参见图1,图1所表示的是本发明的结构示意图,双筒式记录系统,采用上圆筒1、下圆筒2和表格纸5的结构形式,上圆筒1的一面设有底座8,该底座8底面为平面形状,便于与墙面安装,该底座8与上圆筒1一体化连接。在上圆筒1的左右两端分别设有上端盖7,如图2所示,上端盖7设有内外两层,上端盖外层9与上圆筒1相嵌接,这样能使上圆筒1衬紧,上端盖内层10设有上卷轴3的固定位6;该上圆筒1设有进纸口16并内装有上卷轴3,一种情况是表格纸5通过两个半圆轴的中间缝隙卷装在上卷轴3上,所述上卷轴3包括两个半圆轴,其中一个半圆轴上设有锁紧装置,该上卷轴3的端部分别设有上轴头11,上轴头11与上端盖内层10所设的固定位6相嵌接,能够使上卷轴3通过两个上端盖7固定安装在上圆筒1之中,在本实施例中,参见图4,上卷轴3设有装纸槽21,表格纸5的一端设有连接条22,将表格纸5粘结在连接条22上,表格纸5通过该连接条22以“丁”字形插入上卷轴3的装纸槽21内。Referring to Fig. 1, what Fig. 1 represented is the structure schematic diagram of the present invention, double-barrel recording system, adopts the structural form of
所述上卷轴3一端的端部设有轴头转轮14,该轴头转轮14为齿形转轮,在轴头转轮14上绕接有拉绳,该拉绳包括前拉绳12和后拉绳13,在本实施例中,拉绳上串接有珠子,拉动拉绳,拉绳上的珠子带动轴头转轮14滚动,从而带动上卷轴3转动,通过上卷轴3的转动,表格纸5就能上下移动。在实际使用时,先拉前拉绳12,让表格纸5绕在上卷轴3上两周,当查看原来的信息时,拉后拉绳13,表格纸5就下移。The end of one end of the
本发明在本实施例中是下圆筒2为一个整体,下圆筒2设有出纸口17并内装有下卷轴4,下圆筒2的两端设有下端盖18,该下端盖18位于轴头外侧或者穿过轴头,如图3所示,在下圆筒2的一端的下端盖18外部设有手动转轮15,该手动转轮15通过螺栓穿过下端盖18与下卷轴轴头19相连接,该下卷轴轴头19上设有凹槽或凸起,该下卷轴轴头19与设置在下卷轴4两端的凸起或凹槽相嵌接,这样使下卷轴4通过下端盖18固定安装在下圆筒2内;下圆筒2的另一种设置是采用铰链或弹片的方式使两块筒体相连接,开启时,只要打开弹片,就能将两块筒体分离。In this embodiment of the present invention, the
表格纸5穿过上卷轴3的进纸口16和下卷轴上4的出纸口17,使表格纸5两端分别与上卷轴3和下卷轴4连接。The
在上圆筒1或下圆筒2其中一个或二个的简面上设置有标示区,该标示区记录彩票种类和期数事项。本实施例是福利彩票中奖号码双筒式记录装置,则应标示福利彩票的期号、特码、和值区、彩票种类区和奇偶数等事项,如果是体育彩票,则按照体育彩票的信息在本标示区进行设置。On the surface of one or two of the
下圆筒2的一端设置有定位螺钉或定位销等定位装置20。当需要更换纸张时,先松开定位螺钉或定位销,再松开手动转轮15和下圆筒2两端的端盖18,即可将下卷轴4从下圆筒2内取出,待下卷轴4装好表格纸5后再装入下圆筒2,使用起来非常方便。One end of the
本发明采取上圆筒1和下圆筒2的结构,能够将数十米长的表格纸5卷装起来,而且通过操作拉绳,从而使表格纸5上、下移动,随时改变展示版面的大小,方便查看以前的中奖号码,纸张有数十米长,能够记录足够多的信息,具有结构简单,制造成本低,查看、更换和携带方便的优点。The present invention adopts the structure of the
Claims (5)
Priority Applications (1)
| Application Number | Priority Date | Filing Date | Title |
|---|---|---|---|
| CNB2005100350379A CN100440273C (en) | 2005-06-09 | 2005-06-09 | binocular recording system |
Applications Claiming Priority (1)
| Application Number | Priority Date | Filing Date | Title |
|---|---|---|---|
| CNB2005100350379A CN100440273C (en) | 2005-06-09 | 2005-06-09 | binocular recording system |
Publications (2)
| Publication Number | Publication Date |
|---|---|
| CN1710632A CN1710632A (en) | 2005-12-21 |
| CN100440273C true CN100440273C (en) | 2008-12-03 |
Family
ID=35706870
Family Applications (1)
| Application Number | Title | Priority Date | Filing Date |
|---|---|---|---|
| CNB2005100350379A Expired - Fee Related CN100440273C (en) | 2005-06-09 | 2005-06-09 | binocular recording system |
Country Status (1)
| Country | Link |
|---|---|
| CN (1) | CN100440273C (en) |
Families Citing this family (1)
| Publication number | Priority date | Publication date | Assignee | Title |
|---|---|---|---|---|
| CN102542935A (en) * | 2011-11-28 | 2012-07-04 | 黄武昌 | Multi-functional double-cylinder type lamplight and remote recording display system |
Citations (6)
| Publication number | Priority date | Publication date | Assignee | Title |
|---|---|---|---|---|
| JP2002032039A (en) * | 2000-07-19 | 2002-01-31 | Fukui Kensetsu Kk | Advertisement bulletin board |
| JP2003084691A (en) * | 2001-09-13 | 2003-03-19 | Nichigaku Kk | Information bulletin device improved in tension imparting section of sheet |
| CN2613013Y (en) * | 2003-04-14 | 2004-04-21 | 全志谦 | Lottery prize winning Information counting and displaying device |
| CN2615798Y (en) * | 2003-03-11 | 2004-05-12 | 尹胜云 | Lottery ticket number displaying device |
| CN2632791Y (en) * | 2003-06-20 | 2004-08-11 | 赵孟儒 | Telescopic lottery ticket displaying board |
| CN2694405Y (en) * | 2004-03-05 | 2005-04-20 | 刘文清 | Reel type information announcement board |
-
2005
- 2005-06-09 CN CNB2005100350379A patent/CN100440273C/en not_active Expired - Fee Related
Patent Citations (6)
| Publication number | Priority date | Publication date | Assignee | Title |
|---|---|---|---|---|
| JP2002032039A (en) * | 2000-07-19 | 2002-01-31 | Fukui Kensetsu Kk | Advertisement bulletin board |
| JP2003084691A (en) * | 2001-09-13 | 2003-03-19 | Nichigaku Kk | Information bulletin device improved in tension imparting section of sheet |
| CN2615798Y (en) * | 2003-03-11 | 2004-05-12 | 尹胜云 | Lottery ticket number displaying device |
| CN2613013Y (en) * | 2003-04-14 | 2004-04-21 | 全志谦 | Lottery prize winning Information counting and displaying device |
| CN2632791Y (en) * | 2003-06-20 | 2004-08-11 | 赵孟儒 | Telescopic lottery ticket displaying board |
| CN2694405Y (en) * | 2004-03-05 | 2005-04-20 | 刘文清 | Reel type information announcement board |
Also Published As
| Publication number | Publication date |
|---|---|
| CN1710632A (en) | 2005-12-21 |
Similar Documents
| Publication | Publication Date | Title |
|---|---|---|
| CN100440273C (en) | binocular recording system | |
| CN100578572C (en) | Lottery Winning Number Recording System | |
| CN201498176U (en) | Multifunctional dual-cylinder recording and displaying device | |
| CN2831312Y (en) | Double-drum remote recorder of lottery ticket of winning number | |
| CN2821751Y (en) | Binocular recorder for lottery ticket prize winning number | |
| CN2849846Y (en) | Lamplight binocular recorder for lottery prizewinning number | |
| CN1822071A (en) | Binocular liquid crystal display and recording system for lottery prizewinning number | |
| CN2831310Y (en) | Light beam barrel-type recorder of lottery ticket of winning number | |
| CN2872516Y (en) | Double cylinder light and remote-controlled recorder for lottery ticket winning numbers | |
| CN2870046Y (en) | Lottery-ticket prizewinning number double-tube type liquid crystal display and telecontrol recording device | |
| CN2788285Y (en) | Improved device for recording lottery winning number | |
| CN201163481Y (en) | Shaft type novel circulating trend drawing recording equipment for lottery ticket prizewinning number | |
| CN2932505Y (en) | Lottery winning number canister-type light and remote-control recording device | |
| CN202352279U (en) | Multifunctional dual-tube type liquid crystal display and record demonstration device | |
| CN1804951A (en) | Dual-drum liquid crystal display and remote recording system for lottery numbers | |
| CN101609631A (en) | Multifunctional double-cylinder type recording and exhibiting system | |
| CN2932506Y (en) | Lottery winning number canister-type remote-control recording device | |
| CN200993844Y (en) | Lottery ticket prize number platetype pulling recording device | |
| CN219629068U (en) | A musical score display device with a rolling structure | |
| CN1838199A (en) | Shaft drum type recording system for lottery winning numbers | |
| CN2864739Y (en) | Reel cylinder type liquid crystal display and remote control recording device for lottery prizewinning number | |
| CN1731476A (en) | Lamplight box-tube type recording system | |
| CN201163479Y (en) | Barrel type circulating trend drawing recording equipment for lottery ticket prizewinning number | |
| CN2904132Y (en) | Shaft cylinder type lampbulb and remote-control recorder for lottery winning number | |
| CN215868279U (en) | Learning device for assisting students to do questions |
Legal Events
| Date | Code | Title | Description |
|---|---|---|---|
| C06 | Publication | ||
| PB01 | Publication | ||
| C10 | Entry into substantive examination | ||
| SE01 | Entry into force of request for substantive examination | ||
| C14 | Grant of patent or utility model | ||
| GR01 | Patent grant | ||
| CF01 | Termination of patent right due to non-payment of annual fee |
Granted publication date: 20081203 Termination date: 20140609 |
|
| EXPY | Termination of patent right or utility model |
