CN100406728C - Refrigeration compressor oil level automatic balance and compensation device - Google Patents
Refrigeration compressor oil level automatic balance and compensation device Download PDFInfo
- Publication number
- CN100406728C CN100406728C CNB2006100972916A CN200610097291A CN100406728C CN 100406728 C CN100406728 C CN 100406728C CN B2006100972916 A CNB2006100972916 A CN B2006100972916A CN 200610097291 A CN200610097291 A CN 200610097291A CN 100406728 C CN100406728 C CN 100406728C
- Authority
- CN
- China
- Prior art keywords
- oil
- crankcase
- compressor
- supplementary
- oil level
- Prior art date
- Legal status (The legal status is an assumption and is not a legal conclusion. Google has not performed a legal analysis and makes no representation as to the accuracy of the status listed.)
- Expired - Fee Related
Links
Images
Landscapes
- Compressors, Vaccum Pumps And Other Relevant Systems (AREA)
Abstract
制冷压缩机油位自动平衡与补偿装置在补充油箱(6)的下部分别设有补充油管(10)和第二电磁阀(11),第二电磁阀(11)通过连通油管(12)与压缩机(1)中的曲轴箱(13)底部相连,在补充油箱(6)的上部分别设有连通气管(3)、第一电磁阀(2)和排气阀(4),连通气管(3)的一端与压缩机(1)中的曲轴箱(13)上部相连,并处于曲轴箱(13)油位线以上,连通气管(3)的另一端口位于补充油箱(6)内的下部,连通气管(3)的另一端口绝对高度就是曲轴箱(13)内油位的绝对高度,两电磁阀受控制器(14)控制同时开闭。该装置适用于单台或者多台压缩机联合工作补油系统,可以自动平衡与补偿压缩机曲轴箱里的油位,从而避免了因油位过低或者过高所造成的各种事故。
The refrigeration compressor oil level automatic balance and compensation device is respectively provided with a supplementary oil pipe (10) and a second solenoid valve (11) at the lower part of the supplementary oil tank (6). The second solenoid valve (11) communicates with the compressor through the oil pipe (12) The crankcase (13) in the engine (1) is connected to the bottom, and the upper part of the supplementary fuel tank (6) is respectively provided with a communication air pipe (3), a first electromagnetic valve (2) and an exhaust valve (4), and the communication air pipe (3 ) is connected to the upper part of the crankcase (13) in the compressor (1), and is above the oil level line of the crankcase (13), and the other port of the connecting air pipe (3) is located at the lower part of the supplementary oil tank (6), The absolute height of the other port of the communication air pipe (3) is exactly the absolute height of the oil level in the crankcase (13), and the two electromagnetic valves are controlled by the controller (14) to open and close simultaneously. The device is suitable for a single or multiple compressors working together to replenish the oil system. It can automatically balance and compensate the oil level in the compressor crankcase, thereby avoiding various accidents caused by too low or too high oil level.
Description
技术领域 technical field
本发明涉及一种制冷压缩机,特别是涉及一种制冷压缩机油位自动平衡与补偿装置。The invention relates to a refrigeration compressor, in particular to a refrigeration compressor oil level automatic balance and compensation device.
背景技术 Background technique
目前,制冷系统压缩机缺油是引起压缩机故障的主要原因之一。当压缩机在缺油情况下运行,会造成压缩机摩擦部位的“烧伤”或“咬合”等各种事故,影响压缩机正常运行。因此设法使压缩机曲轴箱油位的稳定就成了系统可靠运行的保证之一。对于单台运行的制冷压缩机,虽然有油压控制器能起到压缩机缺油或断油保护作用,但给系统补油基本上是通过人工观察压缩机体上的油视镜来判断制冷压缩机中是否缺油的,若油位低于油位线,则必须手动补充油。如果操作人员疏忽,使得压缩机缺油,就有可能造成压缩机运行故障的发生。对于多台压缩机并联运行的系统,由于调节负荷的需要,各台压缩机运行的时间长短不一样,各台压缩机回油的情况可能存在过多或者过少的问题。因此制冷压缩机油位自动平衡与补偿装置的发明就显的非常有实际意义。At present, the lack of oil in the compressor of the refrigeration system is one of the main causes of compressor failure. When the compressor runs in the absence of oil, it will cause various accidents such as "burning" or "biting" of the friction parts of the compressor, which will affect the normal operation of the compressor. Therefore, trying to stabilize the oil level in the crankcase of the compressor has become one of the guarantees for the reliable operation of the system. For a single-operating refrigeration compressor, although there is an oil pressure controller that can protect the compressor from oil shortage or oil cut-off, the oil supply to the system is basically judged by manually observing the oil sight glass on the compressor body. Whether the machine is short of oil, if the oil level is lower than the oil level line, you must manually add oil. If the operator is negligent and makes the compressor lack of oil, it may cause the compressor to malfunction. For a system with multiple compressors running in parallel, due to the need to adjust the load, the running time of each compressor is different, and the oil return of each compressor may be too much or too little. Therefore, the invention of the refrigeration compressor oil level automatic balance and compensation device is of great practical significance.
发明内容 Contents of the invention
技术问题:为了避免因压缩机曲轴箱内润滑油过多或者过少而造成的隐患,本发明根据流体力学相关知识,提出了一种制冷压缩机油位自动平衡与补偿装置,该装置适用于单台或者多台压缩机联合工作补油系统,可以自动平衡与补偿压缩机曲轴箱里的油位,从而避免了因油位过低或者过高所造成的各种事故。Technical problem: In order to avoid hidden dangers caused by too much or too little lubricating oil in the crankcase of the compressor, the present invention proposes an automatic oil level balance and compensation device for refrigeration compressors based on the relevant knowledge of fluid mechanics. The device is suitable for Single or multiple compressors work together to replenish the oil system, which can automatically balance and compensate the oil level in the compressor crankcase, thus avoiding various accidents caused by too low or too high oil level.
技术方案:本发明所采用的技术方案是:在制冷压缩机外加一个补充油箱,该装置以补充油箱为主体,在补充油箱的下部分别设有补充油管和第二电磁阀,第二电磁阀通过连通油管与压缩机中的曲轴箱底部相连,在补充油箱的上部分别设有连通气管、第一电磁阀和排气阀,连通气管的外端与压缩机中的曲轴箱上部相连,并处于曲轴箱油位线以上,连通气管的内端口位于补充油箱内的下部,连通气管的内端口绝对高度就是曲轴箱内油位的绝对高度,第一电磁阀、第二电磁阀受控制器控制同时启闭。在补充油箱的侧壁上设有液位指示计,该液位指示计的上部与补充油箱的上部空间连通,液位指示计的下部与补充油箱下部的液体连通。Technical solution: The technical solution adopted in the present invention is: a supplementary oil tank is added to the refrigeration compressor, the device takes the supplementary oil tank as the main body, and a supplementary oil pipe and a second electromagnetic valve are respectively provided at the bottom of the supplementary oil tank, and the second electromagnetic valve passes through The connecting oil pipe is connected to the bottom of the crankcase in the compressor, and the upper part of the supplementary oil tank is respectively provided with a connecting air pipe, a first solenoid valve and an exhaust valve. The outer end of the connecting air pipe is connected to the upper part of the crankcase in the compressor, and is located Above the oil level line of the crankcase, the inner port of the connecting air pipe is located at the lower part of the supplementary oil tank. The absolute height of the inner port of the connecting air pipe is the absolute height of the oil level in the crankcase. The first solenoid valve and the second solenoid valve are controlled by the controller to start simultaneously. close. A liquid level indicator is arranged on the side wall of the supplementary oil tank, the upper part of the liquid level indicator communicates with the upper space of the supplementary oil tank, and the lower part of the liquid level indicator communicates with the liquid in the lower part of the supplementary oil tank.
由于连通器原理,当曲轴箱内回油过多或者过少时,补充油箱会自动补充或者吸收润滑油,从而保持压缩机曲轴箱内油位的稳定,因此可以避免因为油量不足或者过多所造成的各种事故。Due to the principle of the connecting device, when there is too much or too little oil returned in the crankcase, the supplementary oil tank will automatically replenish or absorb lubricating oil, so as to maintain the stability of the oil level in the compressor crankcase, so it can avoid the oil loss due to insufficient or too much oil. various accidents.
同时本方案也适用于多台并联运行的压缩机,在多台压缩机系统中设置一个集中补充油箱,将各个压缩机曲轴箱分别与集中补充油箱油管和气管连接,从而达到使机组中每个压缩机油量都能保持恒定的状态,进而保证了的压缩机组稳定工作At the same time, this scheme is also applicable to multiple compressors running in parallel. A centralized supplementary oil tank is set in the multi-compressor system, and the crankcases of each compressor are respectively connected to the oil pipe and air pipe of the centralized supplementary oil tank, so as to make each unit in the unit The oil volume of the compressor can be kept constant, thus ensuring the stable operation of the compressor unit
有益效果:本发明的有益效果是:可以确保制冷压缩机在工作过程中油位的稳定,避免压缩机因缺油造成摩擦表面磨损严重,运动副卡住等故障的发生,尤其对多台压缩机并联运行效果更为明显。可以自动平衡与补偿压缩机曲轴箱里的油位,从而避免了因油位过低或者过高所造成的各种事故。Beneficial effect: the beneficial effect of the present invention is: it can ensure the stability of the oil level of the refrigeration compressor during the working process, and avoid the serious wear of the friction surface of the compressor due to lack of oil, and the occurrence of faults such as the jamming of the moving pair, especially for multiple compressors The effect of parallel operation is more obvious. It can automatically balance and compensate the oil level in the compressor crankcase, thus avoiding various accidents caused by too low or too high oil level.
附图说明 Description of drawings
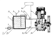
图1是本发明的液位自动平衡与补偿装置结构示意图。其中有:压缩机1、第一电磁阀2、第二电磁阀11、连通气管3、排气阀4、排气管5、补充油箱6、液位指示计7、补充油阀8、供油泵9、补充油管10、连通油管12、曲轴箱13、控制器14。Fig. 1 is a structural schematic diagram of the liquid level automatic balance and compensation device of the present invention. Among them are: compressor 1,
具体实施方式 Detailed ways
本发明的装置以补充油箱6为主体,在补充油箱6的下部分别设有补充油管10和第二电磁阀11,第二电磁阀11通过连通油管12与压缩机1中的曲轴箱13底部相连,在补充油箱6的上部分别设有连通气管3和排气阀4,连通气管3的外端与压缩机1中的曲轴箱13上部相连,并处于曲轴箱13油位线以上,连通气管3的内端口伸入补充油箱6内的下部,其中连通气管3在补充油箱6内下端口的绝对高度就是曲轴箱13内油位的绝对高度,因此,要根据压缩机曲轴箱的正常的油位高度来确定补充油箱安装时的标高。连通气管3在曲轴箱的通气口应处于油位线以上,以确保润滑油不能进入连通气管3;在补充油箱6的侧面设有液位计7。补充油管10与补充油箱采用密封连接防止润滑油泄漏,排气阀门4工作时处于关闭状态以保证补充油箱内处于密闭状态;连通油管12处于曲轴箱13和补充油箱6的底部,以保证润滑油能顺利的进入或流出曲轴箱13和补充油箱6。The device of the present invention takes the supplementary oil tank 6 as the main body, and the bottom of the supplementary oil tank 6 is respectively provided with a
在首次开机运行前,第一电磁阀2、第二电磁阀11处于关闭状态,打开补充油阀8、排气阀4,将润滑油用供油泵9通过补充油管10注入补充油箱6,当补充油箱内液位达到一定高度后,停止供油,关闭补充油阀8、排气阀4。开机运行时控制器根据曲轴箱的压力下降到补油箱压力时,自动打开第一电磁阀2、第二电磁阀11,润滑油将自动通过连通油管12进入曲轴箱13,并将液面稳定在油位线处。当曲轴箱内润滑油量减少时,润滑油将自动从补充油箱6通过连通油管12流入曲轴箱13内,平衡气体由连通气管3穿过补充油箱的油层进入补充油箱6的上部空间,使得曲轴箱液面保持在油位线位置,当曲轴箱13内油面超过所控制的油位线时,润滑油将自动通过连通油管12反向流回补充油箱6,从而达到稳定油位的目的。当运行一段时间后可通过观察液位计7来决定是否需要对补充油箱6进行加油。压缩机停机时,控制器14将关闭第一电磁阀2、第二电磁阀11以避免曲轴箱压力的上升,而将气体通过连气管3进入补充油箱6的上部空间。压缩机开机后,当压缩机曲轴箱13内压力达到14控制器整定的压力时将重新打开第一电磁阀2、第二电磁阀11,重新开始工作。Before starting up and running for the first time, the first
当多台压缩机同时使用本装置时,注意各个压缩机曲轴箱的液位面要处于同一绝对高度,否则可能造成压缩机曲轴箱油位控制不在同一高度,出现压缩机曲轴箱油位过高或过低的现象。另外该液位恒定装置不适宜使用于所控液位压力波动频繁场合。When multiple compressors use this device at the same time, pay attention to the liquid level of the crankcase of each compressor must be at the same absolute height, otherwise it may cause the oil level control of the compressor crankcase to not be at the same height, and the oil level of the compressor crankcase will be too high or too low. In addition, the liquid level constant device is not suitable for use in occasions where the controlled liquid level pressure fluctuates frequently.
Claims (2)
Priority Applications (1)
| Application Number | Priority Date | Filing Date | Title |
|---|---|---|---|
| CNB2006100972916A CN100406728C (en) | 2006-10-27 | 2006-10-27 | Refrigeration compressor oil level automatic balance and compensation device |
Applications Claiming Priority (1)
| Application Number | Priority Date | Filing Date | Title |
|---|---|---|---|
| CNB2006100972916A CN100406728C (en) | 2006-10-27 | 2006-10-27 | Refrigeration compressor oil level automatic balance and compensation device |
Publications (2)
| Publication Number | Publication Date |
|---|---|
| CN1945014A CN1945014A (en) | 2007-04-11 |
| CN100406728C true CN100406728C (en) | 2008-07-30 |
Family
ID=38044563
Family Applications (1)
| Application Number | Title | Priority Date | Filing Date |
|---|---|---|---|
| CNB2006100972916A Expired - Fee Related CN100406728C (en) | 2006-10-27 | 2006-10-27 | Refrigeration compressor oil level automatic balance and compensation device |
Country Status (1)
| Country | Link |
|---|---|
| CN (1) | CN100406728C (en) |
Cited By (1)
| Publication number | Priority date | Publication date | Assignee | Title |
|---|---|---|---|---|
| CN106194753A (en) * | 2016-08-29 | 2016-12-07 | 四川齐飞铝业有限公司 | A kind of air supply system realizing oil circulation utilization |
Families Citing this family (12)
| Publication number | Priority date | Publication date | Assignee | Title |
|---|---|---|---|---|
| CN103883499A (en) * | 2012-12-19 | 2014-06-25 | 江苏飞亚化学工业有限责任公司 | Oil feeding device of compressor |
| CN103410708B (en) * | 2013-08-27 | 2016-01-20 | 成都添益天然气压缩机制造有限公司 | Be provided with the lubricant oil automatic compensator of automatic decompression valve |
| CN103410709A (en) * | 2013-08-27 | 2013-11-27 | 成都添益天然气压缩机制造有限公司 | Automatic lubricating oil compensation device with decompression valve |
| CN103437979A (en) * | 2013-08-27 | 2013-12-11 | 成都添益天然气压缩机制造有限公司 | Automatic lubricating oil compensation device of natural gas compressor |
| CN104061718B (en) * | 2014-06-30 | 2016-02-03 | 四川长虹空调有限公司 | Compressor of air conditioner recharging oil device |
| CN106801665A (en) * | 2016-12-27 | 2017-06-06 | 大连葆光节能空调设备厂 | The device and application method of a kind of oil of the make up compressor in compressor operating |
| CN107893748A (en) * | 2017-11-13 | 2018-04-10 | 中鼎恒盛气体设备(芜湖)有限公司 | A kind of Multifunction crankshaft case |
| CN109441769B (en) * | 2018-11-26 | 2020-08-21 | 安徽正刚新能源科技有限公司 | Compressor oil return automatic regulation and accurate control system |
| CN110425140A (en) * | 2019-08-12 | 2019-11-08 | 珠海格力节能环保制冷技术研究中心有限公司 | Compressor oil level component and rotor compressor |
| CN114198284A (en) * | 2020-09-17 | 2022-03-18 | 上海海立电器有限公司 | Compressor, external oil storage device and compressor system |
| CN114439725B (en) * | 2020-11-02 | 2025-11-07 | 上海海立电器有限公司 | Oil level control system for compressor, working condition control system and application of oil level control system |
| CN112922809B (en) * | 2021-02-04 | 2023-05-16 | 广东韶钢松山股份有限公司 | Oil supply control method |
Citations (5)
| Publication number | Priority date | Publication date | Assignee | Title |
|---|---|---|---|---|
| JP2002147358A (en) * | 2000-11-10 | 2002-05-22 | Seiko Instruments Inc | Gas compressor |
| US20030173155A1 (en) * | 2002-03-14 | 2003-09-18 | Jean-Louis Picouet | Suction oil injection for rotary compressor |
| CN2670861Y (en) * | 2003-12-05 | 2005-01-12 | 广东美的集团股份有限公司 | Oil balancing device in compressor of air conditioner |
| CN2775312Y (en) * | 2005-02-25 | 2006-04-26 | 赵珊珊 | Automatic oil level oil filler |
| CN2782983Y (en) * | 2004-12-04 | 2006-05-24 | 珠海格力电器股份有限公司 | Compressor with oil balance mechanism |
-
2006
- 2006-10-27 CN CNB2006100972916A patent/CN100406728C/en not_active Expired - Fee Related
Patent Citations (5)
| Publication number | Priority date | Publication date | Assignee | Title |
|---|---|---|---|---|
| JP2002147358A (en) * | 2000-11-10 | 2002-05-22 | Seiko Instruments Inc | Gas compressor |
| US20030173155A1 (en) * | 2002-03-14 | 2003-09-18 | Jean-Louis Picouet | Suction oil injection for rotary compressor |
| CN2670861Y (en) * | 2003-12-05 | 2005-01-12 | 广东美的集团股份有限公司 | Oil balancing device in compressor of air conditioner |
| CN2782983Y (en) * | 2004-12-04 | 2006-05-24 | 珠海格力电器股份有限公司 | Compressor with oil balance mechanism |
| CN2775312Y (en) * | 2005-02-25 | 2006-04-26 | 赵珊珊 | Automatic oil level oil filler |
Cited By (1)
| Publication number | Priority date | Publication date | Assignee | Title |
|---|---|---|---|---|
| CN106194753A (en) * | 2016-08-29 | 2016-12-07 | 四川齐飞铝业有限公司 | A kind of air supply system realizing oil circulation utilization |
Also Published As
| Publication number | Publication date |
|---|---|
| CN1945014A (en) | 2007-04-11 |
Similar Documents
| Publication | Publication Date | Title |
|---|---|---|
| CN100406728C (en) | Refrigeration compressor oil level automatic balance and compensation device | |
| CN102536379B (en) | Automatic machine oil cleaning system, oil return pipeline of communicating vessel, and engine system | |
| US10060779B2 (en) | Device and method for continuous measurement of the dynamic fuel consumption of an internal combustion engine | |
| CN103608575B (en) | The method that fuel system and minimizing leak from the fuel of fuel system | |
| CN207094153U (en) | Applied to the lubricating oil station supporting the electric drive centrifugal compressor | |
| WO2016023279A1 (en) | Automobile engine lubricating oil guaranteeing device and control method therefor | |
| CN210532742U (en) | Refrigerating system with oil return and oil discharge functions | |
| CN104481875A (en) | Screw compressor | |
| RU2670642C2 (en) | Heating device for a vehicle with a fuel hydraulic accumulator near the nozzle | |
| CN205226316U (en) | Vertical reduction gear oil supplementing device | |
| CN104500168A (en) | Dry oil pan system preventing oil returning | |
| CN106917782A (en) | A kind of device for preventing discharging valve for top of blast furnace hydraulic cylinder and pipeline evacuation | |
| CN206801976U (en) | The disintegrating machine closed type hydraulic system of triple repairings | |
| CN100564883C (en) | Lubricating oil replenishment equipment for oil-injected screw compressors | |
| CN216743775U (en) | Bearing automatic oiling system and oil smoke box formula fan | |
| CN106194524A (en) | A vehicle mechanical automatic control oil supply system | |
| CN101566244B (en) | Multi-passage circulating member of electromagnetic valve | |
| WO2016033866A1 (en) | Oil-replenishing device for automobile engine oil pan | |
| CN206571544U (en) | Engine oil case assembly, engine lubrication system and vehicle | |
| CN201425087Y (en) | Oil supply device for lubricant in gear bearing tank | |
| CN116537910A (en) | Method and system for controlling engine oil capacity and temperature | |
| CN102877890B (en) | Lubrication system of single-screw expansion engine and control method of lubrication system | |
| CN207599318U (en) | A kind of thin oil lubrication system | |
| CN209261642U (en) | Engine lubricating oil supply device | |
| CN207963977U (en) | Engineering machinery fuel consumption meter exhaust structure |
Legal Events
| Date | Code | Title | Description |
|---|---|---|---|
| C06 | Publication | ||
| PB01 | Publication | ||
| C10 | Entry into substantive examination | ||
| SE01 | Entry into force of request for substantive examination | ||
| C14 | Grant of patent or utility model | ||
| GR01 | Patent grant | ||
| CF01 | Termination of patent right due to non-payment of annual fee |
Granted publication date: 20080730 Termination date: 20141027 |
|
| EXPY | Termination of patent right or utility model |
