CN100392196C - Home Water Saving System - Google Patents
Home Water Saving System Download PDFInfo
- Publication number
- CN100392196C CN100392196C CNB2005101167224A CN200510116722A CN100392196C CN 100392196 C CN100392196 C CN 100392196C CN B2005101167224 A CNB2005101167224 A CN B2005101167224A CN 200510116722 A CN200510116722 A CN 200510116722A CN 100392196 C CN100392196 C CN 100392196C
- Authority
- CN
- China
- Prior art keywords
- water
- tank
- plate
- storage tank
- header tank
- Prior art date
- Legal status (The legal status is an assumption and is not a legal conclusion. Google has not performed a legal analysis and makes no representation as to the accuracy of the status listed.)
- Expired - Fee Related
Links
- XLYOFNOQVPJJNP-UHFFFAOYSA-N water Substances O XLYOFNOQVPJJNP-UHFFFAOYSA-N 0.000 title claims abstract description 292
- 238000003860 storage Methods 0.000 claims abstract description 48
- 238000004062 sedimentation Methods 0.000 claims description 24
- 238000000746 purification Methods 0.000 claims description 17
- 239000010865 sewage Substances 0.000 claims description 17
- 238000004140 cleaning Methods 0.000 claims description 14
- 238000001914 filtration Methods 0.000 claims description 7
- 238000001556 precipitation Methods 0.000 claims description 7
- 239000010410 layer Substances 0.000 claims description 5
- 229910000831 Steel Inorganic materials 0.000 claims description 4
- 239000010959 steel Substances 0.000 claims description 4
- 230000001154 acute effect Effects 0.000 claims description 3
- 238000007790 scraping Methods 0.000 claims description 3
- 239000002356 single layer Substances 0.000 claims description 2
- 238000013519 translation Methods 0.000 claims description 2
- JEGUKCSWCFPDGT-UHFFFAOYSA-N h2o hydrate Chemical compound O.O JEGUKCSWCFPDGT-UHFFFAOYSA-N 0.000 claims 2
- 239000008399 tap water Substances 0.000 abstract description 5
- 235000020679 tap water Nutrition 0.000 abstract description 5
- 239000008400 supply water Substances 0.000 abstract description 3
- 239000010802 sludge Substances 0.000 description 14
- 238000005406 washing Methods 0.000 description 7
- 238000000034 method Methods 0.000 description 6
- 238000005516 engineering process Methods 0.000 description 5
- 238000007667 floating Methods 0.000 description 5
- 238000011010 flushing procedure Methods 0.000 description 4
- 238000005192 partition Methods 0.000 description 4
- 230000008021 deposition Effects 0.000 description 3
- 239000012535 impurity Substances 0.000 description 3
- 239000000463 material Substances 0.000 description 3
- 239000002351 wastewater Substances 0.000 description 3
- 230000005540 biological transmission Effects 0.000 description 2
- 239000003651 drinking water Substances 0.000 description 2
- 235000020188 drinking water Nutrition 0.000 description 2
- 230000000694 effects Effects 0.000 description 2
- 239000002245 particle Substances 0.000 description 2
- 239000013049 sediment Substances 0.000 description 2
- 238000000926 separation method Methods 0.000 description 2
- 241001415288 Coccidae Species 0.000 description 1
- 238000009825 accumulation Methods 0.000 description 1
- 238000005054 agglomeration Methods 0.000 description 1
- 230000002776 aggregation Effects 0.000 description 1
- 238000003287 bathing Methods 0.000 description 1
- 230000009286 beneficial effect Effects 0.000 description 1
- 230000007547 defect Effects 0.000 description 1
- 238000013461 design Methods 0.000 description 1
- 238000010586 diagram Methods 0.000 description 1
- 238000007599 discharging Methods 0.000 description 1
- 239000002384 drinking water standard Substances 0.000 description 1
- 230000005484 gravity Effects 0.000 description 1
- 230000007774 longterm Effects 0.000 description 1
- 238000012423 maintenance Methods 0.000 description 1
- 238000012545 processing Methods 0.000 description 1
- 238000005086 pumping Methods 0.000 description 1
- 238000007670 refining Methods 0.000 description 1
- 239000007787 solid Substances 0.000 description 1
- 235000013311 vegetables Nutrition 0.000 description 1
- 239000002699 waste material Substances 0.000 description 1
Images
Landscapes
- Sewage (AREA)
Abstract
本发明涉及一种家庭节水系统,包括两个高位的储水箱,其中第一储水箱的位置高于第二储水箱的位置,两储水箱之间设有由第一储水箱向第二储水箱供水的连接管,所述第一储水箱的输入管连接一类一次用水设施的集水箱,所述第二储水箱的输入管连接二类一次用水设施的集水箱,其输出管连接二类二次用水设备,所述两储水箱的连接管上还引出了中间输出管,所述中间输出管连接一类二次用水设备,所述各输输入管设有位于相应集水箱内的潜水泵,向各自的储水箱供水。这种节水系统,可以根据不同场合的用水质量要求,将家庭的主要用水多次使用,由此可以减少自来水使用总量和排放量,降低用水成本,节约水资源。
The invention relates to a household water-saving system, which comprises two high-position water storage tanks, wherein the position of the first water storage tank is higher than that of the second water storage tank, and a The connection pipe for the water supply of the water tank, the input pipe of the first water storage tank is connected to the water collection tank of the first-class primary water facility, the input pipe of the second water storage tank is connected to the water collection tank of the second-class primary water facility, and its output pipe is connected to the second-class water collection tank. Secondary water use equipment, the connecting pipe of the two water storage tanks also leads to an intermediate output pipe, the intermediate output pipe is connected to a type of secondary water use equipment, and each input and input pipe is provided with a submersible pump located in the corresponding water collection tank , to supply water to their respective storage tanks. This water-saving system can use the main water of the family multiple times according to the water quality requirements of different occasions, thereby reducing the total use and discharge of tap water, reducing water costs and saving water resources.
Description
技术领域 technical field
本发明涉及一种主要用于家庭的节水系统,其可以将使用过的废水经过一定的处理后,进行多次利用。The invention relates to a water-saving system mainly used in households, which can reuse used waste water for multiple times after certain treatment.
技术背景technical background
家庭中有多种用水设施和用水方式,例如饮食用水、餐具和蔬菜洗涤用水、洗手和洗澡用水、马桶的冲洗用水、浇花用水、清洁用水等等,各种用水方式需要的水的质量是不一样的,其中质量要求最高的是饮食用水,最低的是马桶冲洗用水。但是,现有各种用水设施都是采用自来水的供水管道供水,因此供水质量只能依照要求最高的饮用水标准。由于供水的质量高,成本也就高,对于质量要求相对较低的用水场合,就造成不必要的浪费,更为重要的是,在现有的供排水方式下,家庭的所有用水都是一次使用后进入下水管道,无法多次使用,由此增大了自来水使用量和废水排水量,浪费了水资源。There are various water facilities and methods in the family, such as drinking water, water for washing tableware and vegetables, water for washing hands and bathing, water for flushing toilets, water for watering flowers, water for cleaning, etc. The quality of water required by various water methods is Different, the highest quality requirement is drinking water, and the lowest is toilet flushing water. But existing various water facilities all are to adopt the water supply pipeline water supply of running water, so the water supply quality can only be in accordance with the drinking water standard that requires the highest. Due to the high quality of water supply, the cost is also high, and unnecessary waste is caused for the occasions with relatively low quality requirements. More importantly, under the existing water supply and drainage methods, all the water used by the family is once After use, it enters the sewer pipe and cannot be used repeatedly, thus increasing the tap water usage and waste water discharge, and wasting water resources.
发明内容 Contents of the invention
为克服现有技术的上述缺陷,本发明提供了一种家庭节水系统,采用这种节水系统,可以根据不同场合的用水质量要求,将家庭的主要用水多次使用,由此可以减少自来水使用总量和排放量,降低用水成本,节约水资源。In order to overcome the above-mentioned defects of the prior art, the present invention provides a household water-saving system. With this water-saving system, the main household water can be used for multiple times according to the water quality requirements of different occasions, thereby reducing tap water consumption. Use the total amount and discharge, reduce the cost of water use, and save water resources.
本发明实现上述目的的技术方案是:一种家庭节水系统,包括储水箱,所述储水箱为高位水箱,设有输入管和输出管,所述输入管设有水泵,连接一次用水设施的集水箱,所述输出管连接二次用水设施。The technical scheme of the present invention to achieve the above object is: a household water-saving system, including a water storage tank, the water storage tank is a high-level water tank, and is provided with an input pipe and an output pipe. The water collection tank, the output pipe is connected to the secondary water facilities.
本发明根据家庭不同用水设施的供水和排水质量,将家庭中不同的用水设施进行用水顺序的分类,其中一次用水设施可以直接由自来水管道或其他适宜的供水管道供水,一次用水设施的排放水经过相应的集水箱集水后,由储水管道的水泵泵入高位的储水箱,用于向二次用水设施供水,由此在满足不同设施用水质量要求的同时实现了水的多次利用,节省了水资源,降低了家庭用水成本,减少了对自来水的使用量和废水排放量。另外,由于第一储水箱设置成高位水箱,不需要进行加压就可以直接向二次用水设施供水,有利于简化系统结构,降低运行费用。According to the water supply and drainage quality of different household water facilities, the present invention classifies the water use sequence of different household water facilities, wherein the primary water facilities can be directly supplied with water by tap water pipelines or other suitable water supply pipelines, and the discharge water of primary water facilities passes through After the corresponding water collection tank collects water, it is pumped into the high-level water storage tank by the water pump of the water storage pipeline, and is used to supply water to the secondary water use facilities, thus realizing multiple utilization of water while meeting the water quality requirements of different facilities, saving It saves water resources, reduces the cost of household water use, and reduces the use of tap water and waste water discharge. In addition, since the first water storage tank is set as a high-level water tank, water can be directly supplied to secondary water facilities without pressurization, which is conducive to simplifying the system structure and reducing operating costs.
附图说明 Description of drawings
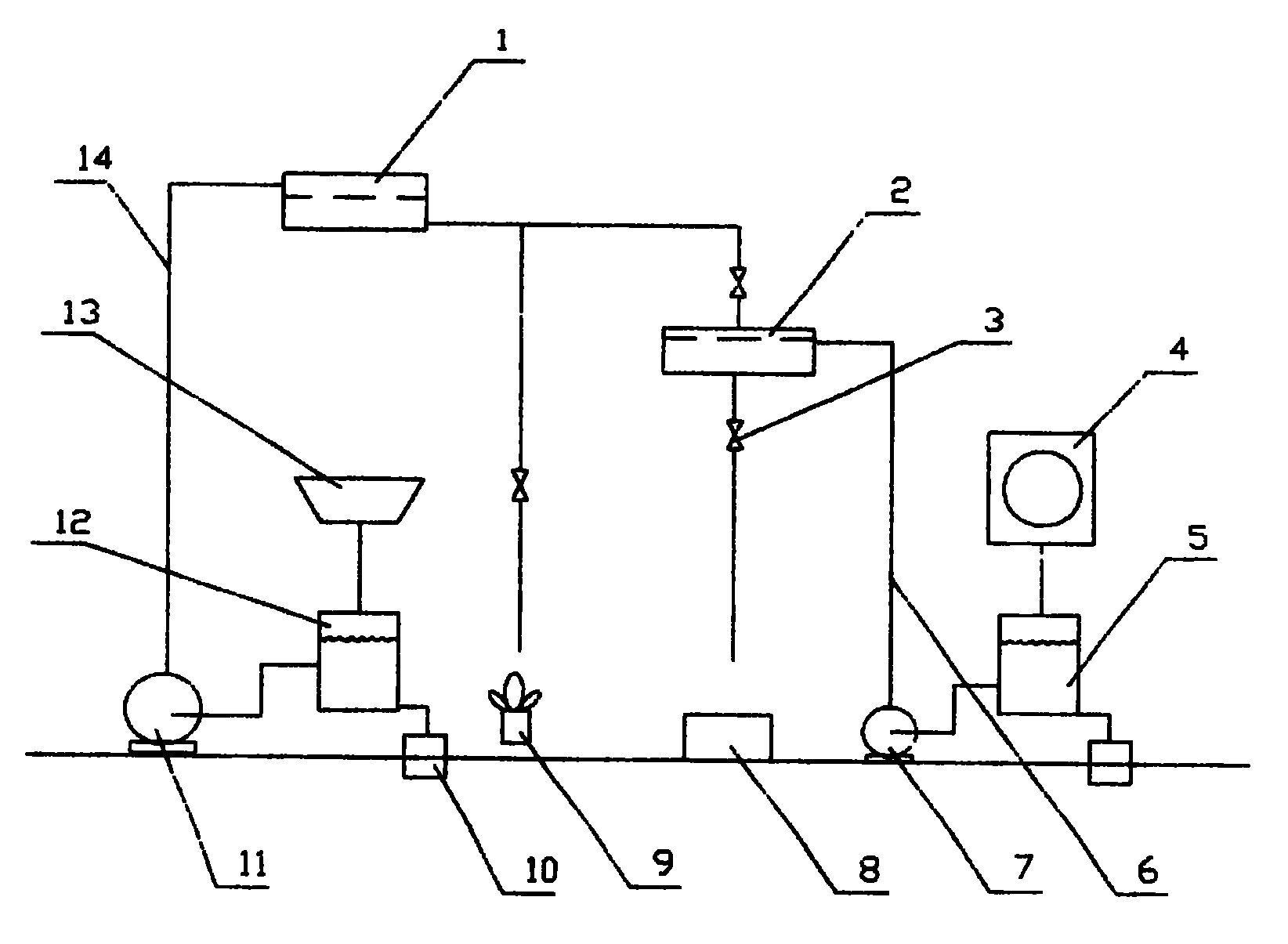
图1是本发明一个实施例的结构示意图;Fig. 1 is a structural representation of an embodiment of the present invention;
图2是本发明集水箱的一个实施例的主视结构示意图。Fig. 2 is a front structural schematic diagram of an embodiment of the water collection tank of the present invention.
具体实施方式 Detailed ways
参见图1,本发明涉及一种家庭节水系统,包括储水箱1、2,所述储水箱为高位水箱,设有输入管14和输出管6,所述输入管设有水泵11、7,连接一次用水设施的集水箱12、5,所述输出管连接二次用水设施9、8。Referring to Fig. 1, the present invention relates to a household water-saving system, comprising
所述集水箱可以采用沉淀池结构。The water collecting tank may adopt a sedimentation tank structure.
所述采用沉淀池结构的集水箱的沉淀区域,可以设有多层斜板,用于加速沉淀。The sedimentation area of the water collection tank adopting the sedimentation tank structure may be provided with multi-layer sloping plates for accelerating sedimentation.
所述斜板可以采用35±5度的倾斜角度,板间距(指垂直距离,下同)根据集水箱的大小,可以在15±3厘米,这种尺寸下,可以保证一般生活涉及的污水的有效沉淀,并便于清洗。The slant plate can adopt an inclination angle of 35 ± 5 degrees, and the distance between the plates (referring to the vertical distance, the same below) can be 15 ± 3 cm according to the size of the water collection tank. Under this size, the sewage involved in general life can be guaranteed. Effective sedimentation and easy cleaning.
所述集水箱内可以设有过滤装置,所述过滤装置可以是由若干虑网叠成的过滤层,也可以采用单层过滤板或过滤网,或者采用其他过滤材料。A filter device may be provided in the water collecting tank, and the filter device may be a filter layer formed by stacking several filter screens, or a single-layer filter plate or filter screen, or other filter materials.
当所述集水箱采用沉淀池结构时,所述过滤装置通常可以设置在沉淀区域之前,也可以设置在沉淀区域之后。When the water collection tank adopts a sedimentation tank structure, the filter device can usually be arranged before or after the sedimentation area.
所述集水箱内可以设有生物净化装置,所述生物净化装置可以为生物滤层。A biological purification device may be provided in the water collection tank, and the biological purification device may be a biological filter layer.
当所述集水箱采用沉淀池结构时,所述生物净化装置通常可以设置在沉淀区域之后,也可以设置在沉淀区域之前。When the water collection tank adopts a sedimentation tank structure, the biological purification device can usually be arranged after the sedimentation area, or before the sedimentation area.
当所述集水箱设有过滤装置时,所述生物净化装置通常可以设置在过滤装置之后,也可以设置在过滤装置之前。When the water collection tank is provided with a filter device, the biological purification device can usually be arranged after the filter device or before the filter device.
通过过滤、沉淀和/或生物净化处理,可以在一定程度上去除一次用水设备排放水中的杂质,有利于提高二次用水的供水质量,并避免大颗粒物质和沉淀物聚积或沉淀在储水箱中或堵塞管道,减少软垢,以避免对系统运行的妨碍和减少系统的清洗和维护的工作量。Through filtration, sedimentation and/or biological purification treatment, impurities in the discharge water of primary water equipment can be removed to a certain extent, which is conducive to improving the quality of secondary water supply and avoiding the accumulation or deposition of large particles and sediment in the water storage tank Or block the pipeline, reduce the soft scale, so as to avoid hindering the operation of the system and reduce the workload of cleaning and maintenance of the system.
所述一次用水设施的集水箱的底部可以设有污水排放阀门,其排放管可以连接家庭下水管道10、2,以便根据需要定期或不定期地将沉淀的污水排放出去。The bottom of the water collection tank of the primary water facility can be provided with a sewage discharge valve, and its discharge pipe can be connected to the
所述污水排放阀可以采用电动阀,所述电动阀设有位于所述集水箱内的水位开关装置,用于控制集水箱的高水位,当集水箱内的水位达到一定高度时,所述水位开关装置打开所述污水排放阀,使集水箱内的水位下降到控制高度,以避免集水箱中的水溢出。The sewage discharge valve can adopt an electric valve, and the electric valve is provided with a water level switch device located in the water collection tank for controlling the high water level of the water collection tank. When the water level in the water collection tank reaches a certain height, the water level The switch device opens the sewage discharge valve, so that the water level in the water collection box drops to a control height, so as to prevent the water in the water collection box from overflowing.
所述一次用水设施的集水箱底部可以是手动或电动刮板,以便将沉淀在集水箱底部的污泥刮起来,避免长时间沉积,通常可以在打开污水排放阀门排放沉淀污水时或之前启动刮板,以便刮起的污泥随污水排出。The bottom of the water collection tank of the primary water facility can be a manual or electric scraper to scrape up the sludge deposited at the bottom of the water collection tank to avoid long-term deposition. Usually, the scraper can be started when or before the sewage discharge valve is opened to discharge the settled sewage. plate so that the scraped sludge is discharged with the sewage.
当所述污水排放阀和所述刮板均为电动的时,可以设置同一个电动开关,以便在打开污水排放阀时也将刮板同时启动。When both the sewage discharge valve and the scraper are electric, the same electric switch can be set so that the scraper is also started simultaneously when the sewage discharge valve is opened.
所述刮板可以设有平移轨道,采用往复移动的方式刮除沉淀污泥,这种刮板结构适应于底部呈矩形的集水箱,所述刮板也可以设有位于中央的转轴,采用旋转方式刮除集水箱底部的污泥,这种刮板结构适应于底部为圆形的集水箱。The scraper can be provided with a translation track to scrape off the settled sludge in a reciprocating manner. This scraper structure is suitable for a water collection tank with a rectangular bottom. The way to scrape off the sludge at the bottom of the water collection tank, this scraper structure is suitable for the water collection tank with a round bottom.
所述水泵可以是设置在所述集水箱中的潜水泵。可以理解的是,当所述集水箱采用沉淀池结构时,所述潜水泵的进水口应该设置在沉淀污泥的区域之外,以避免将污泥泵入储水箱。The water pump may be a submersible pump arranged in the water collection tank. It can be understood that when the water collection tank adopts a sedimentation tank structure, the water inlet of the submersible pump should be set outside the area where the sludge is deposited, so as to avoid pumping the sludge into the water storage tank.
所述水泵可以设有两个水位开关,其中一个设置在所述储水箱内,用于控制储水箱的低水位(进水水位)和高水位(停止进水水位),当储水箱内的水位低于进水水位时,该水位开关将水泵打开,以便向储水箱泵水,当储水箱中的水位达到停止进水水位时,该水位开关切断所述水泵电源,使水泵停止运转,另一个水位控制开关设置在所述集水箱内,用于控制集水箱的低水位,当集水箱中的水位低于控制的低水位,该水位控制开关切断水泵的电源,使水泵在集水箱的水量不足时不能工作,可以看出,这两个水位开关可以采用串连方式,也可以采用其他形式的控制电路结构实现上述控制,所述水位控制开关的具体结构可以采用任意适宜形式。The water pump can be provided with two water level switches, one of which is arranged in the water storage tank for controlling the low water level (inlet water level) and high water level (stop water intake level) of the water storage tank, when the water level in the water storage tank When the water level is lower than the water inlet level, the water level switch will turn on the water pump to pump water to the water storage tank. The water level control switch is arranged in the water collection tank to control the low water level of the water collection tank. When the water level in the water collection tank is lower than the controlled low water level, the water level control switch cuts off the power supply of the water pump, so that the water volume of the water pump in the water collection tank is insufficient. It can be seen that the two water level switches can be connected in series, or other forms of control circuit structure can be used to realize the above control, and the specific structure of the water level control switch can be in any suitable form.
所述储水箱的数量通常可以是一个,也可以是两个或多个,当采用两个储水箱时,其中第一储水箱1的位置高于第二储水箱2的位置(即第一储水箱的水可以在重力作用下流向第二储水箱),两储水箱之间设有由第一储水箱向第二储水箱供水的连接管,所述第一储水箱的输入管连接一类一次用水设施13的集水箱13,所述第二储水箱的输入管连接二类一次用水设施4的集水箱5,其输出管连接二类二次用水设备8,所述两储水箱的连接管上还引出了中间输出管(该中间输出管可以视为所述第一储水箱的输出管),所述中间输出管连接一类二次用水设备9。The quantity of described water storage tank can usually be one, also can be two or more, when adopting two water storage tanks, wherein the position of the first water storage tank 1 is higher than the position of the second water storage tank 2 (that is, the position of the first water storage tank The water in the water tank can flow to the second water storage tank under the action of gravity), a connecting pipe is provided between the two water storage tanks to supply water from the first water storage tank to the second water storage tank, and the input pipe of the first water storage tank is connected to a primary The
所述各个管道上可以根据实际需要设置阀门3。Valves 3 can be set on each of the pipelines according to actual needs.
所述各种管道和设施的连接方式可以采用现有技术依照适合于水流方式连接,所述各输入管、输出管的数量可以根据实际需要设定,所述用水设施包括各种适宜与本节水系统连接的设施,可以是洗衣机等设备,也可以是水池(包括给水龙头和下水管),甚至仅仅是水龙头或水龙头及其配套的下水管(例如淋浴装置就是采用这种形式)。The connection methods of the various pipelines and facilities can be connected by the existing technology according to the suitable water flow method, the number of the input pipes and output pipes can be set according to actual needs, and the water facilities include various suitable for this section The facilities connected to the water system can be equipment such as washing machines, or sinks (including faucets and sewer pipes), or even just faucets or faucets and their associated sewer pipes (for example, showers are in this form).
图2给出的是一种集水箱的优选设计,这种集水箱结构可以适应于本发明中的各个集水箱,该集水箱的箱体200总体上呈长方体形,箱体内空间分为三个区域,依次(以水流通过的先后顺序)为初沉和浮油区210、沉淀区220和生物净化区230,这三个区域的长度(在由进水端至出水端方向上的尺寸,下同)可以分别是所述箱体总长度的25%-30%、40%-55%和20%-30%,例如对于1米长的箱体,这三个区域的长度可以分别是25厘米、55厘米和20厘米,或者30厘米、40厘米和30厘米,或者28厘米、50厘米和22厘米,这种长度比例可以在处理家庭污水时,平衡各区域的处理时间,有效地实现各区域的处理目的。What Fig. 2 provides is a kind of preferred design of water collection box, and this water collection box structure can be adapted to each water collection box among the present invention, and the
所述初沉和浮油区内可以设有下导流板241,所述初沉和浮油区与所述沉淀区之间可以设有上导流板242,该上导流板构成所述初沉和浮油区同所述沉淀区之间的分界,所述下导流板自所述箱体底板处向上延伸,其高度通常可以是箱体高度的85%-90%,所述上导流板自所述箱体顶板处向下延伸,其下端距所述箱体底部的距离可以是箱体高度的30%-35%,所述下导流板至所述上导流板之间的距离可以是所述初沉和浮油区长度的30%-35%,由于初沉和浮油主要是在所述下导流板前面(在由进水端至出水端的方向上,以水流先经过的位置为前,下同)的区域进行,故该区域的长度越大越好,而位于所述下导流板和所述上导流板之间的距离又不能过小,以避免出现湍流,上述尺寸比例设置综合考虑了上述两方面的因素,以便实现最佳效果。A
所述初沉和浮油区的底板可以向下凹,其断面结构呈角形,这种角形下凹结构可以采用平面钢板焊接而成,水中的颗粒固体等杂质初步沉淀出来后聚积在该下凹部分的底部,在下凹部分的底端设有初沉和浮油区排污管213,以便进行排污。The bottom plate of the primary sink and oil slick area can be concave downward, and its cross-sectional structure is angular. This angular concave structure can be welded by flat steel plates. Impurities such as particles and solids in the water are initially precipitated and accumulated in the concave At the bottom of the part, the bottom of the concave part is provided with a primary sinking and oil floating
所述初沉和浮油区上部可以设有刮油板212,所述刮油板的结构和驱动形式可以采用前面所述的带传动形式的刮板技术或其他适宜的刮板技术,所述刮板的端面形状可以呈钝角形,其上端和下端均向前倾,两条边与垂直线之间的锐角均可以是25-30度,所述箱体的前端壁(也就是所述初沉和浮油区的前端壁)上可以焊接有一个集油斜板,该斜板同箱体前端壁一同围成一个集油槽211,所述刮油板向前推进时,将浮在水面上的油污推入该集油槽,然后退至所述上导流板处,以便进行再一次刮油。所述刮油板的钝角形结构,有利于在前进时最大限度地将浮油刮入集油槽,在后退时最大限度地减少向后推动的浮油量,以便减少浮油在上导流板处的集聚。The upper part of the primary sinking and floating oil area can be provided with an
考虑到家用集水箱不应体积过大,在这个集水箱实施例中,所述沉淀区设置了用于加速沉淀的若干平行斜板222,所述斜板的后端向上,这样就形成了水在斜板之间向上的流动方式,而沉淀到斜板上的污泥向下流,最终聚积在沉淀区的底部。这种水流和污泥流方向相反的设置有利于在较小体积下水和污泥的分离,所述斜板的倾斜角度(指与水平面之间的锐角角度)可以是35-40度,各斜板之间的板间距可以是15±3厘米,这样即可以保证沉淀效果,又可以避免污泥在斜板上的沉积。Considering that the domestic water collection tank should not be too large in size, in this embodiment of the water collection tank, the settling area is provided with several parallel sloping plates 222 for accelerating sedimentation, and the rear ends of the sloping plates are upward, thus forming a water tank. The upward flow between the sloping plates, while the sludge settled on the sloping plates flows downward, and finally accumulates at the bottom of the settling area. The opposite setting of this water flow and sludge flow direction is conducive to the separation of water and sludge in a small volume. The inclination angle of the inclined plate (referring to the acute angle between the horizontal plane) can be 35-40 degrees, each inclined plate The plate spacing between the plates can be 15±3 cm, so that the sedimentation effect can be ensured, and the deposition of sludge on the inclined plates can be avoided.
考虑到集水箱的体积限制,所述各斜板的大小可以不尽相同,位于最前面的一个斜板前端可以与所述上导流板相连,位于最后面的一个斜板上端可以与将所述沉淀区和所述生物净化区之间隔开的隔板250相连,位于前面的其余若干斜板的下端可以位于同一个垂直面上,位于后面的其余若干斜板的上端可以位于同一个垂直面上,这样尽管部分斜板之间的流程比其他斜板之间的流程短,但实践中考虑综合效果是可行的。Considering the volume limitation of the water collection tank, the sizes of the sloping plates can be different. The front end of the sloping plate located at the front can be connected to the upper deflector, and the top of the sloping plate located at the rear can be connected to the upper deflector. The
所述沉淀区的底板上面可以设有刮泥板223,所述刮泥板可以采用前面所述的带传动形式的刮板技术或其他适宜的刮板技术,所述沉淀区底板在沉淀区的后部向下凹,形成集污槽224,所述刮泥板向后推进时,将沉淀在底板上的污泥刮到所述集污槽,所述集污槽的断面为弧形,这种集污槽可以采用冲压方式方便的制成,集污槽的最低端设有沉淀区排污管225,用于排放沉淀区的污泥。A
所述沉淀区和所述生物净化区之间由所述隔板250分界,所述隔板自箱体底面向上延伸,其高度可以是所述下导流板高度的85-95%,以便于水的流动,所述生物净化区内设有生物滤芯232,所述生物滤芯的下端放置在滤芯支撑233上,所述滤芯支撑可以采用两个分别焊接在所述隔板和所述箱体后端壁上的长条板,所述生物滤芯上部同所述隔板和所述箱体后端壁之间还可以进一步设有挡板234,以便将生物滤芯外部的间隙封闭,所述生物净化区的底板可以向下凹,其断面结构呈角形,这种角形下凹结构可以采用平面钢板焊接而成,颗粒固体等杂质初步沉淀出来后聚积在该下凹部分的底部,在该下凹部分的底端设有生物净化区排污管234,以便进行排污。The
所述初沉和浮油区、所述沉淀区和所述生物净化区的箱体顶板上均可以设有各自的盖,以便进行箱体内的清洗。The first settling and floating oil area, the settling area and the top plate of the biological purification area can be provided with respective covers for cleaning in the box.
所述集水箱的进水管260可以安装所述箱体前端壁上,其中心线距箱体底板之间的垂直距离可以是箱体高度的30%-35%,这样可以保证分离时间,并避免进水水流对底部沉淀的污泥的扰动,所述集水箱的出水管270可以安装在所述箱体后端壁上,其中心线距箱体底板之间的垂直距离可以是箱体高度的15%-20%,其里端的开口(水自箱体进入该出水管的进口)可以向上开,例如将所述出水管的里端向上弯90度,这样可以避免吸入沉淀在箱体底部的污泥。The
本发明是建立在不同用水设施的供水和排放水的不同质量要求或不同质量基础上,其中一次用水设施的供水质量要求高于二次用水设施的供水质量要求,并且其排放水的质量相对较高,经过集水箱处理(集水箱处理可以根据实际采用不同的方式,例如可以只是简单的集水,也可以包括沉淀和/或过滤,甚至包括生物处理等等)后可以用作二次用水设施的供水,这样就为本发明的实施提供了可能,而现实中家庭用水也确实存在这种情况。并且,进一步的分类也是可行,其中一个分类方式是将一次用水和二次用水的分类进行细化,另一种方式是将用水分为超过二次的多次,例如分为三次,即一次用水设施的排放水用于二次用水设施,二次用水设施的排放水用于三次用水设施等等,一次类推。The present invention is based on the different quality requirements or different quality requirements of the water supply and discharge water of different water use facilities, wherein the water supply quality requirements of the primary water use facilities are higher than the water supply quality requirements of the secondary water use facilities, and the quality of the discharge water is relatively low. It can be used as a secondary water facility after being treated by the water collection tank (the water collection tank can be treated in different ways according to the actual situation, such as simple water collection, sedimentation and/or filtration, or even biological treatment, etc.) Water supply, so just provides possibility for the implementation of the present invention, and this situation also really exists in domestic water use in reality. Moreover, further classification is also feasible. One of the classification methods is to refine the classification of primary water use and secondary water use. The discharge water from the facilities is used for the secondary water facilities, the discharge water from the secondary water facilities is used for the tertiary water facilities, etc., and so on.
本发明提供的进一步改进的方案适应于将一次用水和二次用水分类上的细化(对应于设置两个水源分别为一类一次用水设施和二类一次用水设施的集水箱的技术方案)。即根据一次用水的性质,将其分为两类,其中一类一次用水的排放水中含有的杂质可以经过集水箱处理(例如过滤和沉淀等)后基本去除,处理后水的污染性比较低,可用于养花、粗洗物品、清洁等场合(这类用水为一类二次用水),二类一次用水的排放水经过上述过滤和沉淀后的污染性相对较高,不宜用于养花和清洁等,但可以用于冲马桶、洗墩布等(这类用水为二类二次用水)。实践中,可以根据一次用水设施排放水的一般状况依据适宜标准对一次用水设施进行分类,根据二次用水设施的需求状况对二次用水设施进行分类,其中一类一次用水设施的排放水经过集水箱处理后的质量优于二类一次用水设施经集水箱处理后的排放水质量,一类二次用水设施所需供水的质量要求高于二类二次用水设施的要求,故一类一次用水设施的排放水经过集水箱处理后可以用于一类二次用水设施和二类二次用水设施,二类一次用水设施的排放水经集水箱处理后一般只可以用于二类二次用水设施。为避免本发明设备过于复杂,通常可以简单将厨房内的洗涤池等列为一类一次用水设施,设置在卫生间的洗衣机等列为二类一次用水设施,卫生间的洗脸池和洗澡设施根据排水质量可以列为一类一次用水设施,但为减少输水管线的设置,也可以视为二类一次用水设施,而二类用水设施通常为马桶水箱和冲洗墩布的水池。在管线设置上,可以设置多个水龙头,用作一类二次用水设施和二类二次用水设施,提供相应的水。The further improved scheme provided by the present invention is suitable for refining the classification of primary water and secondary water (corresponding to the technical scheme of setting up two water sources respectively as a first-class primary water facility and a second-class primary water collection tank). That is, according to the nature of the primary water, it can be divided into two categories. The impurities contained in the discharged water of one type of primary water can be basically removed after treatment in the water collection tank (such as filtration and sedimentation, etc.), and the pollution of the treated water is relatively low. It can be used for growing flowers, roughly washing items, cleaning and other occasions (this type of water is Class I secondary water), and the discharge water of Class II primary water after the above filtration and precipitation is relatively high in pollution, so it is not suitable for growing flowers and Cleaning, etc., but can be used for flushing toilets, washing mops, etc. (this type of water is second-class secondary water). In practice, the primary water facilities can be classified according to the general situation of the discharge water of the primary water facilities according to the appropriate standard, and the secondary water facilities can be classified according to the demand status of the secondary water facilities. The quality of the water tank after treatment is better than that of the second-class primary water facilities after being treated by the water collection tank. The discharge water from the facilities can be used for Class I secondary water facilities and Class II secondary water facilities after being treated by the water collection tank, and the discharge water from the Class II primary water facilities can only be used for Class II secondary water facilities after being treated by the water collection tank. . In order to avoid the equipment of the present invention being too complicated, usually the washing pool in the kitchen can be simply listed as a first-class primary water facility, and the washing machine etc. installed in the bathroom are listed as a second-class primary water facility. It can be classified as a first-class primary water facility, but in order to reduce the setting of water pipelines, it can also be regarded as a second-class primary water facility, and the second-class water facility is usually a toilet tank and a pool for flushing mops. In terms of pipeline settings, multiple faucets can be set up to be used as Class I secondary water facilities and Class II secondary water facilities to provide corresponding water.
如果根据需要可以将用水设施分成三次或更多次,只要把本发明的结构简单地重复多次,就可以实现水的多次利用。If water facilities can be divided into three or more times as required, as long as the structure of the present invention is simply repeated many times, multiple utilization of water can be realized.
本说明书中叙述尺寸时,将构成箱体等的板材厚度忽略不记,当箱体等结构的材料厚度不能忽略不记时,应在相应的尺寸中抛除材料厚度。When describing the dimensions in this manual, the thickness of the plates constituting the box, etc. is ignored. When the material thickness of the box and other structures cannot be ignored, the material thickness should be discarded in the corresponding dimensions.
Claims (10)
Priority Applications (1)
| Application Number | Priority Date | Filing Date | Title |
|---|---|---|---|
| CNB2005101167224A CN100392196C (en) | 2005-09-09 | 2005-10-28 | Home Water Saving System |
Applications Claiming Priority (3)
| Application Number | Priority Date | Filing Date | Title |
|---|---|---|---|
| CN200510098342 | 2005-09-09 | ||
| CN200510098342.2 | 2005-09-09 | ||
| CNB2005101167224A CN100392196C (en) | 2005-09-09 | 2005-10-28 | Home Water Saving System |
Publications (2)
| Publication Number | Publication Date |
|---|---|
| CN1786359A CN1786359A (en) | 2006-06-14 |
| CN100392196C true CN100392196C (en) | 2008-06-04 |
Family
ID=36783959
Family Applications (1)
| Application Number | Title | Priority Date | Filing Date |
|---|---|---|---|
| CNB2005101167224A Expired - Fee Related CN100392196C (en) | 2005-09-09 | 2005-10-28 | Home Water Saving System |
Country Status (1)
| Country | Link |
|---|---|
| CN (1) | CN100392196C (en) |
Families Citing this family (3)
| Publication number | Priority date | Publication date | Assignee | Title |
|---|---|---|---|---|
| CN107335281A (en) * | 2017-09-07 | 2017-11-10 | 阿夸森科技(北京)有限公司 | Sewage disposal heat exchanger and sewage disposal system |
| CN111546813A (en) * | 2020-05-25 | 2020-08-18 | 西京学院 | Multifunctional hand wetting device for accountants |
| CN115215482A (en) * | 2022-07-27 | 2022-10-21 | 伊吾疆纳新材料有限公司 | Novel coking wastewater oil removing process |
Citations (5)
| Publication number | Priority date | Publication date | Assignee | Title |
|---|---|---|---|---|
| CN2152007Y (en) * | 1992-09-23 | 1994-01-05 | 任延军 | Waste water secondary using device |
| CN2286177Y (en) * | 1997-04-04 | 1998-07-15 | 刘荣光 | Domestic water-saving device |
| CN2423324Y (en) * | 2000-05-19 | 2001-03-14 | 孙树棠 | Secondary utilization device for water |
| CN2503058Y (en) * | 2001-07-19 | 2002-07-31 | 大连经济技术开发区富胜科工贸有限公司 | Secondary used device for domestic sewage |
| JP2005231339A (en) * | 2004-02-22 | 2005-09-02 | Makoto Yamada | Kneading water supply device and ready-mixed concrete manufacturing plant |
-
2005
- 2005-10-28 CN CNB2005101167224A patent/CN100392196C/en not_active Expired - Fee Related
Patent Citations (5)
| Publication number | Priority date | Publication date | Assignee | Title |
|---|---|---|---|---|
| CN2152007Y (en) * | 1992-09-23 | 1994-01-05 | 任延军 | Waste water secondary using device |
| CN2286177Y (en) * | 1997-04-04 | 1998-07-15 | 刘荣光 | Domestic water-saving device |
| CN2423324Y (en) * | 2000-05-19 | 2001-03-14 | 孙树棠 | Secondary utilization device for water |
| CN2503058Y (en) * | 2001-07-19 | 2002-07-31 | 大连经济技术开发区富胜科工贸有限公司 | Secondary used device for domestic sewage |
| JP2005231339A (en) * | 2004-02-22 | 2005-09-02 | Makoto Yamada | Kneading water supply device and ready-mixed concrete manufacturing plant |
Also Published As
| Publication number | Publication date |
|---|---|
| CN1786359A (en) | 2006-06-14 |
Similar Documents
| Publication | Publication Date | Title |
|---|---|---|
| CN101879383B (en) | Turn-back flow high-efficiency rectangular double-layer settling pond | |
| CN106673243B (en) | Grease trapping device | |
| CN201447399U (en) | Gravitation type siphon valveless integration water purifying apparatus | |
| CN2337138Y (en) | Domestic living sewage treatment apparatus | |
| CN201325891Y (en) | Device for separating floater, suspended substance and precipitate from sewage | |
| AU2001258968B2 (en) | Separation apparatus with conveyor and separating hopper | |
| CN201108760Y (en) | Highly effective tipping plate precipitating tank | |
| CN200946298Y (en) | Equipment for repeatedly utilizing water | |
| CN100392196C (en) | Home Water Saving System | |
| CN212293192U (en) | High-efficient residential building regeneration water circulating system | |
| CN105502853A (en) | Membrane rainwater treatment device | |
| CN211896480U (en) | Dry-wet separating device with oil-water separating mechanism for kitchen waste | |
| CN209853876U (en) | Integrated grease separation water purifier | |
| CN111285551A (en) | Efficient residential building regenerated water circulation system and application thereof | |
| KR20040106906A (en) | A water cleaning device for multi-house | |
| CN206090805U (en) | No deposit formula sewage lifting pump station | |
| CN205204993U (en) | An integrated catering wastewater treatment system | |
| CN109761392B (en) | Siphon type sewage treatment device | |
| CN207468333U (en) | A kind of sewage from catering business processing equipment | |
| CN2644409Y (en) | Water supply treatment facilities | |
| CN201842675U (en) | kitchen grease trap | |
| CN1250826C (en) | Water tank for dassified draining living waste water | |
| CN219815376U (en) | Inclined plate sand setting device for overflow sewage pretreatment | |
| CN222930369U (en) | Sedimentation tank with mud backward flow function | |
| CN2719936Y (en) | Building nousehold domestic waste water reuse water-collecting tank |
Legal Events
| Date | Code | Title | Description |
|---|---|---|---|
| C06 | Publication | ||
| PB01 | Publication | ||
| C10 | Entry into substantive examination | ||
| SE01 | Entry into force of request for substantive examination | ||
| C14 | Grant of patent or utility model | ||
| GR01 | Patent grant | ||
| CF01 | Termination of patent right due to non-payment of annual fee | ||
| CF01 | Termination of patent right due to non-payment of annual fee |
Granted publication date: 20080604 Termination date: 20181028 |
